OTTO 15LY28-BE Kids Wireless Headphones
Functions
Pack Contents
- Bluetooth kids Headphones
- Instruction manual
- USB charging cable
- Audio cable 5. Quick start guide
Note: When an audio cable is plugged in, the Bluetooth wireless function will disconnect.
Power On/Power Off
Bluetooth Pairing

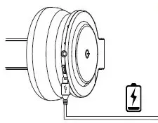
Charging

Before using the headphone for the first time, charge it for at least two hours
- Low battery alert
- When battery voltage less than 3.3V, the headphone will be warning and have tone speak out from speaker.
- Charging
- red light on
- Full charge
- light off
Product Specifications
- Bluetooth version: V5.0
- Charging voltage: Micro USB 5V
- Bluetooth working range: 10 metres
- Working time: About 12 hours
- Charging time:3 hours
- Standby time: Up to 70 hours
Trouble Shooting
- Do not expose the device to water or attempt to disassemble the device
- Headphones will not turn on
- Ensure headphones are fully charged before turning it on.
- My mobile device is unable to find the Bluetooth headphones
- Check that the headphones is in pairing mode (blue/red indicator lights flashing). Remove“15LY28” from Bluetooth settings list and setup again.
- If still no search result, please restart the headset and phone, and try again.
- After successfully pairing, headphones disconnect
- Check the battery level and recharge if low.
- Ensure headphones are within 10m of mobile device and free of destructions.
- The connection may be affected by obstructions such as walls or other electronic devices. Try moving closer to the device you are connected to.
- When answering a call, I cannot hear anything
- Ensure the mobile device is connected to headphones and not on speakerphone mode. Increase the volume on your mobile device.
- There is no sound when listening to music
- Increase the volume on your mobile device.
- Reconnect the headphones to your mobile device.
- Check if the app has paused or stopped playback.
- Headphones will not charge
- Check whether the charging cable is functional.
- Ensure the micro-USB charging cable is fully seated in the headphones and wall charger ports. Ensure the charging cable and wall charger are functional.
Officework address: Officeworks Ltd. 1 South Drive, 236-262 East Boundary Road, East Bentleigh, VIC 3165
Product Warranty – valid for Australian customers only
Officeworks Ltd warrants that this product will be free from defects and work as intended for three years from the date of purchase by the original customer.
If the product has any defects or does not work as specified during the Warranty Period, Officeworks will, at its election and at its expense, repair or replace the product.
This warranty does not apply:
- to cosmetic damage;
- to damage caused by consumables used in connection with the product (such as batteries); where the product has not been used in accordance with all provided instructions;
- to damage arising from fair wear and tear;
- where the product has not been subject to reasonable use;
- where the product has been intentionally or negligently damaged;
- if the customer has attempted to repair the product.
To make a claim under this warranty, please return your product with your receipt or proof of purchase to your nearest Officeworks store or contact 1300 633 423.
This warranty is provided in addition to any rights you may be entitled to under the Competition & Consumer Act 2010. Our goods come with guarantees that cannot be excluded under the Australian Consumer Law. You are entitled to a replacement or refund for a major failure and compensation for any other reasonably foreseeable loss or damage. You are also entitled to have the goods repaired or replaced if the goods fail to be of acceptable quality and the failure does not amount to a major failure.
WARNING! DO NOT CONNECT THIS CABLE TO PRODUCTS OTHER THAN 15LY28 ACTIVE NOISE CANCELLING WIRELESS HEADPHONES. CONNECTING. THIS CABLE TO OTHER DEVICES MIGHT CAUSE DAMAGE TO BOTH CABLE AND THE DEVICE
OTTO 15LY28-BE Kids Wireless Headphones
























