accesstyle FLINT BT Portable Speaker

Thank you for purchasing the FLINT BT Speaker. Please read the instructions carefully before use.
Specifications

Package content
- Speaker-1 pc.
- Charging Cable-1pc.
- Instructions – 1 pc.
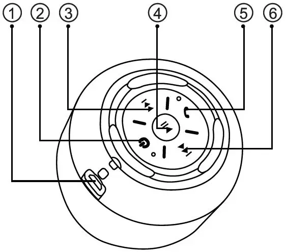
Speaker’s appearance and features

- Micro interface charging port
- Power: Long press to power on/off.
- Volume+ /Next Song: Long press for Volume+, short press for the Next song
- Play/ Pause: Long press for Play/Pause,
- Phone call: Press to answer /hang up call, double press to redial last phone no, and long press for reject call.
- Volume-/ Previous Song: Long press for Volume-, short press for the Previous song
Product Feature
- Built-in rechargeable battery
- Built-in Hi-Fi speaker
- Support answer phone call
Operation instructions
Before the first use, please make sure the speaker is fully charged.
Charing the speaker
- Please use DC 5V/500mA charging power supply or a USB port of your computer
- Please connect one end of the USB cable to the charging port of the speaker. The other end should be
- Connected to a power adapter. Then plug the power adapter into a power outlet.
- Use only a Working charger with sufficient power.
- The light is solid on when charging, the light will be off once fully charged.
Note: a power adapter is not supplied with the speaker and should be purchased separately.
Bluetooth connect
- Before start, pls turn off other Bluetooth devices nearby and make sure the speaker and your Bluetooth device are close enough.
- Long press 2 to power on, and open your Bluetooth device, find ” FLINT BT” in the list of detected bluetooth devices and click it to Connect.
- Please refer to basic functions’ key definitions to play music,control volume, and answer phone calls.
Safety notices
Please kindly observe rules and regulations for using Bluetooth devices in airplanes, medical facilities, gas stations, chemical plants and other areas where the use of the wireless connection is restricted due to the thread of interference with sensitive equipment or due to the presence of flammable materials.
The wireless device may interfere with other communication devices including regular phones, television- and radio receivers, and office equipment.
Listening at a high volume fora long time may damage your hearing.
The device is powered by a battery. Improper use of the battery may cause a risk of fire, explosion or other hazards.
Please kindly use the battery in a proper way.
Do not disassemble, open, bend, puncture, affect the battery mechanically or immerse in liquids. The battery may explode when damaged. In the event of a battery leak, flush the affected area With clean water and seek medical help immediately. In case the battery smells, take it to a safe place away from open flames.
Use of a damaged battery may cause severe injuries.
Do not Swallow!
Keep away from children!
Do not leave a fully charged battery connected to a charger as overcharging may shorten its lifetime. The battery runs down if not used.
Do not disassemble the device, avoid a short circuit. Keep the metal contacts of the battery clean.
Do not leave or keep your device in vehicles in hot weather under direct sunlight. This may cause the battery to overheat and reduce its life. The device may shut down or
the capacity may not be fully consumed when used outside operating temperature requirements (below -10°C and above +45 C).
The battery contains toxic substances such as mercury, cadmium, and lead. The used battery should be properly disposed of. Dispose of the battery separately from household waste to avoid leaching heavy metals into soil, ground, and surface water.
Do not burn the battery to avoid the emission of heavy metals into the atmosphere and the accumulation thereof in smoke and ashes. For the purpose of natural resource protection please kindly separate the battery from other wastes and submit it for recycling.
The product is to be transported in the manufacturer’s packing by all means of transport at any distance.
Access style warranty terms and conditionss
- The warranty terms and conditions set forth below comply with the Russian Federation’s applicable legislation on consumer goods trading.
- The warranty period of this Product is 1 (one) year starting from the time of the original purchase.
- The product’s lifetime is 2 (two) years and shall commence at the date of purchase, or, failing that, the production date;
- This warranty shall not apply to:
- Cables, adapters, a variety of media (discs, memory cards with software), cases, extension cables, clips, a variety of holders, packages, and documents.
- Normal wear and tear or the product’s outer surface damage.
- Defects are caused by moisture, dampness, extreme temperature, microwave energy, pressure, hit, the influence of animals and insects, liquids, food, dust, and chemicals entering the product.
- Product, repaired or modified by persons, except those names in paragraph 5.
- Product, misused or used in violation of the user manual.
- Defects caused by the use of incompatible equipment or accessories.
- Warranty service shall be performed by dully authorized bodies: authorized service centers listed on the Support webpage: http://www.accesstyle.ru and available
at 8-800-250-07-17. During the warranty period, any production defects shall be repaired free of charge upon presenting the filled valid warranty certificate and/ or documents indicating the proof of purchase and the date of purchase (cash receipt). The documents shall contain the model name of the product, date of purchase, and trade organization details. An authorized body shall be entitled to refuse warranty service in case of the absence of the required documents. - Warranty period shall be extended to the service period. Replacing of parts, components or the whole package shall not result in a new warranty period for the product or for the replaced parts.
- Under no circumstances shall the Producer, Importer, and organizations authorized by the Importer be liable for any direct, indirect, incidental, special, or consequential damage or including but not limited to, any loss of profit, loss/ loss of use of information, or data; information or data restoration costs, loss arising out of the use or inability to use Accesstyle products resulted in interruption of a commercial, production or other activity.
Product name:
Serial number:
Date of purchase:
Signature of the salesperson:
Trade organization name and address:
The quality of product has been checked in my presence, I have no claims. I have obtained the full and complete product. I hereby declare that I have read and agree with the warranty terms and conditions.
Customer signature.




















