Landskap SKVALA 35 LITER

Product Information
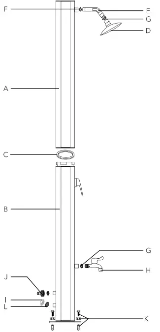
SKVALA Outdoor Shower
The SKVALA Outdoor Shower is a water-efficient, solar-powered shower designed for outdoor use. It comes with a base plate, bottom tube, top and bottom parts, extension tubes, shower heads, and hoses.
Specifications
- Compliance: EN817:2008, EN1112:2008
- Components: Base plate, bottom tube, top and bottom parts, extension tubes, shower heads, hoses
- Water source: Garden hose
- Power source: Solar energy
Assembly
- Mount expander bolts K in the holes on the base plate/bottom tube.
- Place the expander bolt in the hole and tap with a hammer to expand it slightly.
- Place the base plate/bottom tube B on top of the holes and secure them to the surface with the bolts and washers K supplied. The bottom plate will feel loose before it is fully tightened.
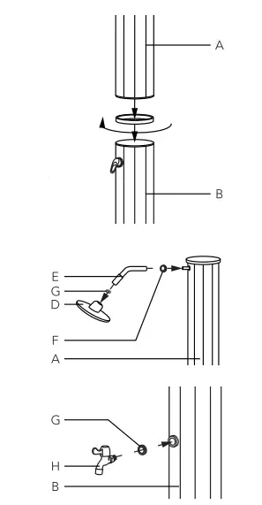
- Connect the top A and bottom B parts, and tighten the coupling clockwise by hand. Connect the hoses. The handle and shower head must be in the same direction.
- Attach the shower head D with the gasket G to the extension tube E, then attach the extension tube with gasket F to the thread on the upper part of the outdoor shower A by hand. The same action for shower head H is attached to bottom part B.
- Attach the hose connection J with gasket I to the bottom part B, and put the drain plug L into the drain outlet.
Usage Instructions
- Open the shower handle and turn it to the hot position. This ensures that no air pockets get stuck in the hoses when they are filled with water.
- Attach your garden hose to the hose connection J. Turn on the water to fill the outdoor shower. It will take a few minutes to fill the outdoor shower.
- When the water flows out of the shower head D, close the shower handle. Now the sun begins to heat the water in the outdoor shower.
- Depending on available sunlight and outdoor temperature, it takes about two to three hours for the sun to heat the water in the outdoor shower.
SAFETY INSTRUCTION
- Before installation, choose a sunny and wind-protected place.
- Do not use the sun shower when there is a strong wind
TOOLS
- Spirit-level
- Measure tape
- Dril
- Wall drill bit
- Spanner
- Screw Driver
- Pen
WHAT’S IN THE BOX
INSTALLATION INSTRUCTION
- Mark the placement of the mounting holes, and drill holes.
- Mount expander bolts in the holes. Place the expander bolt in the hole and TAP with a hammer to expand it slightly. Place the base plate/bottom tube on top of the holes and secure them to the surface with the bolts and washers supplied. The bottom plate will feel loose before it is fully tightened.

- Connect the top and bottom parts, tighten the coupling clockwise by hand.
- Connect the hoses. Handle and shower head must be in the same direction.

- Make sure that the top and bottom shower heads are facing downward, if not, turn them until it faces downward.
- Attach the hose connection with the gasket to the bottom part, and put the drain plug into the drain outlet.

FIRST USE OF THE OUTDOOR SHOWER
- Open the shower handle and turn it to the “hot” position. This ensures that no air pockets get stuck in the hoses when they are filled with water.

- Attach your garden hose to the hose connection. Turn on the water to fill the outdoor shower. It will take a few minutes to fill the outdoor shower

- When the water flows out of the shower head, close the shower handle. Now the sun begins to heat the water in the outdoor shower.

- Depending on available sunlight and outdoor temperature, it takes about two to three hours for the sun to heat the water in the outdoor shower.

- The water temperature in the outdoor shower can reach up to 60 ° C through strong sunshine

- Before using the shower, turn the shower handle to “cold” to avoid scalding. Then adjust to the desired temperature
WINTER STORAGE
- Switch off and disconnect the garden hose.
- Unscrew the cover and allow the water to drain out.
- NOTE if the back of your outdoor shower faces a facade,
- Open the shower handle and turn it to the “hot” position so that the water can drain out of the hoses and the outdoor shower (this takes about 8-10 minutes). Do not touch or turn the shower handle during emptying, otherwise, the water will stop flowing out.
- When the outdoor shower is empty, replace the cover.
- Pour the remaining water out of the lower part of the outdoor shower
- Clean with a little detergent and water and then dry all outdoor shower parts.
- Store all outdoor shower parts indoors and in a dry and heated place during the winter season to prevent frost damage.
- To avoid a plastic odor, let the water drain completely
- Max water pressure should be 3.5 bar, do not use an external pump.
- After using the shower, wipe it with a soft cloth and gloves
- Never use salt or antifreeze in any capacity
- Heating causes water to expand, don’t leave it in the shower head.
- Copyright ©2021 Bygghemma Sverige AB. Original content rights reserved. All product names, logos, and brands are the property of their respective owners.
- Information contained within this document was considered accurate at the time of publication but may be subject to revision.































