CREATE WIPEBOT LS Window Cleaning Smart Robot User Manual
Thank you for choosing our windows cleaner. Before using the appliance, and to ensure the best use, carefully read these instructions. The safety precautions enclosed herein reduce the risk of death, injury and electrical shock when correctly adhered to. Keep the manual in a safe place for future reference, along with the completed warranty card, purchase receipt and package. If applicable, pass these instructions on to the next owner of the appliance. Always follow basic safe-ty precautions and accident prevention measures when using an electrical appliance. We assume no liability for customer failing to comply with these requirements.
IMPORTANT SAFEGUARDS
When using any electrical appliance, basic safety precautions should always be ob-served.
- Be sure to check whether the safety rope is damaged.
- Use the safety rope to fix the machine while in use. Warning shall be set on the ground for aerial work.
- Do not use it on cracked and damaged glass.
- When cleaning the outer surface of the machine, it must be shut down to avoid danger during the movement of the machine.
- Do not let your fingers or any body parts close to the rotation and opening of this product.
- Please use this product according to the instructions. Please contact customer ser-vice when the fault cannot be eliminated. Do not repair it without permission to avoid danger.
- It is used for cleaning the household environment within 0 °C and 40 °C.
- Do not use a third-party charger or disassemble and refit the main engine, battery and charger without permission.
- If the charger is damaged or broken, please do not continue to use it. Please contact customer service.
- Put the charger away from heat sources.
- If the product needs to be transported, it is recommended to use the original package for transportation and shut down the machine.
- If you are not going to use this product for a long time, please fully charge and turn off the machine and place it in a cool and dry place. Charge it at least once every 3 months to avoid battery failure caused by overdischarge of the battery.
- Check whether the safety rope is damaged. if there is no damage, please fix the safety rope and check whether it is attached to a solid object that will not move or deform. Check whether the pane is damaged or cracked. Do not use it in rainy days or when the pane is wet and foggy.
- Please use it with window frames that are at least 6 mm wide. Confirm that the size of the window is greater than 40 x 60 cm (height), and check for any abnormality of the environment such as ultra-narrow frames, bevelled frames, bevelled panes, no frame or uneven, convex or with leakage, where it is not recommended to operate, or need to be used under watch by someone to prevent it from dropping (not common).
- Please use it on the vertical pane, and use it carefully on the inclined pane and should be watched by someone. If necessary, use the remote control to control it.
- The machine might be stationary at some edges to test the resistance and move again after a few seconds, which is normal.
- In case of accidental power failure, the internal battery will maintain the machine suc-tion for at least 20 minutes and it will sound an alarm. Please remove it or restore the power supply as soon as possible.
- If external operation at height is required, safety warning signs must be set on the ground beneath to prevent accidental personal injury.
PARTS LIST

TOP VIEW
Start / Pause button:
- Press briefly to start, pause or resume dry wiping.
- Long press to decrease the suc-tion and remove the machine.
- Long press in standby status to start the track auto-rotation and wipe the dirt off the track sur-face.
Status indicator (top and bottom):
- Blue Light – works normally.
- Red light – check the list of LED lights for meaning.

BOTTOM VIEW
- Water filling inlet / plug
- Start / Pause button
- Status indicator (top)
- Power cord and safety rope
- Water spout
- Status indicator (bottom)
- USB port for update
- Power switch
- Anti-drop sensor
WHAT,S IN THE BOX
Widow Cleaning robot
Cleaning cloth
Remote control
Sprayer
Adapter
Safety rope
User manual
INSTALLATION INSTRUCTIONS
- Attach firmly the buckle of the secure rope to a solid object When using, it is recom-mended to fix the locking ring on a solid object that can not be dragged, with an appro-priate length to allow the machine to work.
- Lock the knob of the extension cord with the cable of the adapter properly. Connect the plug to the adapter, and then connect the socket to the power supply.

- Fit the white surface of the cloth with the machine and keep it flat to avoid air leakage. Please use the original cloth, otherwise the machine performance will be affected.
- Unplug the water tank cover, fill it with water and replace the cover.
- The liquid filled into the water tank must be non-corrosive and clean. The electrical conductivity of the liquid is needed for judging whether the liquid in the water tank is already used up.
- Turn on the bottom switch; attach the machine to the window pane, then short press the Start button and the machine starts to dry wipe. When placing the machine, avoid placing it too close to the window frame. After wiping is finished, hold the safety rope with one hand and long press the start button with the other hand. When the suction power decreases, take down the machine and turn off the bottom switch.

INSTRUCTIONS AND PRECAUTIONS
MACHINE AND WORKING ENVIRONMENT INSPECTION
- Check whether the safety rope is damaged. If there is no damage, please fix the safety rope and check whether it is attached to a solid object that will not move or deform. Check whether the pane is damaged or cracked. Do not use it in rainy days or when the pane is wet and foggy.
- Please use it with window frames that are at least 6 mm wide. Confirm that the size of the window is greater than 40 x 60 cm (height), and check for any abnormality of the environment such as ultra-narrow frames, bevelled frames, bevelled panes, no frame or uneven, convex, leakage and gap of pane glue, where it is not recommended to operate, or need to be used under watch by someone to prevent it from dropping (not common).
- Please use it on vertical window panes, and use it carefully on inclined panes and it should be watched by someone. if necessary, use the remote control to control it.
- The machine might be stationary at some edges to test the resistance and move again after a few seconds, which is normal.
- In case of accidental power failure, the internal battery will maintain the machine suc-tion for at least 20 minutes and it sounds an alarm. Please remove it or restore the power supply as soon as possible.
- If external operation at height is required, safety warning signs must be set on the ground beneath to prevent accidental personal injury.
HOW TO ACHIEVE A BETTER CLEANING EXPERIENCE
- Use a cleaning cloth.
- If the window pane is dirty, it is recommended to dry wipe by pressing the round but-ton for the first time, or press. on the remote control for dry wiping automatically. The purpose is to wipe the hard and fine dust off the window pane surface. After wiping, please replace with a new cloth or shake the particles off the surface before use to avoid the window pane from being scratched by hard particles (not common).
- After wiping dirty window panes, use the track cleaning function. Hold the machine in your hand and long press the Start / Pause button. The track will rotate slowly. Wipe the dirt off the track with a wet paper towel to avoid leaving track marks when wiping later.
- Replace the cloth for a second round with a wet wipe, which can be done automatical-ly by using. the wet wiping button
on the remote control, or press the water spray button
on the remote control to separately turn on the water spray for wet wiping after theX dry wiping is started. The robot voice will say “wet wipe mode” or “water spray on” indicating that the wet wipe function has been turned on. - Pay attention and avoid the cloth being too wet. Please use the original cloth, other-wise the machine performance will be affected.
HOW TO USE THE CLOTH IMMEDIATELY AFTER CLEANING
- If the cloth is too wet, it will skid seriously. Please use it with care.
- It is not recommended to use a fully wet cloth for cleaning, which will cause the ma-chine to skid and increase the probability of falling. Please ensure that no accidental injury will be caused. Be sure to follow the steps below while using it:
- Soak the cloth in clean water and brush off the dirt on its surface and squeeze off the excess water. In the process of removing water, be careful to avoid deformation of the cloth under stress, and use a drying blower until it is as dry as possible.
- The cloth shall be flatly fit on the base without any gap, deformation and warping.
- Use dry tissue paper to absorb the water in front or behind the walking wheel to ensure that the cleaning cloth in these areas around the two walking wheels is dry.
- Do not turn on the water spray when using dry wiping function, and do not use it on any frameless window pane.
- In case the machine starts to slide downward or gets stuck at the edge due to exces-sive moisture. Please observe whether the machine gradually returns to normal. if not, please repeat the steps of using tissue paper to absorb the water from the cloth to help the machine resume normal operation.
START UP
- Make sure the power cord and the plug are connected.
- Turn on the power switch at the bottom, make sure that the suction fan rotates and place the machine far enough away from the window frame.
- Make sure the machine is attached to the window pane before releasing it.
- Press the start button and the machine will start to move.
REMOVE THE MACHINE
- When it is still running, hold the safety rope with one hand and the machine with the other. Long press the button on the cover to reduce the suction and remove the machine.
- If you can’t reach the machine with your hand and there is no remote control, please pull the safety rope in a direction flat against the surface, and slowly pull the machine back to the position that can be reached by hand, and then remove the machine.
- Turn off the bottom power switch after the machine is removed.
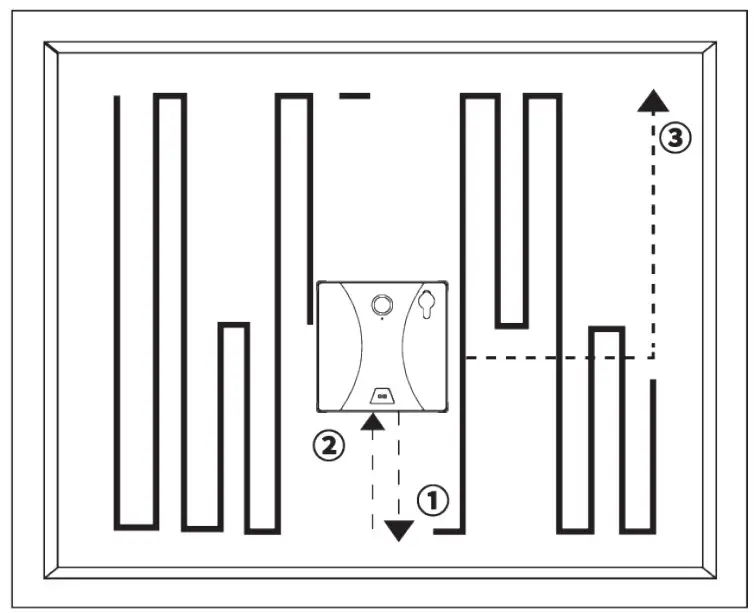
PATH PLANNING INSTRUCTIONS

- Cleaning path once:
Put the machine in the middle of the window pane to start. After exploring the pane boundary from the current position down and left, the machine will move to the upper right corner and start wiping following an N-shaped path from top to bottom. At each turn, it advances first, then goes backwards by following the principle of avoiding skipping by secondary overlapping. When cleaning is completed, it will return to the original point automatically. - Cleaning path twice:
After the N-pattern wiping from top to bottom, the secondary Z-shaped wiping from left to right will then automatically start before returning to the original point after cleaning. - ATTENTION:
If the machine encounters an irregular frame, data error will be caused during the edge detection, which will lead to a small error when returning to the original position, but it will not affect the normal use.
REMOTE CONTROL INSTRUCTIONS

- Move up / down / left / right to the pane edge and then stop
- Pause / Continue
- Dry wipe at single button press
- Wet wipe at single button press
- Voice on / off
- Water spray status switch on /off
- Double dry wipe (N-shaped + Z-shaped paths)
In order to avoid misoperation by children, it is necessary to press Pause between each two commands.
LED LIGHTS / SOUNDS MEANING
Status indicator:
Blue – Normal running
Red – Constant: Power not properly connected Air leakage
Red – Blinking: Refer to the table below
| LED | VOICE | SOLUTION |
| Constantly red | Please connect the adapter. | Check the plug, ensure normality of adapter ports. Start after 20 min charging. |
| Air pressure too low. | Check if the cloth side is reverse or not flat, if there is any protrusion on the pane or any air leak due to cursive pane. | |
| Constantly red | N/A | If running normal, it has been automatically ad-justed. If repeated, replace or change the cloth. |
| Red / Blue lit alternatively | The wheels are stuck; The wheel is abnormal; Please check the wheel | Check whether the wheel is tuck by something. |
| Too little Makin on the glass | Clean the water or oil stains on the wheel Clean the water or oil stains on the pane or the contact area check if there are any foreign matters such as slickers on the pane. | |
| Too much friction on the glass | Clean the contamination on the wheel Check if It is too moist due to rainy day, causing too big resistance. | |
| The gyroscope Is abnormal; The Barometer is abnormal; The fan motor Is abnormal; The wireless module is abnormal; Detection module Is abnormal; Please restart the device | Unplug the adaptar and restart the machine to see if it restarts back to normal_ Contact the customer service. | |
| Running against the edge without further move | Check the resistance parameter. If free of abnormality, wait patiently. |
TROUBLESHOOTING
- The machine is skidding when working, please check if the cloth is too wet and clean the track surface.
- When the machine is standing at the edge, it is deteching the normality of the resist-ance. Please wait patiently.
- The status indicator is blinking red with sound prompt. Please check:
- Whether the power cord plug is loose or damaged, leading to power failure or poor contact.
- Whether the pane or cloth is too wet and causes low friction.
- Excessive friction of the cleaning cloth caused by sticky matters on the pane.
- Whether the cleaning cloth is installed in place without air leakage.
- Whezther the machine surface is uneven, causing air leakage.
- Whether the suction inlet is blocked.
- The red and blue status indicators are blinking alternately with vocal alert, which means that the machine needs manual assistance. Please check the list of “LED indi-cators and voice meanings” solution.
- Please replace the clean cloth if the machine is not running smoothly.
- If the machine has completed the whole pane cleaning but does not stop its move-ment automatically. Please take down the machine directly.
In compliance with Directives: 2012/19/EU and 2015/863/EU on the restriction of the use of dangerous substances in electric and electronic equipment as well as their waste disposal. The symbol with the crossed dustbin shown on the package indicates that the product at the end of its service life shall be collected as separate waste. Therefore, any products that have reached the end of their useful life must be given to waste disposal centres specialising in separate collection of waste electrical and electronic equipment, or given back to the retailer at the time of purchasing new similar equipment, on a one for one basis. The adequate separate collection for the subsequent start-up of the equipment sent to be recycled, treated and disposed of in an environmentally compatible way contributes to preventing possible negative effects on the environment and health and optimises the recycling and reuse of com-ponents making up the apparatus. Abusive disposal of the product by the user involves application of the administrative sanctions according to the Laws.

Made in P.R.C.





















