
MOLIERE Kitchen Extractor Hood
Installation Guide

MANUEL D’UTILISATION
ROBLIN HOTTE
MOLIERE 800 VERRE
NOIR
MOLIERE Kitchen Extractor Hood
MANUEL D‘INSTALLATION
MOLIERE
![]()
























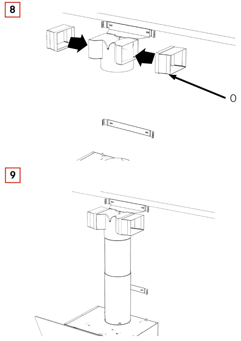
Installation
▶ Make sure that the installation is carried out only by specifically trained and qualified personnel.
▶ During installation observe the applicable regulations concerning exhaust air.
▶ Mount the device only with suitable fixing material.
▶ Make sure that damaged cables are changed by the manufacturer or the customer service.
Mounting location
▶ Make sure that the kitchen has an opening to the outside to ensure a sufficient air exchange.
If the hood is used along with devices that do not require electricity:
▶ Make sure that the negative pressure in the room does not exceed 0.04 mbar to ensure that the exhaust gases will not be drawn in again.
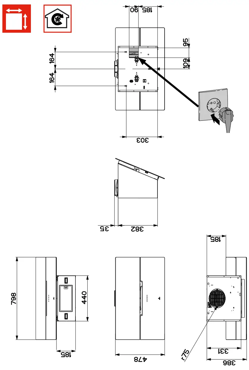
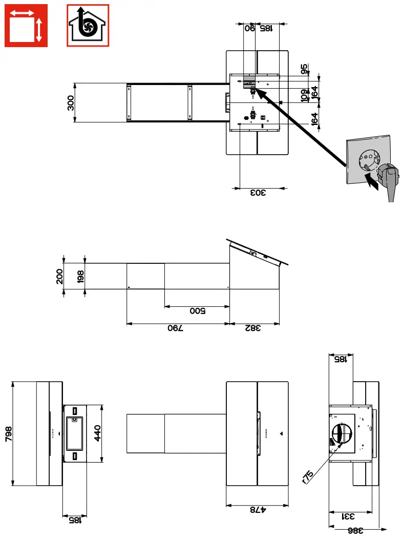
Spacing
▶ Observe the safety distance between stove top and hood.
If the installation instructions for a gas-powered stove top require a greater distance than specified in these installation instructions:
▶ Observe the specifications of the gas-powered stove top.
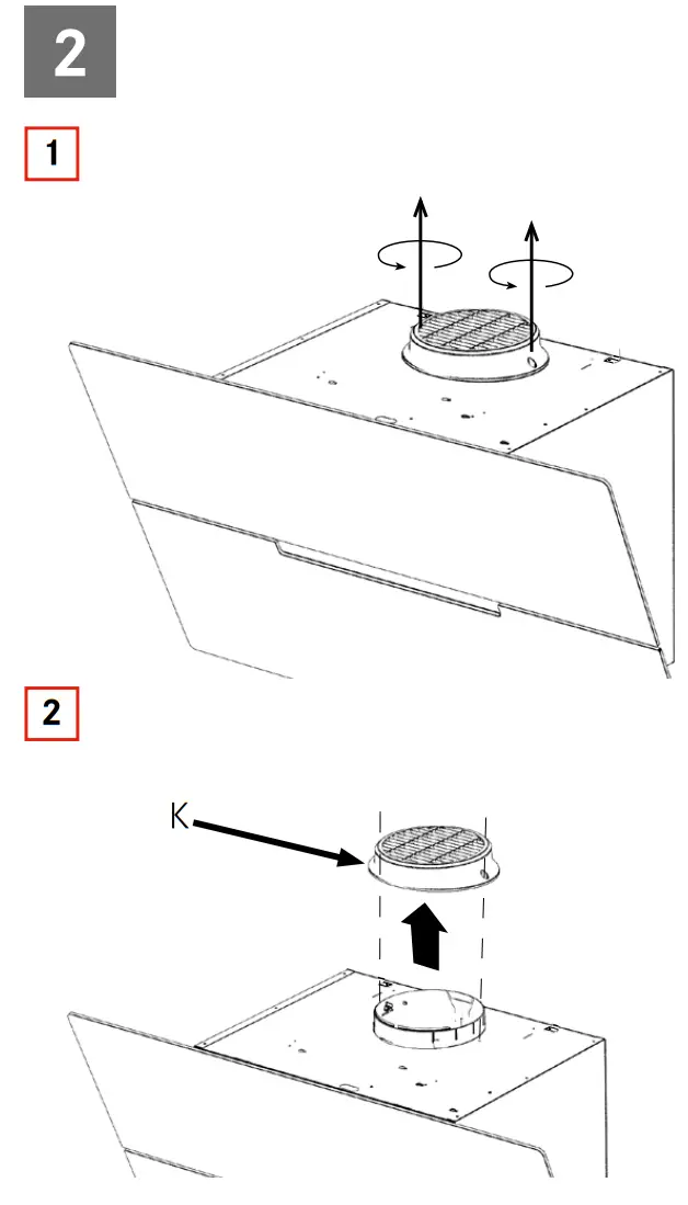
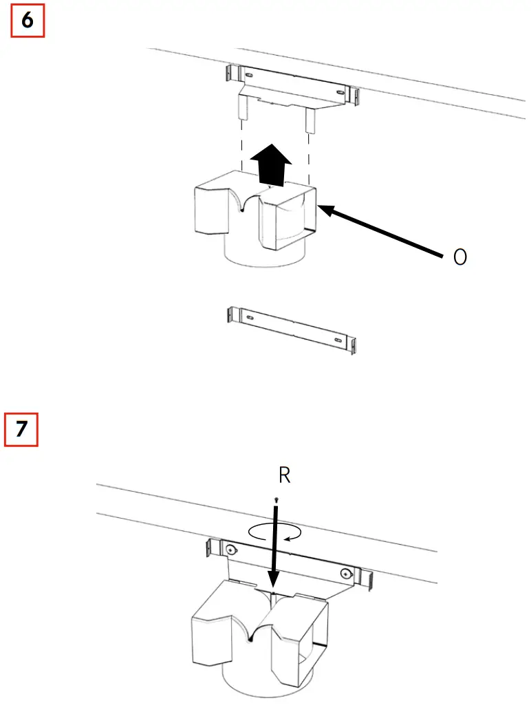
Connecting the smoke vent
▶ Do not connect the hood to a shaft that is used for flue gas (e.g. from a fireplace, heating system etc.).
▶ Connect the hood to the smoke vent with a pipe and make sure that the route of the pipe is as short as possible.
▶ If gas-powered devices or similar devices that do not require electricity are used in the same room as the hood: Ensure a sufficient ventilation to avoid the backflow of exhaust gases.
Electrical connection
▶ Observe the supply voltage (see type plate).
▶ For devices of class I: Make sure that the power grid in the building is earthed correctly.
▶ Connect the hood to the mains power supply with a double-pole switch with a contact gap width of at least 3 mm.
![]()
Franke France S.A.S.
B.P 13 – Avenue Aristide Briand
60230 Chambly (France)
Service conformateur:
04.88.78.59.93![]()



















