HOME DECORATORS COLLECTION 1906WC-24-201 Gillinger 24 in. W x 10 in. D x 28 in. H White Wall Mount Bathroom Storage Cabinet
Product Information
The product is a Gillinger 24 inch wide by 28 inch high white wall cabinet, with item number 1007572492 and model number 1906WC-24-201. It comes with assembly instructions, pre-installation guidelines, tools required for installation, hardware included, and a limited lifetime warranty.
Safety Information
DANGER
- Keep small parts away from children during assembly.
- Failure to follow warnings and cautions could result in serious injury.
WARNING
- Read these instructions carefully and keep in a safe place.
- Adult assembly required.
- This product should only be used on a flat, level surface.
- Do not over tighten connectors (screws, bolts, etc.) Overtightening can lead to product damage.
- Small parts may present choking hazard prior to assembly.
- Do not stand, step or climb on unit.
CAUTION
- Be sure to check all packing materials carefully for small parts that may have come loose inside the carton during shipment. If parts are missing, contact THE HOME DEPOT to obtain any missing parts.
- Using abrasive cleansers will damage the surface.
Pre-Installation
PLANNING INSTALLATION
Before beginning assembly of product, make sure all parts are present. Compare parts with package contents list and hardware contents list. If any part is missing or damaged, do not attempt to assemble the product. Estimated Assembly Time: 20 minutes.
TOOLS REQUIRED (NOT INCLUDED)

HARDWARE INCLUDED
NOTE: Hardware not shown to actual size.

| Part | Description | Quantity |
| AA | Touch Up Pen | 1 |
| BB | Handle (Options) | 1 |
| CC | Shelf Pin | 8 |
PACKAGE CONTENTS

| Part | Description | Quantity |
| A | Cabinet | 1 |
| B | Wall Bracket | 1 |
| C | Shelf | 2 |
| D | Flip Down Door (preassembled to cabinet (A)) | 1 |
Installation
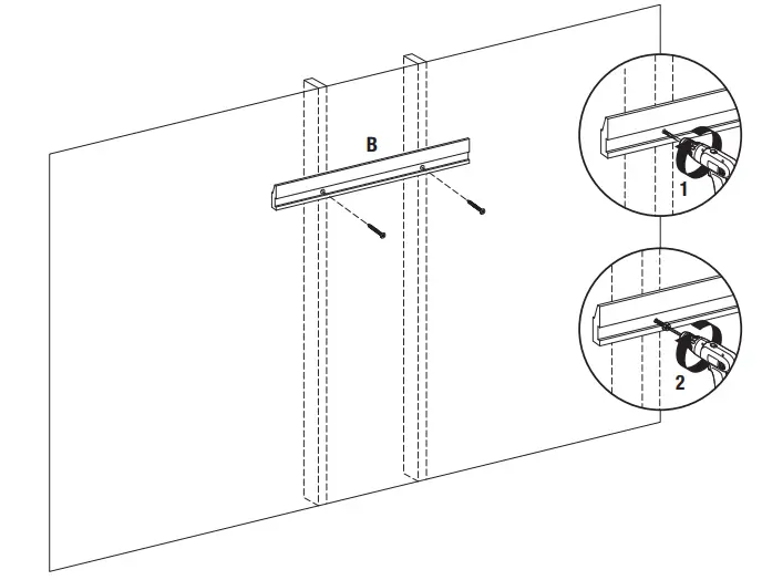
Installing wall bracket
- Locate wall bracket (B) and set aside. Locate and mark wall stud locations where cabinet (A) will be placed.
- Center wall bracket (B) in desired level location off the floor and mark locations where wall bracket (B) meets the location of the wall studs.
- Using hardware appropriate for your wall type (not included), secure the wall bracket (B) to the wall into preferably 2 wall studs. Use hardware such as a cabinet screw or toggle bolt depending on your wall type.
- Make sure the wall bracket (B) is level and centered well to the desired location of the cabinet (A). Be careful not to disturb any plumbing or electrical lines that may be concealed in the wall.
WARNING: It is critical to have a strong secure connection to the wall before continuing to the next step.

Installing cabinet
- With the help of another adult, carefully lower the cabinet (A) down onto the wall bracket (B). WARNING: Be sure the cabinet (A) is secure to the wall before letting go.
WARNING: Be sure the cabinet (A) is secure to the wall before letting go.
Installing the shelf
Insert shelf pins (CC) at desired height, ensuring they are level. Place shelf (C) on top of shelf pins (CC).
Change the handle (optional)
NOTE: This wall cabinet comes with two different handle options.
- One set of handle (BB) is packaged separately in the box. If you would like to switch handles, simply remove the existing handles and attach the other finish, as illustrated in the diagram.

Care and Maintenance
- Dust the wall cabinet regularly with a soft, non-lint producing cloth or household dusting product.
- You can clean the wall cabinet with a gentle, non-abrasive household cleaner.
- Make sure to dry the wood immediately with a soft cloth or towel.
- Tips for using touch-up pen (AA): For scratches, stroke in direction of scratch. Rub off excess colorant promptly with a soft cloth.
Service Parts
MODEL TYPE

| Part | Description | Part # |
| B | Wall Bracket | WC-WALL BRACKET-201 |
| C | Shelf | 1906WC-24-201-SHELF |
| D | Flip Down Door | 1906WC-24-201 FLIP DOWN DOOR |
| AA | Touch-Up Pen | OF-0010 |
| BB | Handle-Brushed Nickel | 1906VA-HANDLE-BN |
| Handle-Soft Gold | 1906VA-HANDLE-SG | |
| CC | Shelf Pin | B1044 |
| DD | Piston With Screw | PU17-1480WC-DD/EE/FF |
| EE | Flip Door Hinge | |
| FF | Door Catch |
Warranty
LIMITED LIFETIME WARRANTY
WHAT IS COVERED
Home Decorators Collection products are manufactured with superior quality standards and workmanship and are backed by our limited lifetime warranty. Home Decorators Collection products are warranted to the original consumer purchaser to be free of defects in materials or workmanship. We will replace FREE OF CHARGE any product or parts that proves defective. Simply, return the product / part to any of The Home Depot retail locations or call 1-800-998-7021 to receive the replacement item. Proof of purchase (original sales receipt) from the original consumer purchaser must be made available for all Home Decorators Collection warranty claims.
WHAT IS NOT COVERED
This warranty excludes incidental/consequential damages and failures due to misuse, abuse or normal wear and tear. This warranty excludes all industrial, commercial & business usage, whose purchasers are hereby extended a five-year limited warranty from the date of purchase, with all other terms of this warranty applying except the duration of warranty. Some states and provinces do not allow the exclusion or limitation of incidental or consequential damages, so the above limitations may not apply to you. This warranty gives you specific legal rights and you may also have other rights that vary from state to state and province to province. Please see a store or contact 1-800-998-7021 for more details.
Minnesota Residents
IMPORTANT HEALTH NOTICE
SOME OF THE BUILDING MATERIALS USED IN THIS HOME (OR THESE BUILDING MATERIALS) EMIT FORMALDEHYDE. EYE, NOSE, AND THROAT IRRITATION, HEADACHE, NAUSEA AND A VARIETY OF ASTHMA-LIKE SYMPTOMS, INCLUDING SHORTNESS OF BREATH, HAVE BEEN REPORTED AS A RESULT OF FORMALDEHYDE EXPOSURE. ELDERLY PERSONS AND YOUNG CHILDREN, AS WELL AS ANYONE WITH A HISTORY OF ASTHMA, ALLERGIES, OR LUNG PROBLEMS, MAY BE AT GREATER RISK. RESEARCH IS CONTINUING ON THE POSSIBLE LONG-TERM EFFECTS OF EXPOSURE TO FORMALDEHYDE.
REDUCED VENTILATION MAY ALLOW FORMALDEHYDE AND OTHER CONTAMINANTS TO ACCUMULATE IN THE INDOOR AIR. HIGH INDOOR TEMPERATURES AND HUMIDITY RAISE FORMALDEHYDE LEVELS. WHEN A HOME IS TO BE LOCATED IN AREAS SUBJECT TO EXTREME SUMMER TEMPERATURES, AN AIR-CONDITIONING SYSTEM CAN BE USED TO CONTROL INDOOR TEMPERATURE LEVELS. OTHER MEANS OF CONTROLLED MECHANICAL VENTILATION CAN BE USED TO REDUCE LEVELS OF FORMALDEHYDE AND OTHER INDOOR AIR CONTAMINANTS.
IF YOU HAVE ANY QUESTIONS REGARDING THE HEALTH EFFECTS OF FORMALDEHYDE, CONSULT YOUR DOCTOR OR LOCAL HEALTH DEPARTMENT.
MODEL TYPE
Questions, problems, missing parts? Before returning to the store, call Home Decorators Collection Customer Service
8 a.m. – 7 p.m., EST, Monday – Friday, 9 a.m. – 6 p.m., EST, Saturday
1-800-998-7021
HOMEDEPOT.COM/HOMEDECORATORS
Retain this manual for future use.



















