DEWALT DCH735 Heavy Duty Cordless SDS Max Combination Hammer

Congratulations!
You have chosen a DeWALT tool. Years of experience, thorough product development and innovation make DeWALT one of the most reliable partners for professional power tool users.
Product Information
- Product Name: Hammer Drill
- Model Numbers: DCH735, DCH775
- Power Source: Battery
- Battery Voltage: 18V/54V
- Chuck Size: 24mm
- No Load Speed: 0-433 RPM
- Impact Rate: 0-8600 BPM
- Weight: 8.5kg (DCH735), 9.4kg (DCH775)
Product Usage Instructions
- Safety Guidelines: Before using the hammer drill, read and understand all safety guidelines mentioned in the user manual.
- Battery Charging: To charge the battery, connect the charger to a power source and insert the battery into the charger. The charging indicators will blink to indicate that the charging process has started. Refer to the user manual for charging times and indicators.
- Battery Usage: Insert a fully charged battery into the hammer drill and ensure that it is securely in place. Refer to the user manual for instructions on inserting and removing the battery.
- Drilling: Attach the appropriate drill bit to the chuck and adjust the speed and torque settings as required. Hold the hammer drill firmly with both hands and place the drill bit on the surface to be drilled. Apply steady pressure and start drilling.
- Chiseling: Attach the appropriate chisel bit to the chuck and adjust the speed and torque settings as required. Hold the hammer drill firmly with both hands and place the chisel bit on the surface to be chiseled. Apply steady pressure and start chiseling.
- Maintenance: Regularly clean the hammer drill and its components with a dry cloth. Do not use water or solvents. Refer to the user manual for information on maintenance and servicing.
Technical Data


The vibration and/or noise emission level given in this information sheet has been measured in accordance with a standardised test given in EN IEC 62841 and may be used to compare one tool with another. It may be used for a preliminary assessment of exposure.
WARNING: The declared vibration and/or noise emission level represents the main applications of the tool. However, if the tool is used for different applications, with different accessories or is poorly maintained, the vibration and/or noise emission may differ. This may significantly increase the exposure level over the total working period. An estimation of the level of exposure to vibration and/or noise should also take into account the times when the tool is switched off or when it is running but not actually doing the job. This may significantly reduce the exposure level over the total working period. Identify additional safety measures to protect the operator from the effects of vibration and/or noise such as: maintain the tool and the accessories, keep the hands warm (relevant for vibration), organisation of work patterns.
EC‑Declaration of Conformity
Machinery Directive and Radio Equipment Directive
Heavy-Duty Cordless SDS max® Combination Hammer
DCH735, DCH775
DeWALT declares that these products described under Technical
Data are in compliance with:
2006/42/EC, EN62841-1:2015+A11:2022, EN IEC 62841-2-6:2020 + A11:2020.
These products also comply with Directive 2014/53/EU and 2011/65/EU. For more information, please contact DeWALT at the following address or refer to the back of the manual. The undersigned is responsible for compilation of the technical file and makes this declaration on behalf of DeWALT.
Markus Rompel
Vice‑President Engineering, PTE‑Europe
DeWALT, Richard‑Klinger‑Straße 11,
65510, Idstein, Germany
30.12.2022
DECLARATION OF CONFORMITY
THE SUPPLY OF MACHINERY (SAFETY) REGULATIONS 2008
DeWALT declares that these products described under Technical Data are in compliance with: The Supply of Machinery (Safety) Regulations, 2008, S.I. 2008/1597 (as amended),
EN62841-1:2015+A11:2022, EN IEC62841-2-6:2020+A11:2020. These products conform to the following UK Regulations: The Radio Equipment Regulations 2017, S.I. 2017/1206 (as amended). The Restriction of the Use of Certain Hazardous Substances in Electrical and Electronic Equipment Regulations 2012, S.I. 2012/3032 (as amended). For more information, please contact DeWALT at the following address or refer to the back of the manual. The undersigned is responsible for compilation of the technical file and makes this declaration on behalf of DeWALT.
Karl Evans
Vice President Professional Power Tools EANZ GTS
DeWALT UK, 270 Bath Road, Slough
SL1 4DX
England
30.12.2022
WARNING: To reduce the risk of injury, read the instruction manual.
Definitions: Safety Guidelines
The definitions below describe the level of severity for each signal word. Please read the manual and pay attention to these symbols.
DANGER: Indicates an imminently hazardous situation which, if not avoided, will result in death or serious injury.
- WARNING: Indicates a potentially hazardous situation which, if not avoided, could result in death or serious injury.
- CAUTION: Indicates a potentially hazardous situation which, if not avoided, may result in minor or moderate injury.
- NOTICE: Indicates a practice not related to personal injury which, if not avoided, may result in property damage.
GENERAL POWER TOOL SAFETY WARNINGS
WARNING: Read all safety warnings, instructions, illustrations and specifications provided with this power tool. Failure to follow all instructions listed below may result in electric shock, fire and/or serious injury.
SAVE ALL WARNINGS AND INSTRUCTIONS FOR FUTURE REFERENCE The term “power tool” in the warnings refers to your mains‑operated (corded) power tool or battery‑operated (cordless) power tool.
- Work Area Safety
- Keep work area clean and well lit. Cluttered or dark areas invite accidents.
- Do not operate power tools in explosive atmospheres, such as in the presence of flammable liquids, gases or dust. Power tools create sparks which may ignite the dust or fumes.
- Keep children and bystanders away while operating a power tool. Distractions can cause you to lose control.
- Electrical Safety
- Power tool plugs must match the outlet. Never modify the plug in any way. Do not use any adapter plugs with earthed (grounded) power tools. Unmodified plugs and matching outlets will reduce risk of electric shock.
- Avoid body contact with earthed or grounded surfaces, such as pipes, radiators, ranges and refrigerators. There is an increased risk of electric shock if your body is earthed or grounded.
- Do not expose power tools to rain or wet conditions. Water entering a power tool will increase the risk of electric shock.
- Do not abuse the cord. Never use the cord for carrying, pulling or unplugging the power tool. Keep cord away from heat, oil, sharp edges or moving parts. Damaged or entangled cords increase the risk of electric shock.
- When operating a power tool outdoors, use an extension cord suitable for outdoor use. Use of a cord suitable for outdoor use reduces the risk of electric shock.
- If operating a power tool in a damp location is unavoidable, use a residual current device (RCD) protected supply. Use of an RCD reduces the risk of electric shock.
- Personal Safety
- Stay alert, watch what you are doing and use common sense when operating a power tool. Do not use a power tool while you are tired or under the influence of drugs, alcohol or medication. A moment of inattention while operating power tools may result in serious personal injury.
- Use personal protective equipment. Always wear eye protection. Protective equipment such as a dust mask, non‑skid safety shoes, hard hat or hearing protection used for appropriate conditions will reduce personal injuries.
- Prevent unintentional starting. Ensure the switch is in the off position before connecting to power source and/or battery pack, picking up or carrying the tool. Carrying power tools with your finger on the switch or energising power tools that have the switch on invites accidents.
- Remove any adjusting key or wrench before turning the power tool on. A wrench or a key left attached to a rotating part of the power tool may result in personal injury.
- Do not overreach. Keep proper footing and balance at all times. This enables better control of the power tool in unexpected situations.
- Dress properly. Do not wear loose clothing or jewellery. Keep your hair and clothing away from moving parts. Loose clothes, jewellery or long hair can be caught in moving parts.
- If devices are provided for the connection of dust extraction and collection facilities, ensure these are connected and properly used. Use of dust collection can reduce dust‑related hazards.
- Do not let familiarity gained from frequent use of tools allow you to become complacent and ignore tool safety principles. A careless action can cause severe injury within a fraction of a second.
- Power Tool Use and Care
- Do not force the power tool. Use the correct power tool for your application. The correct power tool will do the job better and safer at the rate for which it was designed.
- Do not use the power tool if the switch does not turn it on and off. Any power tool that cannot be controlled with the switch is dangerous and must be repaired.
- Disconnect the plug from the power source and/ or remove the battery pack, if detachable, from the power tool before making any adjustments, changing accessories, or storing power tools. Such preventive safety measures reduce the risk of starting the power tool accidentally.
- Store idle power tools out of the reach of children and do not allow persons unfamiliar with the power tool or these instructions to operate the power tool. Power tools are dangerous in the hands of untrained users.
- Maintain power tools and accessories. Check for misalignment or binding of moving parts, breakage of parts and any other condition that may affect the power tool’s operation. If damaged, have the power tool repaired before use. Many accidents are caused by poorly maintained power tools.
- Keep cutting tools sharp and clean. Properly maintained cutting tools with sharp cutting edges are less likely to bind and are easier to control.
- Use the power tool, accessories and tool bits, etc. in accordance with these instructions, taking into account the working conditions and the work to be performed. Use of the power tool for operations different from those intended could result in a hazardous situation.
- Keep handles and grasping surfaces dry, clean and free from oil and grease. Slippery handles and grasping surfaces do not allow for safe handling and control of the tool in unexpected situations.
- Battery Tool Use and Care
- Recharge only with the charger specified by the manufacturer. A charger that is suitable for one type of battery pack may create a risk of fire when used with another battery pack.
- Use power tools only with specifically designated battery packs. Use of any other battery packs may create a risk of injury and fire.
- When battery pack is not in use, keep it away from other metal objects, like paper clips, coins, keys, nails, screws or other small metal objects, that can make a connection from one terminal to another. Shorting the battery terminals together may cause burns or a fire.
- Under abusive conditions, liquid may be ejected from the battery; avoid contact. If contact accidentally occurs, flush with water. If liquid contacts eyes, additionally seek medical help. Liquid ejected from the battery may cause irritation or burns.
- Do not use a battery pack or tool that is damaged or modified. Damaged or modified batteries may exhibit unpredictable behaviour resulting in fire, explosion or risk of injury.
- Do not expose a battery pack or tool to fire or excessive temperature. Exposure to fire or temperature above 130 °C may cause explosion.
- Follow all charging instructions and do not charge the battery pack or tool outside the temperature range specified in the instructions. Charging improperly or at temperatures outside the specified range may damage the battery and increase the risk of fire.
- Service
- Have your power tool serviced by a qualified repair person using only identical replacement parts. This will ensure that the safety of the power tool is maintained.
- Never service damaged battery packs. Service of battery packs should only be performed by the manufacturer or authorised service providers.
Hammer Safety Warnings
- Wear ear protectors. Exposure to noise can cause hearing loss.
- Use auxiliary handle(s) if supplied with the tool. Loss of control can cause personal injury.
- Hold the power tool by insulated gripping surfaces, when performing an operation where the cutting accessory may contact hidden wiring or its own cord. Cutting accessory contacting a “live” wire may make exposed metal parts of the power tool “live” and could give the operator an electric shock.
Safety Instructions When Using Long Drill Bits with Rotary Hammers
- Always start drilling at low speed and with the bit tip in contact with the workpiece. At higher speeds, the bit is likely to bend if allowed to rotate freely without contacting the workpiece, resulting in personal injury.
- Apply pressure only in direct line with the bit and do not apply excessive pressure. Bits can bend causing breakage or loss of control, resulting in personal injury.
Additional Safety Instructions for Hammers
- Use clamps or other practical way to secure and support the workpiece to a stable platform. Holding the work by hand or against your body is unstable and may lead to loss of control.
- Wear safety goggles or other eye protection. Hammering operations cause chips to fly. Flying particles can cause permanent eye damage. Wear a dust mask or respirator for applications that generate dust. Ear protection may be required for most applications.
- Keep a firm grip on the tool at all times. Do not attempt to operate this tool without holding it with both hands. It is recommended that the side handle be used at all times. Operating this tool with one hand will result in loss of control. Breaking through or encountering hard materials such as re-bar may be hazardous as well. Tighten the side handle securely before use.
- Do not operate this tool for long periods of time. Vibration caused by hammer action may be harmful to your hands and arms. Use gloves to provide extra cushion and limit exposure by taking frequent rest periods.
- Do not recondition bits yourself. It should be done by an authorized specialist. Improperly reconditioned bits could cause injury.
- Wear gloves when operating tool or changing bits. Accessible metal parts on the tool and bits may get extremely hot during operation. Small bits of broken material may damage bare hands.
- Never lay the tool down until the bit has come to a complete stop. Moving bits could cause injury.
- Do not strike jammed bits with a hammer to dislodge them. Fragments of metal or material chips could dislodge and cause injury.
- Be certain that the material being drilled does not conceal electric or gas service and that their locations have been verified with the utility companies.
- Slightly worn chisels can be resharpened by grinding.
- Do not overheat the bit (discoloration) while grinding a new edge. Badly worn chisels require reforging. Do not reharden and temper the chisel.
- Keep the power cord away from the rotating bit. Do not wrap the cord around any part of your body. An electric cord wrapped around a spinning bit may cause personal injury and loss of control.
Reducing of Dust Exposure
Before starting work, check the hazard class of the dust that will be produced when working.
WARNING: Dust can be harmful to health. Touching or breathing of some dust created during the work process by using a power tool and other construction activities contains chemicals, mineral or particles known to cause respiratory infections, allergic reactions, cancer, birth defects or other reproductive harm of the user or bystanders.
- Such dusts can be generated, for example, when working – on hardwoods such as beech or oak, lead based paint, on concrete, masonry or stones containing quartz.
- Material containing asbestos may be handled only by specialists.
- Observe the relevant regulations in your country for the materials to be worked on.
- Use a dust extractor or extraction system with an officially approved protection class in compliance with the locally applicable dust protection regulations and suitable for the material to be worked on.
- Capture the resulting dust particles directly at the source and avoid deposits in the surrounding area. Use suitable extraction accessories for this purpose
Additional measures:
- Make sure that the workplace is well-ventilated.
- Wear a respirator appropriate for the type of dust generated.
Residual Risks
In spite of the application of the relevant safety regulations and the implementation of safety devices, certain residual risks cannot be avoided. These are:
- Impairment of hearing.
- Risk of personal injury due to flying particles.
- Risk of burns due to accessories becoming hot during operation.
- Risk of personal injury due to prolonged use.
Chargers
DeWALT chargers require no adjustment and are designed to be as easy as possible to operate.
Electrical Safety
The electric motor has been designed for one voltage only. Always check that the battery pack voltage corresponds to the voltage on the rating plate. Also make sure that the voltage of your charger corresponds to that of your mains. iYour DeWALT charger is double insulated in accordance with EN60335; therefore, no earth wire is required. If the supply cord is damaged, it must be replaced only by DeWALT or an authorised service organization.
Mains Plug Replacement (U.K. & Ireland Only)
If a new mains plug needs to be fitted:
- Safely dispose of the old plug.
- Connect the brown lead to the live terminal in the plug.
- Connect the blue lead to the neutral terminal. WARNING: No connection is to be made to the earth terminal.
Follow the fitting instructions supplied with good-quality plugs. Recommended fuse: 3 A.
Using an Extension Cable
An extension cord should not be used unless absolutely necessary. Use an approved extension cable suitable for the power input of your charger (refer to Technical Data). The minimum conductor size is 1 mm2; the maximum length is 30 m. When using a cable reel, always unwind the cable completely.
Important Safety Instructions for All Battery Chargers
SAVE THESE INSTRUCTIONS: This manual contains important safety and operating instructions for compatible battery chargers (refer to Technical Data). Before using charger, read all instructions and cautionary markings on charger, battery pack, and
product using battery pack.
WARNING: Shock hazard. Do not allow any liquid to get inside charger. Electric shock may result.
WARNING: We recommend the use of a residual current device with a residual current rating of 30 mA or less.
CAUTION: Burn hazard. To reduce the risk of injury, charge only DeWALT rechargeable batteries. Other types of batteries may burst, causing personal injury and damage.
CAUTION: Children should be supervised to ensure that they do not play with the appliance.
NOTICE: Under certain conditions, with the charger plugged into the power supply, the exposed charging contacts inside the charger can be shorted by foreign material. Foreign materials of a conductive nature such as, but not limited to, steel wool, aluminum foil or any buildup of metallic particles should be kept away from charger cavities. Always unplug the charger from the power supply when there is no battery pack in the cavity. Unplug charger before attempting to clean.
- DO NOT attempt to charge the battery pack with any chargers other than the ones in this manual. The charger and battery pack are specifically designed to work together.
- These chargers are not intended for any uses other than charging DeWALT rechargeable batteries. Any other uses may result in risk of fire, electric shock or electrocution.
- Do not expose charger to rain or snow.
- Pull by plug rather than cord when disconnecting charger. This will reduce risk of damage to electric plug and cord.
- Make sure that cord is located so that it will not be stepped on, tripped over, or otherwise subjected to damage or stress.
- Do not use an extension cord unless it is absolutely necessary. Use of improper extension cord could result in risk of fire, electric shock, or electrocution.
- Do not place any object on top of charger or place the charger on a soft surface that might block the ventilation slots and result in excessive internal heat. Place the charger in a position away from any heat source. The charger is ventilated through slots in the top and the bottom of the housing.
- Do not operate charger with damaged cord or plug— have them replaced immediately.
Do not operate charger if it has received a sharp blow, been dropped, or otherwise damaged in any way. Take it to an authorised service centre. - Do not disassemble charger; take it to an authorised service centre when service or repair is required. Incorrect reassembly may result in a risk of electric shock, electrocution or fire.
- In case of damaged power supply cord, the supply cord must be replaced immediately by the manufacturer, its service agent or similar qualified person to prevent any hazard.
- Disconnect the charger from the outlet before attempting any cleaning. This will reduce the risk of electric shock. Removing the battery pack will not reduce this risk.
- NEVER attempt to connect two chargers together.
- The charger is designed to operate on standard 230V household electrical power. Do not attempt to use it on any other voltage. This does not apply to the vehicular charger.
Charging a Battery (Fig. B)
- Plug the charger into an appropriate outlet before inserting battery pack.
- Insert the battery pack 8 into the charger, making sure the battery pack is fully seated in the charger. The red (charging) light will blink repeatedly, indicating that the charging process has started.
- The completion of charge will be indicated by the red light remaining ON continuously. The battery pack is fully charged and may be used at this time or left in the charger. To remove the battery pack from the charger, push the battery release button 9 on the battery pack.
NOTE: To ensure maximum performance and life of lithium‑ion battery packs, charge the battery pack fully before first use.
Charger Operation
Refer to the indicators below for the charge status of the battery pack.
* The red light will continue to blink, but a yellow indicator light will be illuminated during this operation. Once the battery pack has reached an appropriate temperature, the yellow light will turn off and the charger will resume the charging procedure. The compatible charger(s) will not charge a faulty battery pack. The charger will indicate faulty battery by refusing to light.
NOTE: This could also mean a problem with a charger. If the charger indicates a problem, take the charger and battery pack to be tested at an authorized service centre.
- Hot/Cold Pack Delay
When the charger detects a battery pack that is too hot or too cold, it automatically starts a Hot/Cold Pack Delay, suspending charging until the battery pack has reached an appropriate temperature. The charger then automatically switches to the pack charging mode. This feature ensures maximum battery pack life. A cold battery pack will charge at a slower rate than a warm battery pack. The battery pack will charge at that slower rate throughout the entire charging cycle and will not return to maximum charge rate even if the battery pack warms. The DCB118 charger is equipped with an internal fan designed to cool the battery pack. The fan will turn on automatically when the battery pack needs to be cooled. Never operate the charger if the fan does not operate properly or if ventilation slots are blocked. Do not permit foreign objects to enter the interior of the charger.
Electronic Protection System
XR Li‑Ion tools are designed with an Electronic Protection System that will protect the battery pack against overloading, overheating or deep discharge. The tool will automatically turn off if the Electronic Protection System engages. If this occurs, place the lithium‑ion battery pack in the charger until it is fully charged. - Wall Mounting
These chargers are designed to be wall mountable or to sit upright on a table or work surface. If wall mounting, locate the charger within reach of an electrical outlet, and away from a corner or other obstructions which may impede air flow. Use the back of the charger as a template for the location of the mounting screws on the wall. Mount the charger securely using drywall screws (purchased separately) at least 25.4 mm long with a screw head diameter of 7–9 mm, screwed into wood to an optimal depth leaving approximately 5.5 mm of the screw exposed. Align the slots on the back of the charger with the exposed screws and fully engage them in the slots.
Charger Cleaning Instructions
WARNING: Shock hazard. Disconnect the charger from the AC outlet before cleaning. Dirt and grease may be removed from the exterior of the charger using a cloth or soft non‑metallic brush. Do not use water or any cleaning solutions. Never let any liquid get inside the tool; never immerse any part of the tool into a liquid.
Battery Packs
Important Safety Instructions for All Battery Packs
When ordering replacement battery packs, be sure to include catalogue number and voltage. The battery pack is not fully charged out of the carton. Before using the battery pack and charger, read the safety instructions below. Then follow charging procedures outlined.
- Do not charge or use battery in explosive atmospheres, such as in the presence of flammable liquids, gases or dust. Inserting or removing the battery from the charger may ignite the dust or fumes.
- Never force battery pack into charger. Do not modify battery pack in any way to fit into a non‑compatible charger as battery pack may rupture, causing serious personal injury.
- Charge the battery packs only in DeWALT chargers.
- DO NOT splash or immerse in water or other liquids.
- Do not store or use the tool and battery pack in locations where the temperature may fall below 4 ˚C (39.2 ˚F) (such as outside sheds or metal buildings in winter), or reach or exceed 40 ˚C (104 ˚F) (such as outside sheds or metal buildings in summer).
- Do not incinerate the battery pack even if it is severely damaged or is completely worn out. The battery pack can explode in a fire. Toxic fumes and materials are created when lithium‑ion battery packs are burned.
- If battery contents come into contact with the skin, immediately wash area with mild soap and water. If battery liquid gets into the eye, rinse water over the open eye for 15 minutes or until irritation ceases. If medical attention is needed, the battery electrolyte is composed of a mixture of liquid organic carbonates and lithium salts.
- Contents of opened battery cells may cause respiratory irritation. Provide fresh air. If symptoms persist, seek medical attention.
- WARNING: Burn hazard. Battery liquid may be flammable if exposed to spark or flame.
- WARNING: Never attempt to open the battery pack for any reason. If battery pack case is cracked or damaged, do not insert into charger. Do not crush, drop or damage battery pack. Do not use a battery pack or charger that has received a sharp blow, been dropped, run over or damaged in any way (i.e., pierced with a nail, hit with a hammer, stepped on). Electric shock or electrocution may result. Damaged battery packs should be returned to service centre for recycling.
- WARNING: Fire hazard. Do not store or carry the battery pack so that metal objects can contact exposed battery terminals. For example, do not place the battery pack in aprons, pockets, tool boxes, product kit boxes, drawers, etc., with loose nails, screws, keys, etc.
- CAUTION: When not in use, place tool on its side on a stable surface where it will not cause a tripping or falling hazard. Some tools with large battery packs will stand upright on the battery pack but may be easily knocked over.
Transportation
WARNING: Fire hazard. Transporting batteries can possibly cause fire if the battery terminals inadvertently come into contact with conductive materials. When transporting batteries, make sure that the battery terminals are protected and well‑insulated from materials that could contact them and cause a short circuit.
NOTE: Lithium‑ion batteries should not be put in checked baggage.
DeWALT batteries comply with all applicable shipping regulations as prescribed by industry and legal standards, which include UN Recommendations on the Transport of Dangerous Goods; International Air Transport Association (IATA) Dangerous Goods Regulations; International Maritime Dangerous Goods (IMDG) Regulations; and the European Agreement Concerning The International Carriage of Dangerous Goods by Road (ADR). Lithium‑ion cells and batteries have been tested to section 38.3 of the UN Recommendations on the Transport of Dangerous Goods Manual of Tests and Criteria. In most instances, shipping a DeWALT battery pack will be excepted from being classified as a fully regulated Class 9 Hazardous Material. In general, only shipments containing
a lithium‑ion battery with an energy rating greater than 100 Watt Hours (Wh) will require being shipped as fully regulated Class 9. All lithium‑ion batteries have the Wh rating marked on the pack. Furthermore, due to regulation complexities, DeWALT does not recommend air shipping lithium‑ion battery packs alone regardless of Wh rating. Shipments of tools with batteries (combo kits) can be air shipped as excepted if the Wh rating of the battery pack is no greater than 100 Wh. Regardless of whether a shipment is considered excepted or fully regulated, it is the shipper’s responsibility to consult the latest regulations for packaging, labeling/marking and documentation requirements. The information provided in this section of the manual is provided in good faith and believed to be accurate at the time the document was created. However, no warranty, expressed or implied, is given. It is the buyer’s responsibility to ensure that its activities comply with the applicable regulations.
Transporting the FLEXVOLTTM Battery
The DeWALT FLEXVOLT® battery has two modes: Use and Transport.
- Use Mode: When the FLEXVOLTTM battery stands alone or is in a DeWALT 18V product, it will operate as an 18V battery. When the FLEXVOLTTM battery is in a 54V or a 108V (two 54V batteries) product, it will operate as a 54V battery.

- Transport Mode: When the cap is attached to the FLEXVOLTTM battery, the battery is in Transport mode. Keep the cap for shipping. When in Transport mode, strings of cells are electrically disconnected within the pack, resulting in 3 batteries with a lower Watt hour (Wh) rating as compared to 1 battery with a higher Watt hour rating. This increased quantity of 3 batteries with the lower Watt hour rating can exempt the pack from certain shipping regulations that are imposed upon the higher Watt hour batteries. For example, the Transport Wh rating might indicate 3 x 36 Wh, meaning 3 batteries of 36 Wh each. The Use Wh rating might indicate 108 Wh (1 battery implied).

Storage Recommendations
- The best storage place is one that is cool and dry away from direct sunlight and excessive heat or cold. For optimum battery performance and life, store battery packs at room temperature when not in use.
- For long storage, it is recommended to store a fully charged battery pack in a cool, dry place out of the charger for optimal results.
NOTE: Battery packs should not be stored completely depleted of charge. The battery pack will need to be recharged before use.
Labels on Charger and Battery Pack
In addition to the pictographs used in this manual, the labels on the charger and the battery pack may show the following pictographs:

Battery Type
The following tools operate on a 54-volt battery pack: DCH735., DCH775 These battery packs may be used: DCB546, DCB547, DCB547G, DCB548, DCB549. Refer to Technical Data for more information.
Package Contents
The package contains:
- 1 Rotary Hammer
- 1 Side handle
- 1 Charger
- 1 Li-Ion battery pack (C1, D1, E1, G1, H1, L1, M1, P1, Q1, S1, T1, U1, X1, Y1, Z1 models)
- 2 Li-Ion battery packs (C2, D2, E2, G2, H2, L2, M2, P2, Q2, S2, T2, U2, X2, Y2, Z2 models)
- 3 Li-Ion battery packs (C3, D3, E3, G3, H3, L3, M3, P3, Q3, S3, T3, U3, X3, Y3, Z3 models)
- 1 Instruction manual
NOTE: Battery packs, chargers and kitboxes are not included with N models. Battery packs and chargers are not included with NT models. B models include Bluetooth® battery packs.
NOTE: The Bluetooth® word mark and logos are registered trademarks owned by the Bluetooth®, SIG, Inc. and any use of such marks by DeWALT is under license. Other trademarks and trade names are those of their respective owners.
- Check for damage to the tool, parts or accessories which may have occurred during transport.
- Take the time to thoroughly read and understand this manual prior to operation.
Markings on Tool
The following pictograms are shown on the tool:
Date Code Position (Fig. A)
The production date code 14 consists of a 4‑digit year followed by a 2‑digit week and is extended by a 2‑digit factory code.
Description
WARNING: Never modify the power tool or any part of it. Damage or personal injury could result.
- Trigger switch
- Side handle
- Front Barrel (Collar)
- Mode selector dial
- Main handle
- Bit holder
- Sleeve
- Battery pack
- Battery release button
- Electronic speed and impact control dial
- Red anti-rotation system indicator LED
- Yellow service indicator LED
- DeWALT tool tag mounting holes
- Date code
Intended Use
Your rotary hammer has been designed for professional rotary masonry and concrete drilling, chiseling and chipping applications.
- DO NOT use under wet conditions or in the presence of flammable liquids or gases. Your rotary hammer is a professional power tool.
- DO NOT let children come into contact with the tool. Supervision is required when inexperienced operators use this tool.
- Young children and the infirm. This appliance is not intended for use by young children or infirm persons without supervision.
- This product is not intended for use by persons (including children) suffering from diminished physical, sensory or mental abilities; lack of experience, knowledge or skills unless they are supervised by a person responsible for their safety. Children should never be left alone with this product.
Soft Start Feature
The soft start feature allows the tool to accelerate slowly, thus preventing the drill bit from walking off the intended hole position when starting. The soft start feature also reduces the immediate torque reaction transmitted to the gearing and the operator if the hammer is started with the drill bit in an existing hole.
Active Vibration Control (AVC) System (Fig. A)
For best vibration control, hold the tool as described in Proper Hand Position and apply just enough pressure so the damping device on the main handle is approximately mid stroke. The active vibration control neutralises rebound vibration from the hammer mechanism. Lowering hand and arm vibration, it allows more comfortable use for longer periods of time and extends the life of the unit. The hammer only needs enough pressure to engage the active vibration control. Applying too much pressure will not make the tool drill or chip faster and active vibration control will not engage.
DeWALT Tool Tag Ready (Fig. A)
Optional Accessory
Your hammer comes with mounting holes 13 and fasteners for installing a DeWALT Tool Tag. You will need a T15 bit tip to install the tag.
WARNING: Use only original fasteners. Longer screws increase the risk of electrical shock or damage to the tool. The DeWALT Tool Tag is designed for tracking and locating professional power tools, equipment, and machines using the DeWALT Tool Connect™ app. For proper installation of the DeWALT Tool Tag refer to the DeWALT Tool Tag manual.
Electronic Speed and Impact Control (Fig. A)
The electronic speed and impact control allows the use of smaller drill bits without the risk of bit breakage, hammerdrilling into light and brittle materials without shattering and optimal tool control for precise chiseling. To set the electronic speed and impact control dial 10 , turn the dial to the desired level. The higher the number, the greater the speed and impact energy. Dial settings make the tool extremely flexible and adaptable for many different applications. The required setting depends on the bit size and hardness of material being drilled or chiselled.
- When chiselling or drilling in soft, brittle materials or when minimum break‑out is required, set the dial to a low setting;
- When breaking or drilling in harder materials, set the dial to a high setting.
Overload Clutch
In case of jamming of a drill bit, the drive to the drill spindle is interrupted by the overload clutch. Due to the resulting forces, always hold the tool with both hands and take a firm stance. After the overload, release and depress the trigger to re‑engage drive.
WARNING: Drill may stall if overloaded causing a sudden twist. Always expect the stall. Grip the drill firmly to control the twisting action and avoid injury.
Anti-Rotation System
In addition to the clutch, an anti-rotation system offers increased user comfort through an on-board, anti-rotation technology capable of detecting if the user loses control of the hammer. When a jam is detected, the torque and speed are stopped instantly. This feature prevents self rotation of the tool. The red anti-rotation system indicator 11 will illuminate to indicate status.
Anti-Rotation System and Service Indicator LED (Fig. A)
Your rotary hammer has two LEDs, indicating the anti-rotation system and a service indicator. Refer to the table for more information on LED functionality.
ASSEMBLY AND ADJUSTMENTS
- WARNING: To reduce the risk of serious personal injury, turn tool off and disconnect battery pack before making any adjustments or removing/ installing attachments or accessories. An accidental
start‑up can cause injury. - WARNING: Use only DeWALT batteries and chargers.
Inserting and Removing the Battery Pack from the Tool (Fig. B)
NOTE: Make sure your battery pack 9 is fully charged.
- To Install the Battery Pack into the Tool Handle
- Align the battery pack with the rails inside the tool’s handle (Fig. B).
- Slide it into the handle until the battery pack is firmly seated in the tool and ensure that you hear the lock snap into place.
- To Remove the Battery Pack from the Tool
- Press the battery release button 9 and firmly pull the battery pack out of the tool handle.
- Insert battery pack into the charger as described in the charger section of this manual.
Fuel Gauge Battery Packs (Fig. B)
Some DeWALT battery packs include a fuel gauge, which consists of three green LED lights that indicate the level of charge remaining in the battery pack. To actuate the fuel gauge, press and hold the fuel gauge button 15 . A combination of the three green LED lights will illuminate, designating the level of charge left. When the level of charge in the battery is below the usable limit, the fuel gauge will not illuminate and the battery will need to be recharged.
NOTE: The fuel gauge is only an indication of the charge left on the battery pack. It does not indicate tool functionality and is subject to variation based on product components, temperature and end‑user application.
Side Handle (Fig. A, C)
WARNING: To reduce the risk of personal injury, ALWAYS operate the tool with the side handle properly installed. Failure to do so may result in the side handle slipping during tool operation and subsequent loss of control. Hold tool with both hands to maximize control. The side handle 2 clamps to the front of the gear case and may be rotated 360˚ to permit right- or left‑hand use.
Mounting the Straight Side Handle (Fig. C)
- Widen the ring opening of the side handle 2 by rotating it anti‑clockwise.
- Slide the assembly onto the nose of the tool, through the steel ring 16 and onto the collar 3 , past the chisel holder and sleeve.
- Rotate the side handle assembly to the desired position. For hammerdrilling horizontally with a heavy drill bit, place the side handle assembly at an angle of approximately 20 ° to the tool for optimum control.
- Lock the side handle mounting assembly in place by securely tightening the handle 2 rotating it clockwise so that the assembly will not rotate.
Bit and Bit Holder
WARNING: Burn Hazard. ALWAYS wear gloves when changing bits. Accessible metal parts on the tool and bits may get extremely hot during operation. Small bits of broken material may damage bare hands. The rotary hammer can be fitted with various drill and chisel bits depending on the desired application. Use sharp drill and chisel bits only.
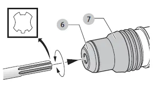
Inserting and Removing SDS max® Accessories (Fig. F)
This machine uses SDS max® bits and chisels (refer to the inset in Figure F for a cross‑section of an SDS max® bit shank).
- Clean the bit shank.
- Pull back the locking sleeve 7 and insert the bit shank.
- Release the locking sleeve and turn the bit slightly until the sleeve snaps into position.
- Pull on the bit to check if it is properly locked. The hammering function requires the bit to be able to move axially several centimetres when locked in the bit holder.
- To remove a bit pull back the bit holder locking sleeve/ collar 7 and pull the bit out of the bit holder 6.
OPERATION
Instructions for Use
- WARNING: Always observe the safety instructions and applicable regulations.
- WARNING: To reduce the risk of serious personal injury, turn tool off and disconnect battery pack before making any adjustments or removing/ installing attachments or accessories. An accidental start‑up can cause injury.
Proper Hand Position (Fig. A, E)
- WARNING: To reduce the risk of serious personal injury, ALWAYS use proper hand position as shown.
- WARNING: To reduce the risk of serious personal injury, ALWAYS hold securely in anticipation of a sudden reaction. Proper hand position requires one hand on the side handle 2 , with the other hand on the main handle 5 .
Operation Modes (Fig. A)
- WARNING: Do not select the operating mode when the tool is running.
- CAUTION: Never use in Rotary Drilling or Rotary Hammering mode with a chisel bit in the bit holder. Personal injury and damage to the the tool may result. Your tool is equipped with a mode selector dial 4 to select the mode appropriate to desired operation.

To Select an Operating Mode
- Rotate the mode selector switch so that the arrow points to the symbol corresponding for the desired mode.
NOTE: The arrow on the mode selector switch 4 must be pointing at a mode symbol at all times. There are no operable positions in between. It may be necessary to briefly run the motor after having changed from ‘hammering only’ to ‘rotary’ modes in order to align the gears.
Indexing the Chisel Position (Fig. A)
The chisel can be indexed and locked into 18 different positions.
- Rotate the mode selector switch 4 until it points towards the position.
- Rotate the chisel to the desired position.
- Set the mode selector switch 4 to the “hammering only” position.
- Twist the chisel until it locks in position
Performing an Application (Fig. A)
WARNING: TO REDUCE THE RISK OF PERSONAL INJURY, ALWAYS ensure the workpiece is anchored or clamped firmly. If drilling thin material, use a wood “backup” block to prevent damage to the material.
Switching On and Off (Fig. A)
To turn the tool on, depress the trigger switch 1 . To stop the tool, release the trigger switch.
Drilling with a Solid Bit (Fig. A)
- Insert the appropriate drill bit.
- Set the mode selector switch 4 to the hammer drilling position.
- Set the electronic speed and impact control dial 10.
- Fit and adjust the side handle 2 .
- Mark the spot where the hole is to be drilled.
- Place the drill bit on the spot and switch on the tool.
- Always switch off the tool when work is finished and before unplugging.
Drilling with a Core Bit (Fig. A, B)
- Insert the appropriate core bit.
- Assemble the center drill into the core bit.
- Set the mode selector switch 4 to the rotary hammer drilling position.
- Turn the electronic speed and impact control dial 10 to a medium or high speed setting.
- Fit and adjust the side handle 2 .
- Place the center drill on the spot and switch on the tool. Drill until the core penetrates into the concrete approximately 1 cm.
- Stop the tool and remove the center drill. Place the core bit back into the hole and continue drilling.
- When drilling through a structure thicker than the depth of the core bit, break away the round cylinder of concrete or core inside the bit at regular intervals. To avoid unwanted breaking away of concrete around the hole, first drill a hole the diameter of the center drill completely through the structure. Then drill the cored hole halfway from each side.
- Always turn the tool off when work is finished and before unplugging.
Chipping and Chiselling (Fig. A, B)
- Insert the appropriate chisel and rotate it by hand to lock it into one of 24 positions. Refer to Indexing the Chisel Position.
- Set the mode selector switch 4 to the ‘hammering only’ position.
- Set the electronic speed and impact control dial 10 .
- Fit and adjust the side handle 2 .
- Turn the tool on and start working.
- Always turn the tool off when work is finished and before unplugging.
Recommendations for Tool Operation
- When drilling, always apply pressure in a straight line with the bit, but do not push hard enough to stall the motor or deflect the bit. A smooth even flow of material indicates the proper drilling rate.
- If drilling thin material or material that is prone to splinter, use a wood “back‑up” block to prevent damage to the work piece.
WARNING:
- Do not use this tool to mix or pump easily combustible or explosive fluids (benzine, alcohol, etc.).
- Do not mix or stir inflammable liquids labelled accordingly.
Wireless Tool Control (Fig. A)
CAUTION: Read all saftey warnings, instruction and specifications of the appliance which is paired with the hammer. Your hammer is equipped with a Wireless Tool Control transmitter which allows your hammer to be wirelessly paired with another Wireless Tool Control device, such as a dust extractor.
To pair your hammer using Wireless Tool Control, press and hold the trigger switch 1 on the hammer and the Wireless Tool Control pairing button on the seperate device. An LED on the seperate device will let you know when your hammer has been successfully paired.
MAINTENANCE
Your power tool has been designed to operate over a long period of time with a minimum of maintenance. Continuous satisfactory operation depends upon proper tool care and regular cleaning.
WARNING: To reduce the risk of serious personal injury, turn tool off and disconnect battery pack before making any adjustments or removing/ installing attachments or accessories. An accidental start‑up can cause injury.
The charger and battery pack are not serviceable.
Lubrication
Your power tool requires no additional lubrication.
Cleaning
- WARNING: Electrical shock and mechanical hazard. Disconnect the electrical appliance from the power source before cleaning.
- WARNING: To ensure safe and efficient operation, always keep the electrical appliance and the ventilation slots clean.
- WARNING: Never use solvents or other harsh chemicals for cleaning the non‑metallic parts of the tool. These chemicals may weaken the materials used in these parts. Use a cloth dampened only with water and mild soap. Never let any liquid get inside the tool; never immerse any part of the tool into a liquid.
Ventilation slots can be cleaned using a dry, soft non‑metallic brush and/or a suitable vacuum cleaner. Do not use water or any cleaning solutions. Wear approved eye protection and an approved dust mask.
Optional Accessories
WARNING: Since accessories, other than those offered by DeWALT, have not been tested with this product, use of such accessories with this tool could be hazardous. To reduce the risk of injury, only DeWALT‑recommended accessories should be used with this product. Consult your dealer for further information on the appropriate accessories.
Dust Extraction System (Fig. F)
The use of a dust extraction system is recommended to reduce potentially harmful airborne dust and to prolong tool and accessory life. Consult your dealer for further information on suitable dust extraction systems.
Protecting the Environment
Separate collection. Products and batteries marked with this symbol must not be disposed of with normal household waste. Products and batteries contain materials that can be recovered or recycled, reducing the demand for raw materials. Please recycle electrical products and batteries according to local provisions. Further information is available at www.2helpU.com.
Rechargeable Battery Pack
This long‑life battery pack must be recharged when it fails to produce sufficient power on jobs that were easily done before. At the end of its technical life, discard it with due care for our environment:
- Run the battery pack down completely, then remove it from the tool.
- Li‑Ion cells are recyclable. Take them to your dealer or a local recycling station. The collected battery packs will be recycled or disposed of properly.
SDS plus® and SDS max® are registered trademarks of Robert Bosch GmbH.
Ireland
DeWALT Building 4500, Kinsale Road
Cork Airport Business Park
Cork, Ireland
Tel: 00353‑2781800
Fax: 01278 1811
www.dewalt.ie
[email protected]
Nederlands
DeWALT Netherlands BVPostbus 83,
6120 AB BORN
Tel: 31 164 283 063
Fax: 31 164 283 200
www.dewalt.nl
United Kingdom
DeWALT, 270 Bath Road; Slough, Berks SL1 4DX
Tel: 01753‑567055
Fax: 01753‑572112
www.dewalt.co.uk
[email protected]
Australia / New Zealand
DeWALT 810 Whitehorse Road Box Hill
VIC 3128 Australia
Tel: Aust 1800 654 155
Tel: NZ 0800 339 258
www.dewalt.com.au
www.dewalt.co.nz
Middle East Africa
DeWALT P.O. Box – 17164,
Jebel Ali Free Zone (South), Dubai, UAE
Tel: 971 4 812 7400
Fax: 971 4 2822765
www.dewalt.ae
[email protected]
References
2helpU
Power Tools | Storage | Landscaping | DEWALT
Elektrowerkzeuge | Aufbewahrung | Landschaftsbau | DEWALT Deutschland
Elektrisch gereedschap | Opbergsystemen | Landscaping | DEWALT
Elektrowerkzeuge | Aufbewahrung | Landschaftsbau | DEWALT
Power Tools | Storage | Landscaping | DEWALT
Power Tools | Storage | Landscaping | DEWALT
Power Tools | Storage | Landscaping | DEWALT
Elektrikli Aletleri | Depolama |Çevre Düzenleme | DEWALT
Elektrowerkzeuge | Aufbewahrung | Landschaftsbau | DEWALT Deutschland
Elværktøj | Opbevaring | Landskabspleje | DEWALT Denmark
Herramientas Eléctricas | Almacenamiento | Jardinería | DEWALT España
Sähkötyökalut | Säilytys | Maisemointi | DEWALT SUOMI
Outils électroportatifs | Rangement | Jardin | DEWALT
Ηλεκτρικά εργαλεία | Αποθήκευση | Διαμόρφωση τοπίου | DEWALT
Power Tools | Storage | Landscaping | DEWALT
Elettroutensili | Storage | Giardinaggio | DEWALT Italia
Elektrisch gereedschap | Opbergsystemen | Landscaping | DEWALT
Elektroverktøy | Oppbevaring | Landskapspleie | DEWALT Norge
Ferramentas Elétricas | Armazenamento | Paisagismo | DEWALT PORTUGAL
Elverktyg | Förvaring | Trädgårdsmaskiner | DEWALT Sverige






















