HILTI TE 4-22 Cordless SDS Rotary Hammer

Original operating instructions
Information about the documentation
About this documentation
- Read this documentation before initial operation or use. This is a prerequisite for safe, trouble-free handling and use of the product.
- Observe the safety instructions and warnings in this documentation and on the product.
- Always keep the operating instructions with the product and make sure that the operating instructions are with the product when it is given to other persons.
Explanation of symbols
Warnings
Warnings alert persons to hazards that occur when handling or using the product. The following signal words are used:
DANGER!
- Draws attention to imminent danger that will lead to serious personal injury or fatality.
WARNING!
- Draws attention to a potential threat of danger that can lead to serious injury or fatality.
CAUTION!
- Draws attention to a potentially dangerous situation that could lead to personal injury or damage to the equipment or other property.
Symbols in the operating instructions
The following symbols are used in these operating instructions:

Symbols in illustrations
The following symbols are used in illustrations:
Product-dependent symbols
Symbols on the product
The following symbols can be used on the product:
Product information
products are designed for professional users and only trained, authorized personnel are permitted to operate, service and maintain the products. This personnel must be specifically informed about the possible hazards. The product and its ancillary equipment can present hazards if used incorrectly by untrained personnel or if used not in accordance with the intended use. The type designation and serial number are printed on the rating plate.
- Write down the serial number in the table below. You will be required to state the product details when contacting Hilti Service or your local Hilti organization to inquire about the product.
Product information
| Rotary hammer SDSPlus | TE 4-22 |
| Generation | 03 |
| Serial no. |
Declaration of conformity
The manufacturer declares, on his sole responsibility, that the product described here complies with the applicable legislation and standards. A copy of the declaration of conformity can be found at the end of this documentation. The technical documentation is filed here: Hilti Entwicklungsgesellschaft mbH | Tool Certification | Hiltistrasse 6 | D-86916 Kaufering, Germany
Safety
General power tool safety warnings
WARNING Read all safety warnings, instructions, illustrations and specifications provided with this power tool. Failure to follow all instructions listed below may result in electric shock, fire and/or serious injury.
Save all warnings and instructions for future reference.
The term “power tool” in the warnings refers to your mains-operated (corded) power tool or battery-operated (cordless) power tool.
Work area safety
- Keep work area clean and well lit. Cluttered or dark areas invite accidents.
- Do not operate power tools in explosive atmospheres, such as in the presence of flammable liquids, gases or dust. Power tools create sparks which may ignite the dust or fumes.
- Keep children and bystanders away while operating a power tool. Distractions can cause you to lose control.
Electrical safety
- Power tool plugs must match the outlet. Never modify the plug in any way. Do not use any adapter plugs with earthed (grounded) power tools. Unmodified plugs and matching outlets will reduce risk of electric shock.
- Avoid body contact with earthed or grounded surfaces, such as pipes, radiators, ranges and refrigerators. There is an increased risk of electric shock if your body is earthed or grounded.
- Do not expose power tools to rain or wet conditions. Water entering a power tool will increase the risk of electric shock.
- Do not abuse the cord. Never use the cord for carrying, pulling or unplugging the power tool. Keep cord away from heat, oil, sharp edges or moving parts. Damaged or entangled cords increase the risk of electric shock.
- When operating a power tool outdoors, use an extension cord suitable for outdoor use. Use of a cord suitable for outdoor use reduces the risk of electric shock.
- If operating a power tool in a damp location is unavoidable, use a residual current device (RCD) protected supply. Use of an RCD reduces the risk of electric shock.
Personal safety
- Stay alert, watch what you are doing and use common sense when operating a power tool. Do not use a power tool while you are tired or under the influence of drugs, alcohol or medication. A moment of inattention while operating power tools may result in serious personal injury.
- Use personal protective equipment. Always wear eye protection. Protective equipment such as a dust mask, non-skid safety shoes, hard hat or hearing protection used for appropriate conditions will reduce personal injuries.
- Prevent unintentional starting. Ensure the switch is in the off-position before connecting to power source and/or battery pack, picking up or carrying the tool. Carrying power tools with your finger on the switch or energising power tools that have the switch on invites accidents.
- Remove any adjusting key or wrench before turning the power tool on. A wrench or a key left attached to a rotating part of the power tool may result in personal injury.
- Do not overreach. Keep proper footing and balance at all times. This enables better control of the power tool in unexpected situations.
- Dress properly. Do not wear loose clothing or jewellery. Keep your hair and clothing away from moving parts. Loose clothes, jewellery or long hair can be caught in moving parts.
- If devices are provided for the connection of dust extraction and collection facilities, ensure these are connected and properly used. Use of dust collection can reduce dust-related hazards.
- Do not let familiarity gained from frequent use of tools allow you to become complacent and ignore tool safety principles. A careless action can cause severe injury within a fraction of a second.
Power tool use and care
- Do not force the power tool. Use the correct power tool for your application. The correct power tool will do the job better and safer at the rate for which it was designed.
- Do not use the power tool if the switch does not turn it on and off. Any power tool that cannot be controlled with the switch is dangerous and must be repaired.
- Disconnect the plug from the power source and/or remove the battery pack, if detachable, from the power tool before making any adjustments, changing accessories, or storing power tools. Such preventive safety measures reduce the risk of starting the power tool accidentally.
- Store idle power tools out of the reach of children and do not allow persons unfamiliar with the power tool or these instructions to operate the power tool. Power tools are dangerous in the hands of untrained users.
- Maintain power tools and accessories. Check for misalignment or binding of moving parts, breakage of parts and any other condition that may affect the power tool’s operation. If damaged, have the power tool repaired before use. Many accidents are caused by poorly maintained power tools.
- Keep cutting tools sharp and clean. Properly maintained cutting tools with sharp cutting edges are less likely to bind and are easier to control.
- Use the power tool, accessories and tool bits etc. in accordance with these instructions, taking into account the working conditions and the work to be performed. Use of the power tool for operations different from those intended could result in a hazardous situation.
- Keep handles and grasping surfaces dry, clean and free from oil and grease. Slippery handles and grasping surfaces do not allow for safe handling and control of the tool in unexpected situations.
Battery tool use and care
- Recharge only with the charger specified by the manufacturer. A charger that is suitable for one type of battery pack may create a risk of fire when used with another battery pack.
- Use power tools only with specifically designated battery packs. Use of any other battery packs may create a risk of injury and fire.
- When battery pack is not in use, keep it away from other metal objects, like paper clips, coins, keys, nails, screws or other small metal objects, that can make a connection from one terminal to another. Shorting the battery terminals together may cause burns or a fire.
- Under abusive conditions, liquid may be ejected from the battery; avoid contact. If contact accidentally occurs, flush with water. If liquid contacts eyes, additionally seek medical help. Liquid ejected from the battery may cause irritation or burns.
- Do not use a battery pack or tool that is damaged or modified. Damaged or modified batteries may exhibit unpredictable behaviour resulting in fire, explosion or risk of injury.
- Do not expose a battery pack or tool to fire or excessive temperature. Exposure to fire or temperature above 130° C (265 °F) may cause explosion.
- Follow all charging instructions and do not charge the battery pack or tool outside the temperature range specified in the instructions. Charging improperly or at temperatures outside the specified range may damage the battery and increase the risk of fire.
Service
- Have your power tool serviced by a qualified repair person using only identical replacement parts. This will ensure that the safety of the power tool is maintained.
- Never service damaged battery packs. Service of battery packs should only be performed by the manufacturer or authorized service providers.
Hammer safety warnings
Safety instructions for all operations
- Wear ear protectors. Exposure to noise can cause hearing loss.
- Use auxiliary handle(s), if supplied with the tool. Loss of control can cause personal injury.
- Hold the power tool by insulated gripping surfaces, when performing an operation where the cutting accessory may contact hidden wiring. Cutting accessory contacting a “live” wire may make exposed metal parts of the power tool “live” and could give the operator an electric shock.
Additional safety instructions
Personal safety
- Use the product and accessories only when they are in perfect working order.
- Never tamper with or modify the product or accessories in any way.
- Wear protective gloves when changing accessory tools, because the accessory tool and the chuck get hot during use.
- In accordance with the applications for which it is designed, the product produces a high torque. Always hold the tool with both hands on the grips provided. The user must be prepared for sudden sticking and stalling of the accessory tool.
- Check that the side handle is fitted correctly and tightened securely. Always grip the side handle at its outermost end.
- Working on the material may cause it to splinter. Flying fragments present a risk of injury to the eyes and body. Wear eye protection, a hard hat and ear protection while the product is in use. In addition, wear light respiratory protection if you are not using a dust extractor.
- Apply appropriate safety measures at the opposite side of the workpiece in work that involves breaking through. Parts breaking away could fall out and / or fall down causing injury to other persons.
- When chiseling into ceilings, walls and floors, always make sure that you have a safe and firm stance. A sudden break-through can affect your balance.
- Do not touch rotating parts – risk of injury!
- Keep the air vents clear at all times. Risk of burn injuries due to blocked air vents!
- Switch the product on only after you have brought it to the working position.
- Do not work in an environment heavily contaminated with dust.
- Dust produced by grinding, sanding, cutting and drilling can contain dangerous chemicals. Some examples are: lead or lead-based paints; brick, concrete and other masonry products, natural stone and other products containing silicates; certain types of wood, such as oak, beech and chemically treated wood; asbestos or materials that contain asbestos. Determine the exposure of the operator and bystanders by means of the hazard classification of the materials to be worked. Implement the necessary measures to restrict exposure to a safe level, for example by the use of a dust collection system or by the wearing of suitable respiratory protection. The general measures for reducing exposure include:
- working in an area that is well ventilated,
- avoidance of prolonged contact with dust,
- directing dust away from the face and body,
- wearing protective clothing and washing exposed areas of the skin with water and soap.
- Take frequent breaks and do physical exercises to improve the blood circulation in your fingers. High vibration during long periods of work can lead to disorders of the blood vessels and nervous system in the fingers, hands and wrists.
- Do not look directly into the light source (LEDs) of the power tool and do not aim the beam at other persons’ faces. Risk of dazzling or eye damage.
- Prevent ingress of moisture. A short circuit caused by moisture can result in fire or burn injuries.
- Risk of injury by falling tools and/or accessories. Before starting work, check that the battery and installed accessories are secure.
- Do not attach a belt hook to this product.
Electrical safety
- Before beginning work, check the working area for concealed electric cables or gas and water pipes. External metal parts of the product could give you an electric shock or cause an explosion if you accidentally damage an electric cable or a gas or water pipe.
Power tool use and care
- Switch the product off immediately if the accessory tool jams. The product might twist off-line.
- Wait until the product stops completely before you lay it down.
Battery use and care
- Comply with the following safety instructions for the safe handling and use of Li-ion batteries. Failure to comply can lead to skin irritation, severe corrosive injury, chemical burns, fire and/or explosion.
- Use only batteries that are in perfect working order.
- Treat batteries with care in order to avoid damage and prevent leakage of fluids that are extremely harmful to health!
- Do not under any circumstances modify or tamper with batteries!
- Do not disassemble, crush or incinerate batteries and do not subject them to temperatures over 80 °C (176 °F).
- Never use or charge a battery that has suffered an impact or been damaged in any other way. Check your batteries regularly for signs of damage.
- Never use recycled or repaired batteries.
- Never use the battery or a battery-operated power tool as a striking tool.
- Never expose batteries to the direct rays of the sun, elevated temperature, sparking, or open flame. This can lead to explosions.
- Do not touch the battery poles with your fingers, tools, jewelry, or other electrically conductive objects. This can damage the battery and also cause material damage and personal injury.
- Keep batteries away from rain, moisture and liquids. Penetrating moisture can cause short circuits, electric shock, burns, fire and explosions.
- Use only chargers and power tools approved for the specific battery type. Read and follow the relevant operating instructions.
- Do not use or store the battery in explosive environments.
- If the battery is too hot to touch, it may be defective. Put the battery in a place where it is clearly visible and where there is no risk of fire, at an adequate distance from flammable materials. Allow the battery to cool down. If it is still too hot to touch after an hour, the battery is faulty. Consult Hilti Service or read the document entitled “Instructions on safety and use for Hilti Li-ion batteries”.
Description
Product overview 
- Dust cap
- Chuck (blade holder)
- Connection for the dust collection module
- Function selector switch
- Depth gauge
- Forward/reverse switch with transport lock
- Control switch
- Grip
- Installation opening for accessories
- Battery
- Battery release button
- Battery status indicator
- Connection for the TE DRS4⁄ (01) dust removal module
- Side handle
- LED lighting
Intended use
The product described is a cordless SDSPlus rotary hammer drill. It is designed for hammer drilling in concrete and masonry, for drilling in steel, wood and masonry and for driving and removing screws.
- For this product, use only Hilti Nuron lithium-ion batteries of the B 22 series. For optimum performance, Hilti recommends the batteries stated in the table at the end of these operating instructions for this product.
- For these batteries, use only Hilti chargers of the type series stated in the table at the end of these operating instructions.
Items supplied
SDS-plus a rotary hammer drill, side handle, grease, depth gauge, operating instructions. The TE DRS-4⁄6 (01) dust removal module greatly reduces dust emissions and is available as an accessory. Other system products approved for use with this product can be found at your local Hilti Store or at: www.Hilti.group
ATC
The product is equipped with the ATC (Active Torque Control) quick-acting electronic cut-out. If the accessory tool sticks or stalls, the product will suddenly pivot about its own axis in the opposite direction. ATC detects this sudden pivoting movement of the product and switches the product off immediately.
Motor protection system
The tool is equipped with a motor protection system. It monitors current consumption and motor temperature and prevents the product from overheating. If the motor is overloaded through application of excessive working pressure, the product’s performancedrops noticeably or it might stall completely. If the power tool stalls or slows significantly due to overloading, release the pressure applied to the product and then allow it to run under no load for approx. 30 seconds.
Status indicators of the Liion battery
Hilti Nuron Li-ion batteries can indicate the state of charge, fault messages, and the battery’s state of health.
Indicators for state of charge and fault messages
Risk of injury by a falling battery!
- If the release button is pressed with a battery inserted in the product, subsequently check that the battery is correctly re-engaged and secure.
Short-press the release button of the battery to get whichever of the following status indications is applicable at the time. State of charge and, if applicable, faults are indicated constantly as long as the connected product is switched on.
| Status | Meaning |
| Four (4) LEDs show constantly green | State of charge: 100 % to 71 % |
| Three (3) LEDs show constantly green | State of charge: 70 % to 51 % |
| Two (2) LEDs show constantly green | State of charge: 50 % to 26 % |
| One (1) LED shows constantly green | State of charge: 25 % to 10 % |
| One (1) LED slow-flashes green | State of charge: < 10 % |
| One (1) LED quick-flashes green | The Li-ion battery is completely discharged. Recharge the battery. If the LED again starts quick-flashing after the bat- tery has been charged, consult Hilti Service. |
| One (1) LED quick-flashes yellow | The Li-ion battery or the product in which it is in- serted is overloaded, too hot or too cold, or experi- encing some other fault. Bring the product and the battery to the recom- mended working temperature and do not overload the product when it is in use. If the message persists, consult Hilti Service. |
| One (1) LED shows yellow | The Li-ion battery and the product in which it is inserted are not compatible. Consult Hilti Service. |
| One (1) LED quick-flashes red | The Li-ion battery is locked and cannot be used. Consult Hilti Service. |
Indicators showing the battery’s state of health
To check the battery’s state of health, press the release button and hold it down for longer than three seconds. The system does not detect a potential malfunction of the battery due to misuse, for example battery dropped or pierced, external heat damage, etc.
| Status | Meaning |
| All LEDs show in sequence, followed by one (1) LED showing constantly green. | The battery can remain in use. |
| All LEDs show in sequence, followed by one (1) LED quick-flashing yellow. | The check to ascertain the battery’s state of health did not complete. Repeat the procedure, or consult Hilti Service. |
| All LEDs show in sequence, followed by one (1) LED showing constantly red. | If a connected product can still be used, the re- maining battery capacity is below 50 %. If a connected product can no longer be used, the battery has reached the end of its useful life and has to be replaced. Consult Hilti Service. |
Technical data
| Weight in accordance with EPTA Procedure 01, without battery | 2.45 kg |
| Single impact energy in accordance with EPTA procedure 05 | 2.3 J |
| Drilling diameter range in concrete/masonry (hammer drilling) | 4 mm … 28 mm |
| Ambient temperature for operation | −17 ℃ … 60 ℃ |
| Storage temperature | −20 ℃ … 70 ℃ |
Battery
| Battery operating voltage | 21.6 V |
| Weight, battery | See the end of these operating instructions |
| Ambient temperature for operation | −17 ℃ … 60 ℃ |
| Storage temperature | −20 ℃ … 40 ℃ |
| Battery charging starting temperature | −10 ℃ … 45 ℃ |
Noise information and vibration values in accordance with EN 60745
The sound pressure and vibration values given in these instructions were measured in accordance with a standardized test and can be used to compare one power tool with another. They can also be used for a preliminary assessment of exposure. The data given represents the main applications of the power tool. However, if the power tool is used for different applications, with different accessory tools, or is poorlymaintained, the data can vary. This can significantly increase exposure over the total working period. An accurate estimation of exposure should also take into account the times when the tool is switched off, orwhen it is running but not actually being used for a job. This can significantly reduce exposure over the total working period. Identify additional safety measures to protect the operator from the effects of noise and/or vibration, for example: Maintaining the power tool and accessory tools, keeping the hands warm, organization of work patterns.
Noise emission values
| TE 4-22 | TE 4-22 + TE DRS4⁄6 (01) | |
| Emission sound pressure level (LpA) | 88 dB(A) | 90.5 dB(A) |
| Uncertainty for the sound pressure level (KpA) | 3 dB(A) | 3 dB(A) |
| Sound power level (LWA) | 99 dB(A) | 101.5 dB(A) |
| Uncertainty for the sound power level (KWA) | 3 dB(A) | 3 dB(A) |
Total vibration
| TE 4-22 | TE 4-22 + TE DRS4⁄6 (01) | ||
| Hammer drilling in concrete (ah, HD) | B 2285 | 12.0 m/s² | 11.7 m/s² |
| B 22170 | 11.4 m/s² | 11.1 m/s² | |
| Uncertainty (K) | 1.5 m/s² | 1.5 m/s² | |
Preparations at the workplace
Risk of injury by inadvertent starting!
- Before inserting the battery, make sure that the product is switched off.
- Remove the battery before making any adjustments to the power tool or before changing accessories.
Observe the safety instructions and warnings in this documentation and on the product.
Charging the battery
- Before charging the battery, read the operating instructions for the charger.
- Make sure that the contacts on the battery and the contacts on the charger are clean and dry.
- Use an approved charger to charge the battery. → page 19
Inserting the battery
Risk of injury by short circuit or falling battery!
- Before inserting the battery, make sure that the contacts on the battery and the contacts on the product are free of foreign matter.
- Make sure that the battery always engages correctly.
- Charge the battery fully before using it for the first time.
- Push the battery into the product until it engages with an audible click.
- Check that the battery is seated securely.
Removing the battery
- Press the battery release button.
- Remove the battery from the product.
Fitting the side handle 2
- Release the side handle clamping band by turning the handle grip.
- Slide the side handle clamping band over the chuck from the front and into the recess provided.
- Bring the side handle into the desired position.
- Tighten the side handle clamping band by turning the handle grip.
Fitting the accessory tool 3
Apply a little grease to the connection end of the accessory tool. Use only the recommended grease supplied by Hilti. Using the wrong grease can result in damage to the product.
- Push the accessory tool into the chuck as far as it will go, turning it and applying light pressure until it engages with an audible click.
- After fitting the accessory tool, grip it and pull it in order to check that it is securely engaged.
- The product is ready for use.
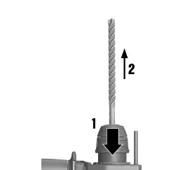
Removing the accessory tool 4 
Risk of injury by the accessory tool! The accessory tool might be hot or have sharp edges.
- Wear protective gloves when changing the accessory tool.
- Pull the accessory tool retaining bar back as far as it will go.
- Remove the accessory tool.
Fitting and adjusting the depth gauge 5
- Press and hold down the release button on the side handle.
- Slide the depth gauge from the front into the opening provided in the side handle. Adjust the depth gauge to the desired drilling depth.
- Release the release button.
- The depth gauge is locked.
Fall arrest
Risk of injury by falling tool and/or accessory!
- Use only the Hilti tool tether recommended for your product.
- Prior to each use, always check the attachment point of the tool tether for possible damage.
Comply with the national regulations for working at heights.
As drop arrester for this product, use only a combination of the Hilti retaining strap and the Hilti tool tether #2261970.
- Secure the retaining strap to the installation openings for accessories. Check that it holds securely.
- Secure one carabiner of the tool tether to the retaining strap and secure the second carabiner to a load-bearing structure. Check that both carabiners hold securely.
Comply with the operating instructions of the Hilti retaining strap and those of the Hilti tool tether.
Operation
Observe the safety instructions and warnings in this documentation and on the product.
Switching on and off
- To switch the product on, press the control switch.
- Speed can be controlled steplessly by varying how far the control switch is pressed in.
- To switch the product off, release the control switch.
Direction of rotation 6
- Set the direction of rotation.
- The selector switch engages in this position.
Function selector switch 7
Set the function selector switch to the desired function.
Risk of damage! Do not operate the function selector switch while the motor is running.
Drilling without hammer action
- Set the function selector switch to.
Hammer drilling
- Set the function selector switch to.
Optional accessories
TE DRS4⁄ 6 (01) dust removal module 8
The TE DRS4⁄ 6 (01) dust removal module is an accessory for the SDSPlus rotary hammer drill. It collects a high percentage of the dust generated and can be quickly and easily attached to the SDSPlus rotary hammer drill. The dust removal module has a built-in extractor fan. This fan is driven by its own motor. When the SDSPlus rotary hammer drill is switched on, the dust removal module draws its power from the battery of the SDSPlus rotary hammer drill. The dust removal module is not suitable for working on metal and wood.
Fitting the dust collection module for overhead work 9
- Insert the accessory tool. → page 22
- Slip the dust collection module over the chuck and engage it in the grooves in the housing of the SDSPlus rotary hammer drill.
- Turn the dust collection module counter-clockwise to lock it in position.
Care and maintenance
Risk of injury with battery inserted !
- Always remove the battery before carrying out care and maintenance tasks!
Care of the product
- Carefully remove stubborn dirt.
- Carefully clean the air vents, if present, with a dry, soft brush.
- Use only a slightly damp cloth to clean the housing. Do not use cleaning agents containing silicone as these can attack the plastic parts.
- Use a dry, clean cloth to clean the contacts of the product.
Care of the Li-ion batteries
- Never use a battery with clogged air vents. Clean the air vents carefully using a dry, soft brush.
- Avoid unnecessary exposure of the battery to dust and dirt. Never expose the battery to high levels of moisture (e.g. by being dipped in water or left in the rain). If a battery has been soaked by moisture, treat it as a damaged battery. Isolate it in a non-flammable container and consult Hilti Service.
- Keep the battery free of extraneous oil and grease. Do not permit dust or dirt to accumulate unnecessarily on the battery. Clean the battery with a dry, soft brush or a clean, dry cloth. Do not use cleaning agents containing silicone as these can attack the plastic parts. Do not touch the contacts of the battery and do not remove the factory-applied grease from the contacts.
- Use only a slightly damp cloth to clean the housing. Do not use cleaning agents containing silicone as
these can attack the plastic parts.
Maintenance
- Check all visible parts and controls for signs of damage at regular intervals and make sure that they all function correctly.
- Do not use the product if signs of damage are found or if parts malfunction. Immediately have the product repaired by Hilti Service.
- After cleaning and maintenance, install all guards and protective devices and check that they are in full working order.
To help ensure safe and reliable operation, use only genuine Hilti spare parts and consumables. Spare parts, consumables and accessories approved by Hilti for use with your product can be found at your Hilti Store or online at: www.hilti.group
Cleaning the dust shield
- Clean the dust shield on the chuck with a dry, clean cloth at regular intervals.
- Clean the sealing lip by wiping it carefully and then grease it again lightly with Hilti grease.
- It is essential that the dust shield is replaced if the sealing lip is damaged.
Transport and storage of cordless tools and batteries
Transport
CAUTION
Accidental starting during transport!
- Always transport your products with the batteries removed!
- Remove the battery/batteries.
- Never transport batteries loose and unprotected. During transport, batteries should be protected from excessive shock and vibration and isolated from any conductive materials or other batteries that may come in contact with the terminals and cause a short circuit. Comply with the locally applicable regulations for transporting batteries.
- Do not send batteries through the mail. Consult your shipper for instructions on how to ship undamaged batteries.
- Prior to each use and before and after prolonged transport, check the product and the batteries for damage.
Storage
Accidental damage caused by defective or leaking batteries!
- Always store your products with the batteries removed!
- Store the product and the batteries in a cool and dry place. Comply with the temperature limits stated in the technical data.
- Do not store batteries on the charger. Always remove the battery from the charger when the charging operation has completed.
- Never leave batteries in direct sunlight, on sources of heat, or behind glass.
- Store the product and batteries where they cannot be accessed by children or unauthorized persons.
- Prior to each use and before and after prolonged storage, check the product and the batteries for damage.
Troubleshooting
If a problem occurs, always observe the charge status and fault indicator of the battery. See the section headed Status indicators of the Liion battery. If the trouble you are experiencing is not listed in this table or you are unable to rectify the problem by yourself, contact Hilti Service
Disposal
Risk of injury due to incorrect disposal! Health hazards due to escaping gases or liquids.
- DO NOT send batteries through the mail!
- Cover the terminals with a non-conductive material (such as electrical tape) to prevent short circuiting.
- Dispose of your battery out of the reach of children.
- Dispose of the battery at your Hilti Store, or consult your local governmental garbage disposal or public health and safety resources for disposal instructions.
Most of the materials from which Hilti products are manufactured can be recycled. The materials must be correctly separated before they can be recycled. In many countries, your old tools, machines or appliances can be returned to Hilti for recycling. Ask Hilti Service or your Hilti sales representative for further information.
- Do not dispose of power tools, electronic equipment or batteries as household waste!
Manufacturer’s warranty
- Please contact your local Hilti representative if you have questions about the warranty conditions.
Further information
For more information on operation, technology, environment, and recycling, follow this link: qr.hilti.com/manual?id=2265062&id=2265064 This link is also to be found at the end of the documentation, in the form of a QR code.



















