ETNA KKV143 Freestanding Cabinet Model Refrigerators

Introduction
Congratulations on choosing this Etna refrigerator. This product is designed with simple operation and optimum comfort in mind.
These instructions for use explain how you can make best use of this appliance. These instructions contain information about the operation of the appliance and background information that may be of help to you during its use.
Read the safety instructions before using the appliance!
Read these instructions thoroughly before you first use the appliance, and keep the instructions for future use.
You can find the most recent version of the instructions for use on our website.
Link to the EU EPREL database
The QR code on the energy label supplied with the appliance provides a web link to the registration of this appliance in the EU EPREL database. Keep the energy label for reference together with the user manual and all other documents provided with this appliance. It is possible to find information related to the performance of the product in the EU EPREL database using the link https://eprel.ec.europa.eu and the model name and product number that you can find on the rating plate of the appliance.
For more detailed information about the energy label, visit www.theenergylabel.eu.
SAFETY INSTRUCTIONS
Before the installation and use of the appliance, carefully read the supplied instructions. The manufacturer is not responsible if an incorrect installation and use causes injuries and damages.
Always keep the instructions with the appliance for future reference.
Safety of children and vulnerable people
- The appliance is not intended for use by persons (including children) with reduced physical, sensory or mental capabilities, or lack of experience and knowledge, unless they have been given supervision or instruction concerning use of the appliance by a person responsible for their safety.
- Children should be supervised to ensure that they do not play with the appliance.
- Cleaning and user maintenance shall not be made by children without supervision.
- Keep all packaging away from children.
For European markets only
- This appliance can be used by children aged from 8 years and above and persons with reduced physical, sensory or mental capabilities or lack of experience and knowledge if they have been given supervision or instruction concerning use of the appliance in a safe way and understand the hazards involved.
- Children shall not play with the appliance.
- Cleaning and user maintenance shall not be made by children without supervision.
- Children aged from 3 to 8 years are allowed to load and unload refrigerating appliances.
General safety
- The lamp in this household appliance is only suitable for illumination of this appliance. The lamp is not suitable for household room illumination.
- WARNING! This appliance is intended to be used in household and similar applications such as
- staff kitchen areas in shops, offices and other working environments;
- farm houses and by clients in hotels, motels and other residential type environments;
- bed and breakfast type environments;
- catering and similar non-retail applications.
- WARNING! Keep ventilation openings, in the appliance enclosure or in the built-in structure, clear of obstruction.
- WARNING! Do not use mechanical devices or other means to accelerate the defrosting process, other than those recommended by the manufacturer.
- WARNING! Do not damage the refrigerant circuit.
- WARNING! Do not use electrical appliances inside the food storage compartments of the appliance, unless they are of the type recommended by the manufacturer.
- WARNING! Do not use water spray and steam to clean the appliance.
- WARNING! Clean the appliance with a moist soft cloth. Only use neutral detergents. Do not use abrasive products, abrasive cleaning pads, solvents or metal objects.
- WARNING! Do not store explosive substances such as aerosol cans with a flammable propellant in this appliance.
- WARNING! If the supply cord is damaged, it must be replaced by the manufacturer, its service agent or similarly qualified persons in order to avoid a hazard.
Installation
- WARNING! This appliance should only be connected by a registered installer.
- Remove all the packaging.
- Do not install or use a damaged appliance.
- Obey the installation instruction supplied with the appliance.
- Always be careful when you move the appliance because it is heavy. Always wear safety gloves.
- Make sure the air can circulate around the appliance.
- Wait at least 4 hours before connecting the appliance to the power supply. This is to allow the oil to flow back in the compressor.
- Do not install the appliance close to radiators or cookers, oven or hobs.
- Do not install the appliance where there is direct sunlight.
- Do not install this appliance in areas that are too humid or too colds, such as the construction appendices, garages or wine cellars.
- When you move the appliance, lift it by the front edge to avoid scratching the floor.
- WARNING! When positioning the appliance, ensure the supply cord is not trapped or damaged.
Electrical connection
- WARNING! Risk of fire and electrical shock.
- The appliance must be earthed.
- All electrical connections should be made by a qualified electrician.
- Make sure that the electrical information on the rating plate agrees with the power supply. If not, contact an electrician.
- Always use a correctly installed shockproof socket.
- Do not use multi-plug adapters and extension cables.
- Make sure not to cause damage to the electrical components (e.g. mains plug, mains cable, compressor). Contact the Service or an electrician to change the electrical components.
- The mains cable must stay below the level of the mains plug.
- Connect the mains plug to the mains socket only at the end of the installation. Make sure that there is access to the mains plug after the installation.
- Do not pull the mains cable to disconnect the appliance. Always pull the mains plug.
- WARNING! Do not locate multiple portable socket outlets or portable power supplies at the rear of the appliance.
- If a stationary appliance is not fitted with a supply cord and a plug, or with other means for disconnection from the supply mains having a contact separation in all poles that provide full disconnection under overvoltage category III conditions, the means for disconnection must be incorporated in the fixed wiring in accordance with the wiring rules. This is also applicable for appliances with a supply cord and plug when the plug is not accessible after installing the appliance. Using an omnipolar switch with a contact separation of at least 3 mm fitted in the fixed wiring will fulfill this requirement.
Use
- WARNING! Risk of injury, burns, electrical shock or fire.
- Do not change the specification of this appliance.
- Do not put electrical appliances (e.g. ice cream makers) in the appliance unless they are stated applicable by the manufacturer.
- Be careful not to cause damage to the refrigerant circuit. It contains isobutene (R600a), a natural gas with a high level of environmental compatibility. This gas is flammable.
- If damage occurs to the refrigerant circuit, make sure that there are no flames and sources of ignition in the room. Ventilate the room.
- Do not let hot items to touch the plastic parts of the appliance.
- Do not store flammable gas and liquid in the appliance.
- Do not put flammable products or items that are wet with flammable products in, near or on the appliance.
- Do not touch the compressor or the condenser. They are hot.
Care and cleaning
- WARNING! Risk of injury or damage to the appliance.
- Before maintenance, deactivate the appliance and disconnect the mains plug from the mains socket.
- This appliance contains hydrocarbons in the cooling unit. Only a qualified person must do the maintenance and the recharging of the unit.
- Regularly examine the drain of the appliance and if necessary, clean it. If the drain is blocked, defrosted water collects in the bottom of the appliance.
Disposal
- WARNING! Risk of injury or suffocation
- Disconnect the appliance from the mains supply.
- Cut off the mains cable and discard it.
- Remove the door to prevent children and pets to be closed inside of the appliance.
- The refrigerant circuit and the insulation materials of this appliance are ozone friendly.
- The insulation foam contains flammable gas. Contact your municipal authority for information on how to discard the appliance correctly.
- Do not cause damage to the part of the cooling unit that is near the heat exchanger.
Before you use the appliance for the first time
Do not connect the appliance to the mains until you have carefully read the instructions for the correct and safe use of the appliance. As these instructions are for various types and models, it is possible that the instructions for use refer to settings or parts that are not available on your appliance. We recommend that you keep these instructions for future use. If you sell the appliance, enclose them with the appliance.
Inspect the appliance for damage and/or irregularities. If the appliance is damaged, contact the store that sold you the appliance. Allow the appliance to stand upright for at least 4 hours before you connect the appliance to the mains. This reduces the risk of malfunctions resulting from transport effects on the refrigerant unit. Before using the appliance for the first time, the interior and all internal accessories should be cleaned with lukewarm water and a neutral cleaning agent. Wipe the cleaned parts with a cloth with clean water and then dry them thoroughly.
If you use the appliance for the first time, do not put food into the appliance until the temperature has decreased to the set temperature.
Energy-saving advice
- Install the appliance as stated in the instructions for use.
- Do not open the door more than necessary.
- Never cover or obstruct the ventilation openings.
- Replace a door seal that is damaged or no longer seals properly as quickly as possible.
- Store food in well-sealed containers or suitable packaging.
- Allow food to cool to room temperature before you put it in the appliance.
- Defrost food in the refrigerator compartment.
- Defrost a conventional frozen compartment once a layer of about 2 to 3 millimetres of frost or ice has formed on the inside.
- Space the shelves evenly in the refrigerator compartment. Place the food so that the air can circulate freely in the appliance (follow the recommendations for the location of foods enclosed in the instructions).
- When the appliance is equipped with a fan then make sure that the ventilation openings are kept clear.
- The lower the set temperature, the higher the power consumption.
- High ambient temperatures have a negative effect on energy use. Keep the appliance in a position away from direct sunlight or other sources of heat.
- Make sure there is sufficient space around the appliance so a good ventilation and air flow around the appliance is possible.
- The condenser on the rear wall should always be clean, free of dust or any impurities.
INSTALLATION AND CONNECTION
Selecting the location
- This refrigerating appliance is not intended to be used as a built-in appliance.
- Do not place the appliance near a source of heat, such as a gas cooker, radiator or boiler, etc., and do not expose it to direct sunlight.
- Place the appliance in a dry and well aired room. The permitted ambient temperature range for the appliance depends on the appliance’s climate class, which is shown on the type plate.
| Description | Class | Ambient temperature range °C | Relative humidity |
| Extended temperate | SN | +10 to +32 |
≤ 75% |
| Temperate | N | +16 to +32 | |
| Subtropical | ST | +16 to +38 | |
| Tropical | T | +16 to +43 |
Do not place the appliance in a room where the temperature can fall below the lowest permitted ambient temperature: the appliance may not work properly!
Do not place the appliance in a room where the temperature can fall below 5 °C: the appliance may become defective!
The appliance is not suitable for outdoor use and may not be exposed to rain.
Place the appliance in a room with a sufficient volume of air. The room must have a volume of at least 1 m3 of air for every 8 grams of refrigerant. The quantity of refrigerant is shown on the type plate on the inside of the appliance.

- The appliance must be placed at a distance of at least 5 cm from an electrical or gas cooker and at least 30 cm from a radiator or heater. An insulation panel must be fitted when these distances cannot be kept.
- The appliance must be placed at a distance of about 5 cm from the wall, back and sides of a cupboard. A kitchen cupboard above the appliance must have a gap of at least 5 cm between the back of the cupboard and the wall. This is needed to make sure that there is sufficient cooling air for the condenser.
- The plug of the installed appliance must remain accessible!
- The appliance’s air outlet is at the top. Make sure that the outlet is not blocked. Blocking the outlet can result in damage to the appliance.
- The appliance must be handled and installed by two or more persons.
- Be careful not to damage the floors when moving the appliance.
- During installation, make sure the appliance does not damage the power cable.
- The appliance must be placed on a flat, stable surface.
- You can level the appliance using the adjustable feet.
Connecting the appliance
- Connect the appliance to the power supply with a plug. The socket must be earthed. The nominal voltage and frequency required for the appliance are shown on the appliance’s type plate/label with basic information.
- The appliance must be connected to the mains and earthed in accordance with the prevailing standards and regulations. The appliance can withstand small variations in the mains voltage to a maximum of plus or minus 6%.
When you are not going to use the appliance for a longer period then switch it off with the appropriate key and disconnect it from the mains. Empty, defrost and clean the appliance, and leave the door ajar.
Freeze burn hazard
To avoid freeze burn, never put frozen food in your mouth and do not touch frozen food.
In the event of a defect or power cut, do not open the frozen compartment unless the appliance has been out of operation for more than the hours indicated on the appliance’s type plate (temperature rise time). After this time, you must either use the frozen food or make sure that it is properly cooled (for example, by transferring it to another appliance).
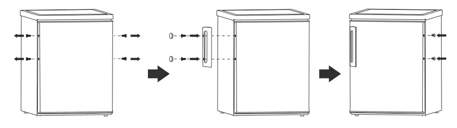
Door handle installation

Changing the side on which the door opens
Switch off the appliance and disconnect it from the mains.
Remove the cover plates and the screws and the upper hinge.

Move the cover plate from the left side to the right side.

Carefully lift the door and place it on a padded surface to prevent scratching.
Remove the lower hinge and flip the hinge.

Attach the lower hinge on the other side. Loosen the adjustable feet and attach them on the other side.
Detach the door gaskets and then attach them after rotating.

Fit the upper hinge on the opposite side with the screws and place the cover plates.

Check that the door is aligned horizontally and vertically and that the seals are closed on all sides before finally tightening the bottom hinge. Level the appliance with adjustable feet.
Move the door handle from the left side of the door to the right side.
DESCRIPTION OF THE APPLIANCE
Appliance

- Thermostat and interior lighting
- Shelf
- Vegetable drawer
- Adjsutable feet
- Door compartment
- The bottom door compartment is suitable for bottles.
Setting the thermostat

The thermostat automatically regulates the temperature inside the refrigerator and frozen compartment (if present).
- The normal temperature setting is position 4.
- Set a higher temperature by turning the knob to setting 1 or 2.
- Set a lower temperature by turning the knob to setting 4, 5, 6 or 7.
- At position 0, the refrigerator is off.
The recommended temperature of the refrigerator compartment is 4 °C.
Recommended distribution
Sections of the refrigeration compartment
- Upper section: canned food, bread, wine and pastas, etc.
- Middle section: dairy products, ready-to-cook meals, desserts, soft drinks, beer and cooked food, etc.
- Lower section: meat, meat products, dairy products.
- Vegetable drawer: vegetables and fresh fruit.
Sections of the door
- Top/middle door compartment: eggs, butter, cheese and sauces, etc.
- Bottom door compartment: drinks, cans and bottles, etc.
Store food that spoils rapidly at the back of a shelf or at the back of the drawer at the lowest temperature.
Caution; storing vegetables with a high water content may lead to condensation on the glass shelves of the vegetable- and fruit drawer: this does not affect the proper functioning of the appliance.
Do not store fruit (bananas, pineapples, papaya, citrus fruits) and vegetables (courgettes, tomatoes, aubergines, cucumber, sweet peppers and potatoes) that are sensitive to low temperatures in the refrigerator.
STORING FOOD
Avoid contamination of food
To avoid contamination of food, please respect the following instructions:
- Opening the door for long periods can cause a significant increase of the temperature in the compartments of the appliance.
- Regularly clean surfaces that can come in contact with food and accessible drainage systems.
- Store raw meat and fish in suitable containers in the refrigerator, so that it is not in contact with or drip onto other food.
- If the refrigerating appliance is left empty for long periods, switch off, defrost, clean, dry, and leave the door open to prevent mould from developing within the appliance.
Storing fresh food in the refrigerator
Important recommendations for storing fresh food
- To ensure the quality of fresh food, it is important that:
- the food is well-packaged;
- the appliance is at the correct temperature;
- the appliance is clean.
- Take good note of the use-by date stated on the food packaging.
- Put food in the refrigerator in sealed containers or in suitable packaging. This will prevent the food from picking up or spreading odours and will keep it dry.
- Do not store flammable, unstable or explosive materials in the refrigerator.
- Store bottles that have been opened upright and close them tightly.
- Some organic solutions, such as essential oils, in the skin of lemons and oranges, and butyric acid, that come into long-term contact with plastics can eat into the material and cause premature ageing.
- A disagreeable odour is an indication that the appliance is not clean or that it contains food that has spoiled (see the chapter ‘Maintenance’).
- Take perishable foods out of the refrigerator when you will be away from home for a longer time.
MAINTENANCE
Defrosting the appliance
Automatic defrost of the refrigeration compartment
The refrigeration compartment defrosts automatically from time to time. The presence of water drops on the back wall at the inside of the refrigerator indicates that the appliance is busy defrosting automatically. The defrost water runs through the drainage spout to a receptacle where it evaporates.
Ensure that the drain outlet is clean. You can clean a clogged drain with a satay stick, for example.

Cleaning the appliance
Switch off the appliance and disconnect it from the mains before you start cleaning it.
Do not use abrasive cleaning agents, as they can damage the surface.
- Regularly clean the interior of the appliance with lukewarm water. If so required, add a neutral cleaning agent or special refrigerator cleaner to the water. Clean all surfaces with a soft cloth. Wipe the cleaned parts with a cloth with clean water and then dry them thoroughly.
- Do not put parts of the appliance in a dishwasher: this could damage them.
- Dry the inside of the unit, plug on the mains, and set the thermostat knob to the lowest temperature setting. After 24 hours, set the thermostat to the normal position.
- Clean the outside using a soft cloth.
- Regularly clean the air vents and the condenser at the rear of the appliance with a vacuum cleaner or a brush.
When you are not going to use the appliance for a longer period then switch it off and disconnect it from the mains. Empty, defrost and clean the appliance, and leave the door ajar.
FAULTS
Faults table
When you have any doubts about whether your appliance is working properly you should not immediately assume that it is defective. We recommend that you should in any case check the points in the following table.
| Symptom | Possible cause | Solution |
| The appliance emits a slight odour when used for the first time. | New appliance. | This is normal and disappears when the appliance starts cooling. |
| The appliance does nothing; the lighting does not come on. | Plug not in socket. | Insert the plug in the socket. |
| Thermostat off. | Adjust the thermostat to the correct setting. | |
| Temperature inside the appliance too high or too low. | Thermostat setting incorrect. | Adjust the thermostat properly. |
| The door seals are dirty or the seals are damaged. | Clean the door seals. Call the service centre if the door seals are damaged. | |
| Water runs from the refrigerator. | Defrost water drain clogged. | Clean defrost water drain (see “Defrost”). |
| Appliance makes a noise. | Incorrect positioning of food in the appliance. | Place foods in the proper manner in the appliance. |
| There is an object against the appliance. | Remove the object. | |
| The LED lighting does not work. | LED-lamp faulty. | Call an authorized service technician. Do not attempt to replace the LED lighting by yourself. |
Note
It is normal for the cooling circuit to make gurgling or expansion noises.
If you are unable to solve the problem then contact the service centre. When you do so, state the type, model and serial number shown on the type plate or label on the inside of the appliance.
ENVIRONMENTAL ASPECTS
Disposal of packaging and appliance
This appliance is made from sustainable materials. This appliance must be disposed of in a responsible manner at the end of its service life. Contact the local authorities for information about the method.
See also the chapter ‘Disposal’ in the Safety instructions.
The packaging of the appliance is recyclable. The following materials may have been used:
- Cardboard.
- Polyethylene foil (PE).
- CFC-free polystyrene (hard PS foam).
These materials must be disposed of in a responsible manner and in accordance with government regulations.
The appliance is marked with a crossed-out wheeled bin symbol to draw your attention to the requirement for the separate disposal of domestic electrical appliances. This means that the appliance may not be disposed of in unsorted household waste at the end of its service life. The appliance must be taken to a special municipal waste processing location for separated waste or to a dealer who provides this service.
Collecting and disposing of domestic appliances separately avoids detrimental consequences for humans and the environment. This ensures that the materials used to make the appliance can be recovered and that substantial savings in the use of energy and raw materials can be achieved.
Declaration of conformity
We hereby declare that our products conform to the applicable European Directives, Regulations and requirements, as well as all requirements in the standards to which reference is made.


















