
Outdoor Wireless Remote
Control Outlets
INSTRUCTION MANUAL
CATALOG NUMBERS
BDXPA0010
Thank you for choosing BLACK+DECKER!
PLEASE READ BEFORE RETURNING THIS PRODUCT FOR ANY REASON.
If you have a question or experience a problem with your BLACK+DECKER purchase, go to http://www.blackanddeckerelectrical.com If you can’t find the answer or do not have access to the Internet, call 1-844-746-6688 from 9 a.m. to 5 p.m. EST Mon.-Fri. to speak with an agent. Please have the catalog number available when you call.
SAVE THI MANUAL FOR FUTURE REFERENCE.
Important Safety Guideline
SAVE THESE INSTRUCTIONS FOR FUTURE REFERENCE.
Definitions: Safety Alert Symbols and Words
This instruction manual uses the following safety alert symbols and words to alert you to hazardous situations and your risk of personal injury or property damage.
DANGER: Indicates an imminently hazardous situation that, if not avoided, will result in death or serious injury.
WARNING: Indicates a potentially hazardous situation that, if not avoided, could result in death or serious injury.
CAUTION: Indicates a potentially hazardous situation that, if not avoided, may result in minor or moderate injury. (Used without a word) Indicates a safety-related message.
NOTICE: Indicates a practice not related to personal injury that, if not avoided, may result in property damage.
WARNING: PLEASE READ THIS INSTRUCTION MANUAL THOROUGHLY AND COMPLETELY BEFORE INSTALLATION & USE. FAILURE TO DO SO COULD CAUSE DAMAGE TO PROPERTY, SERIOUS INJURY OR DEATH, AND VOID YOUR WARRANTY.
warning: Cancer and Reproductive Harm www.P65Warnings.ca.gov. For California residents /
Outdoor Wireless Remote Control Outlets
WARNING: Danger of explosion if the battery is incorrectly replaced. When replacing the battery, replace it with the same or equivalent type CR2032. Observe correct polarity (+ and –) when replacing batteries. Do not store or carry batteries so that metal objects can contact exposed battery terminals.
DANGER: DO NOT INGEST BATTERY; CHEMICAL BURN HAZARD. This product contains a coin/button cell battery. If the coin/button cell battery is swallowed, it can cause severe internal burns in just 2 hours and can lead to death. Keep new and used batteries away from children. If the battery compartment does not close securely, stop using the product and keep it away from children. If you think batteries might have been swallowed or placed inside any part of the body, seek immediate medical attention.

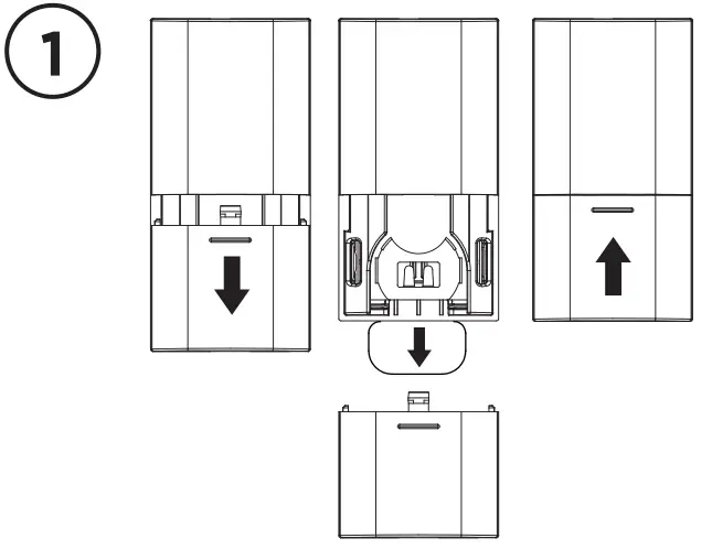
- Step A: Locate the battery compartment on the back of the remote. Push down and away to slide the compartment cover off.
Step B: Remove the plastic battery tab from the battery compartment in the back of the remote control to activate the pre-installed battery.
Step C: Slide the compartment cover on the remote and click securely into place. Your remote is now ready to use.
- Plug the receiver into a standard AC electrical wall socket. Plug up to 2 appliances [i.e. lights, holiday lights, etc.] into the receiver outlets.

- To manually turn the ON or OFF outlet, press the ON or OFF button on the remote control. When the battery is running low, the indicator light on the transmitter will dim. Simply open the battery holder and replace it with a CR2032, 3V battery.
Specifications:
Power input: 125V/60Hz
Power output: 1250W/10A (Max.), 625W(Tungsten)
Transmitter frequency: 433.92MHz
Remote transmitter battery: DC CR2032, 3V battery 1pc
Transmission range: up to 100ft
Outdoor Wireless Remote Control Outlets
Remote Battery Replacement:
If the operation of the receiver unit becomes erratic, it may be necessary to replace the battery in the hand-held remote unit. To do this, first, remove the battery compartment cover. Press the tray release button on the back of the remote. Next, remove the depleted battery and discard it according to local ordinances. Be sure to correctly install the new battery. Replace battery compartment cover and test by using it to control the outdoor remote control outlet.
CAUTION:
- Appliances to be connected to the remote control socket MUST NOT exceed the voltage and current ratings as in “Specifications”.
- Operation is subject to the following two conditions:
(1) this appliance may not cause harmful interference, (2) this appliance must accept any interference received, including interference that may cause undesired operation. - For both outdoor and indoor use store indoors when not in use.
- A low transmitter battery may lower the distance between the transmitter and the receiver.
Grounding Instructions
In the event of malfunction or breakdown, grounding provides a path of least resistance for electric current to reduce the risk of electric shock. The remote control outlet must be connected to a cord having an equipment-grounding conductor and a grounding plug. The plug must be plugged into an appropriate outlet that is properly installed and grounded in accordance with all local codes and ordinances.
DANGER:
Improper connection of the equipment-grounding conductor can result in a risk of electric shock. The conductor with insulation having an outer surface that is green with or without yellow stripes is the equipment grounding conductor. If repair or replacement of the cord or plug is necessary, do not connect the equipment-grounding conductor to a live terminal. Check with a qualified electrician or service person if the grounding instructions are not completely understood, or if in doubt as to whether the remote control outlet is properly grounded. Do not modify the plug connected to the remote control outlet – if it will not fit the outlet, have a proper outlet installed by a qualified electrician.
FOR GROUNDED, CORD-CONNECTED REMOTE CONTROL OUTLET RATED LESS THAN 15A AND INTENDED FOR USE ON A NOMINAL 125V SUPPLY CIRCUIT
The remote control outlet is for use on a nominal 125V circuit and should be connected to a grounding outlet that looks like that illustrated in sketch a. A temporary adaptor, which looks like the adaptor illustrated in sketch b, may be used to connect this plug to a 2-pole receptacle as shown in sketch b if a properly grounded outlet is not available. The temporary adaptor should be used only until a properly grounded outlet can be installed by a qualified electrician. The green-colored rigid ear, lug, and the like, extending from the adaptor must be connected to a permanent ground such as a properly grounded outlet box cover. Whenever the adaptor is used, it must be held in place by the metal screw.

NOTE: IN CANADA, THE USE OF A TEMPORARY ADAPTOR IS NOT PERMITTED BY THE CANADIAN ELECTRICAL CODE. Ensure that the remote control outlet is connected to an outlet having the same configuration as the plug.
Outdoor Wireless Remote Control Outlets
1 YEAR LIMITED WARRANTY
IMPORTANT: Proof of Purchase is required to obtain warranty service.
Paragon Group USA Inc. warrants to the original owner that our products will be free from defects in workmanship and material for a period of ONE YEAR from the date of purchase. Should any unit(s) prove to be defective during this period, Paragon Group USA Inc. will be responsible for the replacement of the defective unit(s) only. Paragon Group USA Inc. is not responsible for labor charges or any incidental or consequential expenses.
Not Covered – Batteries are not covered by this warranty. Repair service, adjustment, and calibration due to misuse, abuse, or negligence are not covered by this warranty. Unauthorized service or modification to this product or of any furnished components will void this warranty in its entirety.
This warranty does not include reimbursement for inconvenience, installation, set-up time, loss of use, postage, unauthorized service, or other products used in conjunction with
BLACK+DECKER products.
Copyright 2021 Black&Decker
BLACK+DECKER and the BLACK+DECKER logo are trademarks of Stanley Black Decker, Inc. or an affiliate thereof and are used under license.
Ph: 1-844-746-6688
www.blackanddeckerelectrical.com
E-mail: [email protected]
Imported by:
Paragon Group USA,
Englewood, NJ, 07631
USA





















