B-TECH BT5922 Girder / Purlin Mount

SPECIFICATIONS
- Designed to mount a Ø38mm pole to a girder/purlin including I-beams, C-section, Z-section, and Sigma-section purlins
- Max load: 40kg (801bs)* when mounting on one side of the pole Max load: 70kg (1 541bs) when mounting on both sides of the pole
- The mount works with I-beams from 65mm to 267mm (2.5″ – 10.5″) width
- The mount works with C/Z/Sigma-section purlins from 50mm to 230.5mm (2″ – 9″) width
INSTALLATION SAFETY INSTRUCTIONS
CAUTION:
This mount is intended for use only with the maximum weights indicated. Use with equipment heavier than the maximum indicated may result in instability causing possible injury.
Do not attempt to install this product until all instructions and warnings have been read and properly understood.
Please keep these instructions for future reference.
Please check carefully to make sure there are no missing or defective parts – defective parts must never be used.
B-Tech AV Mounts, its distributors and dealers are not liable or responsible for damage or injury caused by improper installation, improper use or failure to observe these safety instructions. In such cases, all guarantees will expire.
General
B-Tech AV Mounts recommends that a professional AV installer or other suitably qualified person install this product.
Great care must always be taken during installation as most AV equipment is of a fragile nature, possibly heavy and easily damaged if dropped.
If you do not fully understand the instructions or are not sure how to install this product safely, then please consult a professional for advice and/or to install this product for you. Failure to rnount this product correctly may cause serious injury or death, both during installation and at any time thereafter.
Do not mount any AV equipment that exceeds the specific weight limit of the product you are installing.
This weight limit will be clearly stated on each product and its packaging and will vary from product to product.
Product location
Please pay careful attention to where this product is located. Check load capacity of the ceiling and girder/purlin prior to installation as some structures are not suitable for installation or for any additional load. Designed for indoor use, this mount is suitable for public or home installation. If located in a public or frequently populated area ensure that the product is out of the immediate reach of people. If any AV equipment is to be suspended over the likely path or location of people then great care should be taken to secure all parts of the installation from falling. As the product will be installed on a high level, the installer should be careful to avoid any hazards and have the correct safety equipment to carry out the installation. When drilling holes it is essential to avoid contact with electrical cables and water or gas pipes contained within. Use of a good quality live wire detector and hidden object locator is therefore recommended. Only drill into structures when you are sure it is safe to do so.
Fixing hardware
It is highly recommended that all fixing screws be used where supplied and that the purpose of all other fixing hardware is fully understood. In some cases more AV equipment fixing hardware will be supplied to accommodate different models of equipment and set up configurations. The installer must be satisfied that any supplied fixing hardware is suitable for each specific installation.
If any fixing screws or included hardware are deemed not sufficient for a safe installation then please consult a professional or your local hardware store.
Hazard limitation
When routing cables take advantage of any built in cable management features that the product might provide and ensure that all cables are tidy and secure. Check to see that any moving aspect of the product can do so unhindered by any cabling.
Some products have moving parts and the potential to cause injury through the crushing or trapping of fingers or other body parts. Particular attention to the nature of moving parts is required especially when assembling installing and adjusting during set up. Immediately after installation double-check that the work done is safe and secure. Double-check all necessary fixings are present and are of ample tightness.
It is recommended that periodic inspections of the product and its fixing points are made as frequently as possible (no more than 6 months apart) to ensure that safety is maintained.
If in doubt consult a professional AV installer or other suitably qualified people.
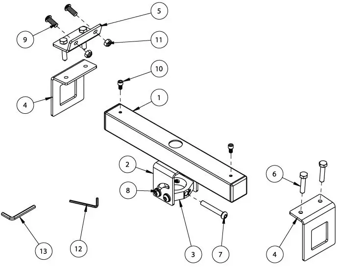
PARTS LIST

PLEASE KEEP THIS FOR FUTURE REFERENCE
| ITEM | PART NAME | QTY |
| MOUNTING TUBE | 1 | |
| 2 | CONNECTOR PLATE | |
| 3 | 03Smm COLLAR | |
| 4 | CLAMP PLATE | 2 |
| s | SUPPORT PLATE (FOR PURL/NS) | |
| 6 | MS x 40mm HEX CONE-POINTED SCREW | 4 |
| 7 | MS x 55mm HEX SCREW | |
| s | MS x 15mm HEX SCREW | 4 |
| 9 | MS x 20mm HEX SCREW | 2 |
| 10 | M6 x 10mm CAP HEAD HEX SCREW | 2 |
| 11 | MSNYLOC NUT | 2 |
| 12 | 3AF HEX KEY | |
| 13 | SAF HEX KEY |
Suitable for loads up to 70kg (1 541bs)
INSTALLATION TOOLS REQUIRED

INSTALLATION NOTES
The product works with I-beams, C-section, Z-section, and Sigma-section purlins
I-BEAM
The mount works with I-beams:
65mm to 267mm (2.5″ – 10.5″) width

C-SECTION & Z-SECTION PURLINS
The mount works with C/Z/Sigma-section purlins:
50mm to 230.5mm (2″ – 9″) width

SIGMA-SECTION PURLIN

INSTALLATION INSTRUCTIONS

ASSEMBLE THE CLAMP
Note: There are 3 different ways to assemble the clamp depending on the type of girder/purlin.
A. Assembly for I-Beam mounting
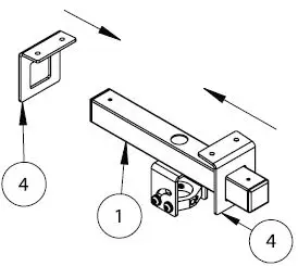
- Depending on the type & size of the I-Beam, slide item 4 on item 1.
Note: Item 5 is not required for I-Beam mounting

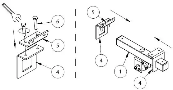
B. Assembly for
C-section or Z-section Purlins
- Attach item 5 to item 4 by fully tightening item 6.
- Depending on the type & size of the purlin, position items 4 & 5 on item 1.

C. Assembly for
Sigma-section Purlin
- Attach Item 5 to item 4 (as shown) by fully tightening item 6.
- Depending on the type & size of the purlin, position items 4 & 5 on item 1.

- Fix item 10 to item 1 and add item 6 to item 4 (do not fully tighten).

A. I-Beam assembly

ATTACH CLAMP TO THE GIRDER/PURLIN
A. I-BEAM MOUNTING : 65mm – 267mm (2.5″ Adjust item 7 to the middle of the I-beam and then tighten item 6.
– 10.5″) width

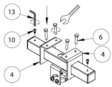
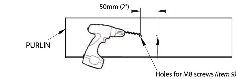
B. FOR C/Z-SECTION PURLINS : 50mm – 230.5mm (2″ – 9″) width
Drill holes through the purlin and use items 9& 11 to attach item 5 to the purlin.
- Adjust item 1 to the middle of the purlin and hold it so that the tube touches the bottom of the purlin when marking, at the same time, push and hold item 4 upwards to get the highest possible holes from the bottom edge of the purlin.

- Drill the holes 50mm (2″) apart for items 9& 17.

- Attached item 5 to the purlin using items 9&11.

- Adjust item 4 onto the purlin and fully tighten item 6.

FOR SIGMA SECTION PURLIN
Follow Step B procedures to mark & drill the holes through the Sigma section purlin, then use items 9 & 7 7 to fix item 5 to the purlin. Once item 5 has been bolted to the purlin, adjust item 4 on the other side and tighten to the purlin using item 6.

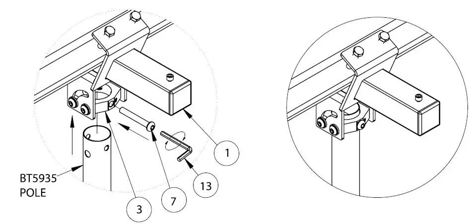
CONNECT A Ø38MM POLE TOTHE MOUNT
- Insert the pole into the collar and tighten item 7 through holes on the pole and item 3.

- Tighten the grub screws on item 3 to make sure the pole has been fully secured to the mount.

- If the 1-beam/purlin is parallel with the floor tighten 4x items 8 to item 2. Note: Always make sure the pole has been installed perpendicular with the floor.

Note: Please see the next page If the I-beam/girder is tilted from the floor. 9
INSTALLING ON A TILTED I-BEAM/PURLIN
If the I-beam/purlin is tilted from the floor then make sure the pole is installed perpendicular with the floor by adjusting the tilt angle on items 2 & 3.


EXAMPLE INSTALLATIONS
Single screen mounted
Max load 40kg (881bs)

Back-to-back screens mounted Max load 70kg (1541bs)

DIMENSIONS


BT5922
GIRDER/PURLIN MOUNT
USE WITH A BT5935 POLE
CONTACT
©2022 B-Tech International Design and Manufacturing Ltd. All rights reserved.
B-Tech AV Mounts is a division of B-Tech International Design and Manufacturing Ltd. B-Tech AV Mounts and the B-Tech logo are registered trade marks.
All other brands and product names are trademarks of their respective owners. Photographs are for illustrative purposes only. E&OE.
AMA-BT5922-V1-0522-203 MADE IN THE UK
@ For More Information Visit www.btechavmounts.com



























