Honeywell Retrofit Round Damper Installation Guide
![]()
The damper is used with Honeywell Home TrueZONE panels and similar zone control systems. The power open, power closed actuator draws 2.5 VA allowing multiple dampers per zone, but delivers high torque for reliable operation.
APPLICATION
The RRD is a round damper that is easily inserted into rigid round ducts for retrofit zoning in forced air heating and cooling systems. It is available in four sizes for use in 5”, 6”, 7”, and 8” ducts.
FEATURES
- Easy slide-in installation
2.5 VA allows for many dampers on one zone - Available in 4 sizes to fit most rigid round branch ducts
- Quiet, long life motor automatically shuts itself off in full open and closed positions.
- Gaskets around blade and under motor housing for low internal leakage and very low external leakage
- Range stops with easy adjustment from top of motor
- Easy to see and reliable mechanical blade position indicator
- Easy to hook up with conventional thermostat wire
- Simple manual blade positioning with push button gear release
SPECIFICATIONS
- IMPORTANT
The specifications given in this manual do not include normal manufacturing tolerances. Therefore, this unit may not exactly match the listed specifications. In addition, this product is tested and calibrated under closely controlled conditions, and some minor differences in performance can be expected if those conditions are changed. - Construction
- Frame: 18 gauge G-60 or G-90 galvanized steel C channel with gasket, 20 gauge actuator mounting bracket.
- Blade: 20 gauge G-60 or G-90 galvanized steel surrounded by a black EPDM rubber gasket.
- Shaft: 1/2” hex damper blade shaft of cold rolled zinc electroplated steel. The shaft runs through a white nylon bushing.
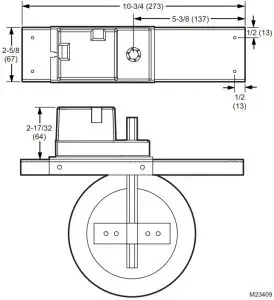
- Sizes: 5.125”, 6.125”, 7.125”, 8.125” diameters
- Electrical Rating: 24 VAC, 50 or 60 Hz
- Power Consumption: 1.7 watts running, .7 watts holding.
Transformer sizing VA: 2.5. - Wiring Terminals: M1 (Common), M6 (clockwise, closed), M4 (counter-clockwise, open)
- Nominal Angular Rotation: 90°
- Torque: 35 in. lb, (4 Nm)
- Nominal Timing: 90 seconds independent of load
- Ambient Ratings: 41° F (5° C) to 122° F (50° C), 5-95% RH non-condensing
- Mounting: Direct couple to 1/2” shaft
- Agency Listings: NEMA 1, UL listed, class two
- Dimensions: See Fig. 1–2
- Weight:
- RRD5: 3.6 lb
- RRD6: 3.8 lb
- RRD7: 4.1 lb
- RRD8: 4.3 lb
- Leakage (Closed): 3.4% at .05” WC
- Pressure Drop (Open): <.05” WC

Fig. 1. Motor dimensions in in. (mm).
Fig. 2. RRD damper.
INSTALLATION
Before Installing this Product
- Read all instructions before installing this product.
Failure to follow instructions can damage the product or cause a hazardous condition. - Check the ratings given in the instructions and on the product to verify that the product is suitable for your application.
- Installer must be a trained and experienced service technician.
- Install the product in an area that is easily accessible for checkout and service.
- After completing installation, use these instructions to check out product operation.
Installing the Retrofit Round Damper
Select a location for the damper in the ductwork. It is suggested that the RRD damper be at least 6 feet from the register for quiet operation.
- Peel off the back of the cut-out template. Carefully align the template with the center line of the duct. Apply template to the section of round ductwork where the damper is to be installed. Ensure that the template is parallel to the ductwork. It is suggested that the damper be installed with the motor under a horizontal duct to reduce twist to the duct. It may also be necessary to support the duct.
- Drill a starter hole in the cut-out area of the template.
- Cut out the area between the holes.
- Slide the damper into the duct and secure it with the four supplied self-drilling mounting screws. Be careful to avoid over-tightening the screws as the duct may be pulled out of round. See Fig. 3.

Fig. 3. Inserting RRD damper into duct.
WIRING
Wiring the Motor Actuator
Connect the motor to the zone control panel 18 or 20 gauge wire. The motor terminals are labeled M1 for common, M6 for closed, and M4 for open. Connect the motor terminals to corresponding terminals on zone control panel for each zone. See Fig. 4–6 for hookups.
Multiple RRD dampers can be wired to one zone when wired in parallel. See Fig. 5 for wiring multiple dampers together in a daisy chain manner or Fig. 6 using wire nuts. If you are exceeding the maximum number of dampers to a zone a Slave Damper Control Relay (SDCR) must be used. See Maximum Number of Dampers per Zone.
When more than the maximum number of dampers allowed per panel are necessary, a SDCR must be used. The SDCR is an isolation relay that is powered by a separate transformer so that it relieves the panel of this additional load. When a SDCR is used, the dampers of that zone may either be all connected to the SDCR, or some dampers may be wired to the SDCR and the remainder to that zone’s damper terminals.
Maximum Number of Dampers per Zone
The maximum number of dampers you can connect to a zone panel or to a single zone will vary on the zone panel used and the maximum temperature of the space where the zone panel is installed. The Installation instructions for the HZ221, HZ311, HZ322, and HZ432 zone panels have a chart for determining how many dampers can be used.
Fig. 4. RRD wired to zone control panel.
Fig. 5. Wiring multiple RRD dampers in daisy chain fashion.
Fig. 6. Wiring multiple RRD dampers using wire nuts.
ADJUSTMENTS
Manual Blade Adjustment
To verify correct range of motion, depress the manual blade adjustment button. While this is pressed, the gears are disengaged, allowing the blade to be manually opened or closed by turning the damper blade shaft. See Fig. 1.
Position Indicator
The position indicator points toward the position of the damper blade to identify if the blade is open, closed, or at an intermediate position. A slot at the end of the damper blade shaft also indicates blade position.
Range stops
The RRD damper motor can be adjusted to prevent complete closure of the blade. This is useful in zone systems where it is not possible to install a bypass damper.
To set the range stop to prevent complete closure:
- Locate the range stop adjustment screw on the top of the motor to the right blade shaft. This is at the extreme counter-clockwise end of travel.
- Using a small Phillips head screwdriver, loosen the set screw.
- Move the end-stop block to the new position
- Secure the set screw.
- Verify the new range of motion while depressing the manual blade release button.
CHECKOUT
CAUTION
Possible Equipment Damage
Do not manually open or close the damper unless the manual blade release button is depressed.
To check out the RRD damper using 24 VAC transformer:
- Connect 24 VAC common to the M1 (common) terminal on the actuator.
- Connect 24 VAC hot to the M6 terminal to close the damper.
- Observe the blade move clockwise and stop in the closed position.
- Remove the 24 VAC hot wire from the M6 terminal.
- Connect the 24 VAC hot wire to the M4 terminal.
- Observe the blade move counter-clockwise and stop in the open position.
- This verifies correct operation.
To check out the RRD damper when connected to a zone control panel. (This assumes that the damper has been wired correctly as shown in Fig. 4.)
- Begin with all zone thermostats set so that they are not calling for heat, cool, or fan.
- To test the damper on zone 1, set the thermostat on zone 2 to the fan “On” mode so that it calls for fan.
- This will make the damper on zone 1 close.
- Observe damper one closing on its position indicator. The damper willtake 90 seconds to close.
- Set zone 2 thermostat to the fan “Auto” mode so that it is no longer calling for fan. The zone 1 damper will now return to the open position. This completes the test of the zone 1 damper.
- To test the damper on zone 2, set that thermostat on zone 1 to the fan “On” mode so that it calls for fan.
- Observe the damper on zone 2 close.
- Also observe that zone 3 or others, if connected, also close when the zone 1 thermostat is in the fan “On” mode.
- When complete, set the zone 1 thermostat to the fan “Auto” mode. All zones will now return to the open position.
- This verifies correct damper wiring and operation.
TROUBLESHOOTING
| Damper operates backwards | Verify correct damper wiring as shown in Fig. 4–6. |
| Damper does not operate |
|
Customer Support
Resideo Technologies, Inc.
1985 Douglas Drive North, Golden Valley, MN 55422 800-828-8367
69-1960ES—03 M.S. Rev. 01-21 | Printed in United States
http://www.resideo.com/
© 2020 Resideo Technologies, Inc. All rights reserved.
The Honeywell Home trademark is used under license from Honeywell International, Inc. This product is manufactured by Resideo Technologies, Inc. and its affiliates.






















