USER’S MANUAL
Online UPS
1K/2K/3KVA
Appliances – – – – – – – – – – – – – – –



PC TV Light Electric fan
Dear Customer
Thank you for purchasement of our products. We make every effort to assure our Uninterrupted Power Supply products will give you long and reliable service for your renewable energy system.
Safe operation
- Please strictly comply with all warnings and operating instructions in this manual strictly. Save this manual properly and read carefully the following instructions before installing the unit. Do not operate UPS before reading through all safety information and operating instructions carefully.
- Don’t install the UPS system where it would be exposed to direct sunlight or near heater.
- Don’t install the UPS system near water or in moist environments.
- Don’t install the UPS system near heat source, like near to the equipment electric warm oven, heat furnace.
- Don’t block the ventilation holes in the UPS housing.
- Don’t use moist articles to clean the UPS system
- Please properly use dry powder extinguisher, when UPS system get on fire. Don’t use liquid fire extinguisher.
Electric Safety
- Before power on, please confirm oneself properly grounded, and check the connection wiring and battery polarity correctly.
- Before carrying out any kind of service and /or maintenance disconnect the batteries and verify that no current is present and no hazardous voltage exists in the terminals of high capability capacitor such as BUS – capacitors, Otherwise, the output may still be charged, there is a risk of electric shock.
- Only use the devices or accessories appointed.
- Output cables must be shorted than 10M, to comply with EMC.
- Do not open UPS outer case in case electric shock to avoid shorted circuited + -, otherwise electric shock or cause fair
Battery disposal Safety
1) Before disposing of batteries, remove conductive jewelry such as necklace, wrist watches and rings.
2) If it is necessary to replace any connection cables, please purchase the original materials from the authorized distributors or service centers, so as to avoid overheat or spark resulting in fire due to insufficient capacity.
3) Do not dispose of batteries or battery packs in a fire, they may explode.
4) Do not open or mutilate batteries, released electrolyte is highly poisonous and harmful to the skin and eyes.
5) Do not short the positive and negative of the battery electrode, otherwise, it may result in electric shock or fire.
6) Make sure that there is no voltage before touching the batteries, The battery circuit is not isolated from the input potential circuit. There may be hazardous voltage between the battery terminals and ground.
7) Even though the input breaker is disconnected, the components inside the UPS are still connected with the batteries and there are potential hazardous voltages. Therefore, before any maintenance and repairs work is carried out, switch off the breaker of the battery pack or disconnect the jumper wire of connecting between the batteries.
8) Batteries contain hazardous voltage and current. Battery maintenance such as the battery replacement must be carried out by qualified personnel who are knowledge able about batteries. No other persons should handle the batteries.
Notice of Copyright
Series Online UPS and User Manual REV A 2014 All rights reserved.
Operating Maintenance
- Operating environment and stock method has certain effect on the using lifespan and reliability of the product. Do not use at the following environments:
A. Places with high/low temperature or humid area beyond technical standard regulation(temp. between 0°C~40°C, relative humidity between 20%~90%);
B. Shaking area and places easy to be stricken;
C. Places with metalline dust, corrosive substances, salinity and combustible gas. - If long time no use, the UPS(without battery) must be put in dry environment, store temperature range: -25°C~+55°C, before UPS turns on, the temperature must be back up to over 0°C, and keep at least 2 hours.
Battery Maintenance
- This series UPS do not need much maintenance. The battery of the standard UPS is sealed and free maintenance type, need only be kept charging to receive its expected lifespan. When UPS connect to city power, no matter at on or off status, it will keep charging for battery with overcharge and over-discharge protection.
- If long time no use, UPS should be charged every 4-6 months; In the high temperature area, battery should be discharged every 2 months, each charge time should be at least 12 hours.
- Normally, battery lifespan is 3-5 years, if find any abnormal, you should change a new group and necessarily under professional’s operation.
- To change battery, you should follow the principle of equal quantity and same model.
- To change single battery is not advised, all batteries replacement should follow the guid from manufacturer.
- Normally (with condition of UPS rarely as backup), the battery should be charged and discharged for one time every 4-6 months. Battery discharged till turn-off, and then continuously charge, ensure at least 12 hours charge for standard UPS.
Note:
- Must turn off UPS and disconnect from city power before changing battery.
- Take off metal objects like ring and watch.
- Use screwdriver with isolation hand shank, do not put tools and any other metal objects on the battery.
- When connecting battery wire, it is normal with little spark, it won’t be harmful to human body and UPS.
- Never make positive and negative pole connection in wrong position.
1. Important Safety Warning
- Do not open UPS outer case in case electric shock to avoid shorted circuited + -, otherwise electric shock or cause fair
- Do not put batteries or battery box near the heat source. Don’t use fire to deal with battery, otherwise will explode
- Do not connect hair driver, heating appliance, Ensure safety of UPS
- Even UPS do not connect AC, the output socket of UPS still may have 220VAC
- If need replace power cable, please purchase from our agency or service center, in case caused any fair or heating by improper cable
- Do not open or damage battery, otherwise toxic electrolyte will harm the skin and eyes.
- Risk of electric shock, the battery circuit is not isolated from the input voltage, Hazardous voltage may occur between the battery terminals and the ground. Before touching, please verify that no voltage is present!
2. Installation & Setup
Note: before installation, check all package and confirm no any damage, please keep the original package in a safety place for future use.
Online UPS have two types: standard type and extend type, details as below:
| Model | Types | Model | Types |
| 1K | Standard type | 1KS | Extend type |
| 2K | 2KS | ||
| 3K | 3KS |
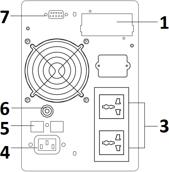
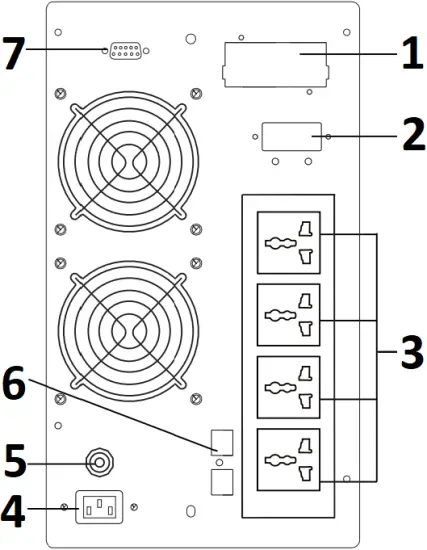
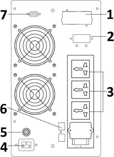
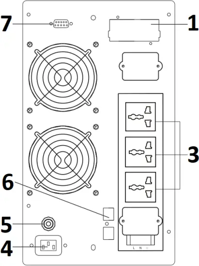
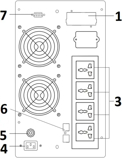
2.1 Rear panel view


1K 1KS

2K 2KS

3K 3KS
- INTELLIGENT INTERFACE
- EXTERNAL BATTERY SOCKET
- AC OUTPUT SOCKET
- AC INPUT SOCKET
- BREAKER
- SURGE PROTECT SOCKET
- RS232
2-2. Setup the UPS
Step 1: UPS input connection
Plug the UPS into a two-pole, three-wire, grounded receptacle only, Avoid using extension cords
Step 2: UPS output connection
- For socket-type outputs, simply connect devices to the outlets
- For terminal-type input or outputs, please follow below steps for the wiring configuration:
a) Remove the small cover of the terminal block
b) Suggest using AWG14 or 2.1mm²-5.3mm² power cords for 3KVA
c) Upon completion of the wiring configuration, please check whether the wires are securely affixed.
d) Put the small cover back to the rear panel.
Step 3: Communication connection
Communication port;
USB Port
RS-232 port
Intelligent slot ![]()
To allow for unattended UPS shutdown/start-up and status monitoring, connect the communication cable one end to the USB/RS-232 port and other to the communication port of your PC. With the monitoring software installed you can schedule UPS shutdown/start-up and monitor UPS status through PC.
Notice: The ups is equipped with USB port
The UPS is equipped with intelligent slot perfect for either SNMP or AS400 card, when installing either SNMP or AS400 card in the UPS, it will provide advanced communication and monitoring options. PS.USB port and RS-232 port canot work at the same time. Press the ON/Mute Button on the front panel for two seconds to power on the UPS.
Step 4: Turn on the UPS
Press the ON/Mute Button or “
” on the front panel for two seconds to power on the UPS
Note: The battery charges fully during the first five hours of normal operation, do not expect full battery run capability during this initial charge period.
Step 5: install software
For optional computer system protection, install UPS monitoring software to fully configure UPS shutdown you may insert provide CD into CD-ROM to install the monitoring software. If not,please follow steps below to download and install monitoring software from the internet:
- Go to the website: www.staups.net
- Click <Power Manger> software icon, choose operation system, then download software
- Follow the on-screen instructions to install the software
- When your computer restarts, the monitoring software will appear as located in the system tray, near the clock.
Step 6: External battery connection
This UPS is not including batteries, please connect external batteries as below chart.

Yellow Green – Grounded Wiring
Red – Battery “+”
Black- battery “-”
Notice:
C1K/S: in series 3 batteries
C2K/S: in series 6 batteries
C3K/S: in series 6/8 batteries

NEMA IEC India French Schuko

Australian British Universal
3. Front Panel View
3-1. LED Panel

(A)

(B)
The LED meanings as follows
LED1: Load/battery capacity info
LED2: Load/battery capacity info
LED3: Load/battery capacity info
LED4: Load/battery capacity info
LED5: Load/battery capacity info
LED6: Bypass info
LED7: LINE INFO
LED8: INVERTER INFO
LED9: BATTERY INFO
LED10: FAULT INFO
- INVERTER INFO
- BYPASS INFO
- BATTERY INFO
- LINE INFO
- OFF BUTTON
- ON/MUTE BUTTON
(A and B are two different front panels, you can choose anyone as per request)
- Power switch: press ”
” 2s to turn on ups; press “
” 2S to turn off ups; - LED6 “Bypass INFO” on, supported by the line power supply.
- LED8 “INVERTER INFO” ON, mains supply/battery power loads
- LED9 “BATTERY INFO” on, battery power loads
- LED10 “FAULT INFO” on, ups is abnormal
- LED1-5 “Load/battery capacity info” meanings percent of load capacity/battery capacity
Battery mode
| LED LINGHTS | PERCENT OF BATTERY CAPACITY |
| LED2 | 0~25% |
| LED3 | 26~50% |
| LED4 | 51~75% |
| LED5 | 76~100% |
LINE MODE
| LED LINGHTS | PERCENT OF LAOD CAPACITY |
| LED1 | >98% |
| LED2 | 71~95% |
| LED3 | 51~70% |
| LED4 | 31~50% |
| LED5 | 0~30% |
3-2. LCD Panel

- Parameters type
- LOAD information
- Battery information
- Inverter indicator
- Battery indicator
- LINE indicator
- Bypass indicator
- Parameters
- PARAMETERS: Show all UPS working data. And when UPS is under fault by some external cause, it will show the fault code in the display. Different fault code represent different fault cause, So, the fault code is very important for the after-services department of your dealer, please record in detail!
- PARAMETER TYPE: indicates input, output, load, temperature, battery informations, etc
- LOAD INFO: indicate percent of load capacity in the form of pattern.
- BATTERY INFO: indicate percent of battery capacity in the form of pattern.
- LINE INFO: when there is AC input, the light is on. when AC input is abnormal, the lights flash.
- BYPASS INFO: when the inverter is not working, and DC power the loads, the light is on. ups won’t protect loads when main supply fails.
- DC INFO: UPS is in DC mode, the lights is on, When DC is abnormal, the lights flash.
- INVERTER INFO: When inverter power the loads, the light is on,. The ups is working well, and protect loads when main supply fails.
- Besides, when UPS is fault or abnormal working caused by external reasons, it will display fault codes. Different fault codes indicates different meanings, they are very important for after-sales services, please record them.
3-3. Button Operation

- Lcd Screen
- On/mute
- Select
- Off/enter
- Fault
- Standby
- Inverter Output
| Button | Function |
On/Mute Button
| • Turn on the UPS: Press and hold ON/Mute button for at least 2 seconds to turn on the UPS. |
| • Mute the alarm: When the UPS is on battery mode, press and hold this button for at least 5 seconds to disable or enable the alarm system. But it’s not applied to the situations when warnings or errors occur. | |
| • Up key: Press this button to display previous selection in UPS setting mode. | |
| • Switch to UPS self-test mode: Press and hold ON/Mute button for 5 seconds to enter UPS self-testing while in AC mode or converter mode. | |
Off/Enter Button
| • Turn off the UPS: Press and hold this button at least 2 seconds to turn off the UPS. UPS will be in standby mode under power normal or transfer to Bypass mode if the Bypass enable setting by pressing this button. • Confirm selection key: Press this button to confirm selection in UPS setting mode. |
Select Button
| • Switch LCD message: Press this button to change the LCD message for input voltage, input frequency, battery voltage, output voltage and output frequency. It will return back to default display when pausing for 10 seconds. • Setting mode: Press and hold this button for 5 seconds to enter UPS setting mode when UPS is in standby mode or bypass mode. • Down key: Press this button to display next selection in UPS setting mode. |
| On/Mute + Select Button | • Switch to bypass mode: When the main power is normal, press ON/Mute and Select buttons simultaneously for 5 seconds. Then UPS will enter to bypass mode. This action will be ineffective when the input voltage is out of acceptable range. |
3-4. Output voltage/Frequency setup

Press and hold “Select” button for 5 seconds while UPS in the standby mode or bypass mode, to enter output voltage setup, Press “On/Mute” button & select the voltage value needed, Confirm it & Press “Select” Button again.
To set up output frequency, press “On/ Mute” button to Select output frequency value then confirm it and press “On/ Mute” button to finish all selection. Press “Off/Enter” button to exit Setup mode.
3-5. Bypass Mode Setting

UPS system must be in standby mode or Bypass mode, Press & hold “Select” button for 5 seconds to enter setup mode. Press “Select” button again 3 times to enter bypass mode setup, Press “On/Mute” button to select whether start(BPS) mode; “DIS” is for NO, “ENA” is for YES, confirm it & Press “Select’ button again to finish bypass mode setup; Press “Off/Enter” button to exit.
3-6. LCD Operating Mode Description
| Operating mode | Description | LCD display |
| Online mode or Frequency Converter mode | When the input voltage is within acceptable range, UPS will provide pure and stable AC power to output. The UPS will also charge the battery at online mode. | ![]() |
| Battery mode | When the input voltage is beyond the acceptable range or power failure and alarm is sounding every 4 seconds, UPS will backup power from battery. | ![]() |
| Bypass mode | When input voltage is within acceptable range but UPS is overload, UPS will enter bypass mode or bypass mode can be set by front panel. Alarm is sounding every 10 seconds. | ![]() |
| Standby mode | UPS is powered off and no output supply power, but still can charge batteries. | ![]() |
3-7. LED Operating Mode Description
| Operating mode | Description | LCD display |
| Online mode/ Frequency converter mode | When the input voltage is within acceptable range, UPS will provide pure and stable AC power output, and charge the battery at online mode. | ![]() |
| ECO mode Energy saving mode: | When the input voltage is within voltage regulation range, ups will bypass voltage to output for energy saving | ![]() |
| Battery mode | When the input voltage is beyond the acceptable range or power failure and alarm is sounding every 4 seconds, UPS will backup power from battery. | ![]() |
| By pass mode | When input voltage is within acceptable range but UPS is overload, UPS will enter bypass mode or bypass mode can be set by front panel. Alarm is sounding every 10 seconds. | ![]() |
| Standby mode | When UPS is off in AC and is not set as bypass mode, UPS is power off and no output supply power, but still can charge batteries | ![]() |
4. Troubleshooting
4-1 LCD Model
| Symptom | Possible Cause | Remedy |
| The icon of battery, AC and Fault light flashing, and alarm is sounding every second | The battery is incorrectly connected or the battery voltage is too low | Check if all batteries are connected well Replace battery if battery abnormal |
| The icon of 25% power and Fault light flashing, and alarm is sounding every second | Low battery voltage | Reduce the loads, and charge the battery rapidly |
| The icon of four battery capacity and Fault light flashing, and alarm is sounding every second | Battery voltage is too high incorrect battery quantity | Check the battery voltage and battery connecting |
| The icon of Overload and Fault light flashing, and alarm is sounding twice every second | The ups is overload | Reduce the loads |
| The icon of Overload flashing and Fault continuously light, buzzer keep continuously | The ups is overload or Output is short circuit and shut down | Remove excess loads from the ups |
| The icon of TEMP and Fault light flashing, and alarm is sounding every second | UPS over temperature | Reduce the loads Check the air vents is not blocked and the room temperature not too high, restart the ups again after 10mins cooling |
| The icon of TEMP and fault lighting on, and alarm is sounding continuously | Over temperature inner ups The fan abnormally work | Contact your dealer |
| Fault lighting on, the icon of inverter flashing and alarm is sounding continuously | The inverter of ups abnormal | Contact your dealer |
| UPS could not start after pressing “on/Mute” | 1. Too short time pressing 2. UPS do not connect battery or ups is start on with loads while low battery 3.The inner fault of ups | 1. Press “ON/Mute” switch more than 2 seconds, turn on UPS; 2. UPS connect batteries, check battery voltage whether normal or not; 3. please contact distributor |
When you contact the maintenance person of distributor, please provide the above information.
- Date of Symptom
- UPS model and series number
- Full description of the fault (including the panel indictor sound, electricity status, the load capacity, If it is long run UPS, still need to provide battery backup status.)
4.2 LED Model trouble shooting
If the UPS system does not operate correctly, please solve the problem by using the table below.
| Symptom | Possible cause | Remedy |
| No indication and alarm even though the mains is normal. | The AC input power is not connected well. | Check if input power cord firmly connected to the mains. |
| The AC input is connected to the UPS output. | Plug AC input power cord to AC input correctly. | |
| The #9 LED blink, beep alarm every seconds. | The external or internal battery is incorrectly connected. | Check if all Batteries are connected well. |
| The #10 & #4 LED turn on, beep alarm continuously | Battery voltage is too high or the charger is fault. | Contact your dealer. |
| The #10 & #2 LED turn on, beep alarm continuously | The bus voltage of UPS not normal. | Contact your dealer. |
| The #10 & #5 LED turn on, beep alarm continuously | UPS inside temperature too high, fans cooling not normal. | Contact your dealer. |
| The #10 & #1 LED blink, beep alarm twice every seconds | UPS is overload | Remove excess loads from UPS output. |
| UPS is overloaded. Devices connected to the UPS are fed directly by the electrical network via the Bypass. | Remove excess loads from UPS output. | |
| After repetitive overloads, the UPS is locked in the Bypass mode. Connected devices are fed directly by the mains. | Remove excess loads from UPS output first. Then shut down the UPS and restart it. | |
| The #10 & #1 LED turn on, beep alarm continuously | The UPS shut down automatically because of overload at the UPS output. | Remove excess loads from UPS output and restart it. |
| The #10 & #3 LED turn on, beep alarm continuously | The UPS shut down automatically because short circuit occurs on the UPS output or Inverter defect. | Check output wiring and if connected devices are in short circuit status. |
| Battery backup time is shorter than nominal value | Batteries are not fully charged | Charge the batteries for at least 5 hours and then check capacity. If the problem still persists, consult your dealer. |
| Batteries defect | Contact your dealer to replace the battery. |
5. Storage & Maintenance
Operation
The UPS system contains no user-serviceable parts. If the battery service life (3~5 years at 25°C ambient temperature) has been exceeded, the batteries must be replaced. In this case, please contact your dealer.


Be sure to deliver the spent battery to a recycling facility or ship it to your dealer in the replacement battery packing material
Storage
Before storing, charge the UPS 5 hours. Store the UPS covered and upright in a cool, dry location. During storage, recharge the battery in accordance with the following table:
Storage Temperature | Recharge Frequency | Charging Duration |
-25°C – 40°C | Every 3 months | 1-2 hours |
| 40°C – 45°C | Every 2 months | 1-2 hours |
6. Specifications
| MODEL | 1K | 2K | 3K | |||||
CAPACITY | 1000VA/900W | 2000VA/1800W | 3KVA/2700W | |||||
| INPUT: | ||||||||
| Voltage Range | Low line Transfer | 165VAC/145VAC/120VAC/115VAC±10V(Ambient Temp.<35°C)(based on load percentage 100%-80%/80%-70%/70%-60%/60%-0) | ||||||
| Low line Comeback | 175VAC/155VAC/130VAC/120VAC±10V(Ambient Temp.<35°C)(based on load percentage 100%-80%/80%-70%/70%-60%/60%-0) | |||||||
| High Line Transfer | 295VAC±10V | |||||||
| High Line Comeback | 285VAC±15V | |||||||
| Frequency Range | 40Hz~70Hz | |||||||
| Phase Type | Single Phase with ground | |||||||
| Power Factor | ≥0.99 @220~230 VAC (Input Voltage) | |||||||
| Output: | ||||||||
| Output Voltage Range | 208VAC/220VAC/230VAC/240VAC | |||||||
| Voltage Rate | ±1% | |||||||
| Frequency Range | 47~53HZ or 57~63HZ (synchronized range) | |||||||
| Frequency Factor (Battery Mode) | 50Hz ± 0.25HZ or 60Hz ± 0.3HZ | |||||||
| Overload | 100%~110%: Audible alarm only; | |||||||
| Current Crest Ratio | 3:1 | |||||||
| Total Harmonic Distortion | ≤3% THD (linear load) ≤6% THD (non-linear load) | |||||||
| Transfer Time | AC to Battery Mode | 0 ms | ||||||
| Inverter Mode to Bypass | 4ms (Under standard status) | |||||||
| Waveform | Pure Sine Wave | |||||||
| Efficiency: | ||||||||
| Ac Mode | ~85% | ~88% | ||||||
| Battery Mode | ~83% | ~85% | ||||||
| BATTERY: | ||||||||
| Battery Type | 12V/7AH/9AH(standard mode) | |||||||
| Battery Numbers | 2/3 | 6 | 6/8 | |||||
| Recharging Time | 4 hours recover to 90% capacity (standard mode) | |||||||
| Charging Current | 1AMAX (standard mode) 1A/2A/4A/6A Adjustable (long-run mode) | |||||||
| Charging Voltage | 27.3V±1%/41V±1% | 82.1V+/-1% | 82.1V±1%/109.4V±1% | |||||
| PHYSCIAL: | ||||||||
| Dimension, D*W*H(mm) | 405*145*220 | 455*195*330 | ||||||
| Net Weight (kg) | 10.75 | 7.5 | 27.5 | 15 | 28.5 | 16 | ||
| ENVIRONMENT | ||||||||
| Operation Humidity | 20-90% RH@0-40 (non-condensing) | |||||||
| Noise Level | Less than 50dB@1 Meter | |||||||
| Storage Temperature | – 25°C-55°C | |||||||
| Altitude | <1000M | |||||||
| MANAGEMENT | ||||||||
| Smart RS-232 or USB | Supports Windows ® 2000/2003/XP/Vista/2008/7/8,Linux,Unix and MAC | |||||||
| Optional SNMP | Power management from SNMP manager and web browser | |||||||
*Long-run model is only available in 208/220/230/240VAC systems.
**Derate capacity to 80% of capacity in Frequency converter mode or when the output voltage is adjusted to 208VAC
***Product specifications are subject to change without further notice.
High altitude area load=Rated power*Derating coefficient
altitude(M) | 1000 | 1500 | 2000 | 2500 | 3000 | 3500 | 4000 | 4500 | 5000 |
| Derating coefficient | 100% | 95% | 91% | 86% | 82% | 78% | 74% | 70% | 67% |
Backup time
Model | Full load (mins) | Half load (mins) |
1KVA(24VDC) | 3.5MIN | 10MIN |
1KVA(36VDC) | 5.5MIN | 14MIN |
2KVA(72VDC) | 5.5MIN | 16MIN |
3KVA(72VDC) | 3.5MIN | 11MIN |
| 3KVA(96VDC) | 5.0MIN | 16MIN |
Common Symbol Description
Symbol | Description |
![]() | Caution |
![]() | Shock |
| Start UPS | |
![]() | Shut down UPS |
| Shut down UPS or Standby | |
| AC | |
| DC | |
![]() | Ground |
![]() | Mute |
![]() | Overload |
![]() | Battery examination |
![]() | Recycle |
| Don’t place with clutter |
7. Warranty & Maintenance Table Warranty
As with any manufactured device, repairs might be needed due to damage, inappropriate use, or unintentional defect. Please note the following guidelines regarding warranty service of our products:
- Any and all warranty repairs must conform to the terms of the warranty.
- All our equipment must be installed according to their accompanying instructions and manuals with specified over-current protection in order to maintain their warranties.
- The customer must return the component(s) to us, securely packaged, properly addressed, and shipping paid. We recommend insuring your package when shipping. Packages that are not securely packaged can sustain additional damage not covered by the warranty or can void warranty repairs.
- There is no allowance or reimbursement for an installer’s or user’s labor or travel time required to disconnect, service, or reinstall the damaged component(s).
- We will ship the repaired or replacement component(s) prepaid to addresses in the continental China, where applicable. Shipments outside the China will be sent freight collect.
- In the event of a product malfunction, we cannot bear any responsibility for consequential losses, expenses, or damage to other components.
- Please read the full warranty at the end of this manual for more information.
CE conformity
1K(S)/ 2K(S)/ 3K(S)
Safety: EN62040-1-1: 2003
Conducted Emission: EN50031-2 Class B
Radiated Emission: EN50091-2 Class B
Harmonic Current: EN61000-3-2
Voltage Fluctuations and Flicker: EN61000-3-3
EMS: EN61000-4-2(ESD) Level 4
EN61000-4-3(RS) Level 3
EN61000-4-4(EFT) Level 4
EN61000-4-5(lighting surge) Level 4
EN61000-2-2(Immunity to low frequency signals)
Maintenance Record Table
| Maintenance Date | Maintenance Time | Maintenance Content | Responsible Person | Note |
USER’S MANUAL
Online UPS
420-00133-B1






































