
RFSF-100
Flood detector

Characteristics
- The flood detector is used to detect water leakage – the activation occurs the moment the flooding of the contacts located on the underside of the detector occurs.
- Upon detecting water, the flood detector immediately sends a signal to the switched unit, which further switches on a pump, GSM gate or closes a pipe valve.
- It brings a quick solution to learn about unwanted flooding in your bathroom or kitchen, to which you can immediately respond with a paired actuator. Which can close, for example, the water supply to a flowing washing machine.
- Flood detection is signaled by vibration, optical and acoustic signaling. Low battery signaling 5 times by flashing the LED every 15 minutes or a warning in the iHC
application. - Range up to 160 m (in open space); if the signal is insufficient between the controller and unit, use the signal repeater RFRP-20 or protocol component RFIO2 that supports this feature.
Placement recommendations
After inserting the battery, pairing with the actuator and setting the required alarm, place the detector on a flat, non-conductive surface where flooding is expected. CAUTION: The flood detector detects only the presence of liquid that has reached the sensor.
We recommend placing the detector in a visible place.
The detector is intended for indoor use only.
Conductivity of liquids
Liquids suitable for detection
| Type of liquid | Resistivity |
| Drinking water | 5-10 kΩ |
| Well water | 2-5 kΩ |
| River water | 2-15 kΩ |
| Rainwater | 15-25 kΩ |
| Wastewater | 0.5-2 kΩ |
| Seawater | ~0.03 kΩ |
| Saltwater | ~2.2 kΩ |
| Natural / hard water | ~5 kΩ |
| Chlorinated water | ~5 kΩ |
| Condensed water | ~18 kΩ |
| Milk | ~1 kΩ |
| Milk serum | ~1 kΩ |
| Fruit juices | ~1 kΩ |
| Vegetable Juices | ~1 kΩ |
| Broths | ~1 kΩ |
| Wine | ~2.2 kΩ |
| Beer | ~2.2 kΩ |
| Coff ee | ~2.2 kΩ |
| Soap toam | ~18 kΩ |
Inadmissible liquids
- Demineralized water
- Deionized water
- Bourbon
- Gasoline
- Oil
- Liquid gases
- Paraffi n
- Ethylene glycol
- Paints
- High alcohol-content liquids
* Resistivity characterizes the resistive properties of materials which conduct electric current.
Radiofrequency signal penetration through various construction materials

![]() | ||||
| 80 – 95 % | 80 – 90 % | 60 – 90 % | 20- 60 % | 0 – 10 % |
| wooden structures with plasterboards | common glass | brick walls | reinforced concrete | metal partitions |
ELKO EP declares that the RFSF-100 type of radio equipment complies with Directive 2014/53 / EU.
The full EU Declaration of Conformity is available at: www.elkoep.com/flood-detector-rfsf-100
Compatibility
The detector is compatible with:
- switching components all switching components of the RF Control system (except blinds), which are marked with the RFIO2 communication protocol, eg RFSA-11B, RFSA-61M, RFSA-66M, RFUS-61, RFSC-61 …
- system components eLAN-RF, RF Touch, central units of the iNELS BUS system (CU3-0xM)
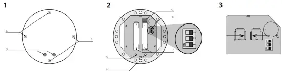
Indication, settings

a. Screw
b. Probes pads
c. Seal
d. Insulating foil
e. DIP
f. Battery
Before installing, open the detector cover with a screwdriver (Fig. 1). The adjustment settings are located inside the detector. Remove the insulating foil, check the correct placement of the battery. Indication
- Activation of the device: after removing the insulating foil or inserting the batteries, the blue LED lights up for 2 seconds and at the same time a message is sent to the device.
- Alarm: when the contacts are flooded, the detector sends a message to the paired component and at the same time signals an alarm condition.
Alarm signaling: 1x second LED fl ash alternates with 1x “beep” at second intervals. Alarm signaling when the battery is low: at second intervals, the LED fl ashes alternately with 2x “beeps”. - Alarm termination: after a few seconds of the flood drop (interruption of the connection of the sensing contacts) it sends a message to the paired component and switches off the signaling.
- Weak batteries: the detector fl ashes once and at a short time interval fl ashes 4 more times, this signaling is repeated in 15 minutes. interval until the batteries are completely discharged.
DIP switch settings - Position 1: OFF – normal function, ie: in case of flooding, the (relay) contact of the assigned component switches ON – negated function, ie: during fl ooding it opens the (relay) contact of the assigned component, at the end of flooding the contact is closed
- Position 2:
OFF – for pairing with a switching component – does not periodically send information about the current status
ON – for pairing with a system component (eLAN-RF, RF Touch, iNELS control panel) – sends a status message periodically after 120 minutes and when the status changes (flooding / end of fl o o d i n g ) - Position 3:
OFF – switched off sound signaling when contacts are fl wooded ON – on the audible alarm when contacts are fl wooded Save DIP switch settings
Set the DIP as required. Insert the batteries into the battery holder (observe the polarity). The blue LED on the detector lights up for 2 seconds – this saves the DIP switch settings. - Note: If the LED does not light up after inserting the batteries, you must reset the detector, ie: remove the batteries and connect the inside of the battery holders with light pressure (Fig.3) and then re-insert the batteries.
Safe handling
When handling a device unboxed it is important to avoid contact with liquids.
Avoid unnecessary contact with the components of the device.
Functions and programming with compatible switches
Description of function
The detector is designed to detect the presence of water in flooded areas. After detection, it immediately sends a command to the switching component, which continues to switch according to the set function.
Programming
Use a screwdriver to open the detector.

Remove one of the batteries fromthe holders.

Press of programming button on the compatible actuator for 1 second will activate actuator into programming mode. LED is fl ashing in 1s interval. 
Insert / remove the battery into the detector according to the required function, ie: 1x battery insertion / removal – function 1, 2x battery insertion / removal – function 2… Each insertion must be signaled by fl ashing blue LEDs, there must be a delay of 1 s between individual inserts.
Only for functions 5 and 6: Insert / remove the battery according to the required function (5x or 6x). Pressing the programming button for more than 5 seconds puts the device in to timer mode. The LED fl ashes twice at second intervals. When the button is released, the delay time starts to count.
Only for functions 5 and 6: After the required time has elapsed (between 2 s … 60 min), end the timing mode by inserting the battery into the detector. This saves the set time interval in the device’s memory.
Press of programming button on receiver RF shorter then 1 second will fi nish programming mode.
Replace the seal, attach the front cover – make sure the correct location. Screw-in, tighten the screws to maintain IP protection.
Programming with the RF control unit

The address listed on the back of the device is used for programming with RF system components.
Replacement of a battery
Use a screwdriver to open the detector.
![]()
Replace the batteries and check the correct location (when the batteries are inserted, the blue LED lights up for 2 seconds and a message is sent to the device at the same time).
Replace the seal, attach the front cover – make sure the correct location. Screw-in, tighten the screws to maintain IP protection.
Notice:
Only use batteries designed for this product correctly inserted in the device! Immediately replace weak batteries with new ones. Do not use new and used batteries together. If necessary, clean the battery and contacts prior to using. Avoid the shorting of batteries! Do not dismantle batteries, do not charge them and protect them from extreme heating – the danger of leakage! Upon contact with acid, immediately rinse the aff ected area with a stream of water and seek medical attention. Keep batteries out of the reach of children. Batteries must be recycled or returned to an appropriate location (e.g. collection container) in accordance with local legal provisions.
Technical parameters
| Power supply | |
| Battery power: | 2x 1.5 V AAA batteries |
| Battery life by frequency | 3 years / |
| Setting | |
| Alarm Detection: | optical and audible alarm |
| Battery status view: | low battery is indicated by 5 fl ashes every 15 minutes. or displayed in the system component |
| Acoustic signal: | greater than 45 dB |
| Detection | |
| Sensor: | contacts for flooding |
| Detection principle: | contact between the sensor sensed liquid |
| Response Time: | 2 s after connecting the scanning contacts |
| Measurement accuracy: | 99.8 % |
| Sensitivity: | in the range |
| Control | |
| Communication protocol: | RFIO |
| Frequency: | 866–922 MHz |
| Repeater function: | no |
| Signal transmission method: | unidirectionally addressed message |
| Range: | in open space up to 160 m |
| Other parameters | |
| Working temperature: | 0 .. +50°C (Pay attention to the operating temperature of batteries) |
| Storage temperature: | -20 .. +60°C |
| Operation position: | capture contacts for flooding downwards |
| Mounting: | loose |
| Protection degree: | IP62 |
| Dimension: | Ø 89 x 23 mm |
| Weight: | Ø 89 x 23 mm 92 |
Attention:
When you instal an iNELS RF Control system, you have to keep a minimal distance 1 cm between each units.
Warning
The instruction manual is designated for mounting and also for user of the device. It is always a part of its packing. Installation and connection can be carried out only by a person with adequate professional qualifi cation upon understanding this instruction manual and functions of the device, and while observing all valid regulations. The trouble-free function of the device also depends on transportation, storing and handling. In case you notice any sign of damage, deformation, malfunction or missing part, do not install this device and return it to its seller. It is necessary to treat this product and its parts as electronic waste after its lifetime is terminated. Before starting the installation, make sure that all wires, connected parts or terminals are de-energized. While mounting and servicing observe safety regulations, norms, directives and professional, and export regulations for working with electrical devices. Do not touch parts of the device that are energized – life threat. Due to the transmissivity of RF signal, observe the correct location of RF components in a building where the installation is taking place. RF Control is designated only for mounting in interiors. Devices are not designated for installation into exteriors and humid spaces. The must not be installed into metal switchboards and into plastic switchboards with metal door – transmissivity of RF signal is then impossible. RF Control must not be used for pulleys etc. – the radiofrequency signal can be shielded by an obstruction, interfered, battery of the transceiver can get fl at etc. and thus disable the remote control.
![]()
Support: +420 778 427 366 |
e-mail: [email protected]
www.elkoep.com




















