PIMA DFL Series DFL143 Wireless Flood Detector

OVERVIEW

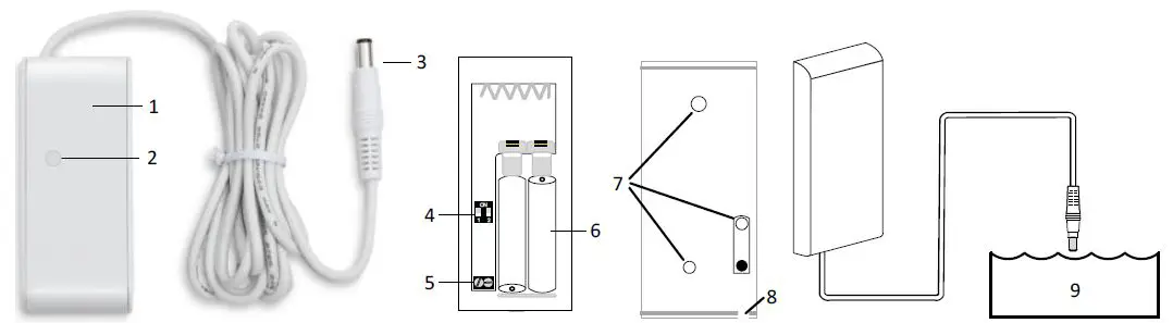
| 1 | DFL Detector |
| 2 | LED |
| 3 | Flood Sensor |
| 4 | DIP Switch1 |
| 5 | Wiring Terminal |
| 6 | Batteries |
| 7 | Mounting Holes (Back Side) |
| 8 | Wiring Inlet |
| 9 | Water |
DFL Wireless Flood Detector
The DFL is a FastLink technology wireless flood detector, designed for the FORCE Series and VISION intruder alarm systems. Using the DFL in FORCE requires the installation of a wireless receiver.
The DFL has a modern design and is battery-operated. The detector can detect the presence of water and water-based materials, and wirelessly transmit an event to the control panel. The detector is mounted where water can leak or flood, such as in homes, commercial facilities, basements, and yachts. The transmitter is mounted on a high spot, and the sensor where water leakage is probable. The DFL alerts on low battery conditions and has a tamper switch that alerts when its enclosure is opened or removed from the mounting surface. The DFL transmits a test event every 15 min. Its LED indicates on detections, tamper switch opening, and low battery. For enrollment information, see the alarm system’s Installation guide.
Cautions: the DFL is based on wireless (RF) transmissions. Any wireless transmission can be subject to RF interference and, although unlikely, this interference may cause the DFL to not operate as intended. RF transmissions will be attenuated by tinted glass, in-wall isolation with metal foils, metal objects, etc.
Technical specifications
| Frequency (MHz) | Models | |
| One-Way | Two-Way | |
| 433.92 | DFL143 | DFL243 |
| 868.95 | DFL187 | DFL287 |
- Battery: 2X 1.5V, AAA, Alkaline
- Battery Life Cycle: Up to 5 Years (Typical Usage)
- Sensor Cable Length: 2m
- Sizes: 8.5 X 3.5 X 1.4cm
- Weight: 70gr
- CE Compliance
- Operating Temperature: -10 to +55 °C
- Humidity (Max.): 93% R.H., Non-condensing
Content of the product package
- DFL detector.
- 2 batteries
- Screws and stickers
- This guide
How to replace the batteries

- Insert a slotted screwdriver to the slot at the bottom of the detector and remove the cover.
- Remove the batteries and place new batteries. Observe polarity! The green LED will flash once. When placing new batteries the detector warms up for 3 minutes – the tamper switch is ignored during this time.
- Replace the cover.
- Test the DFL.
How to install the DFL
You can mount the detector using the supplied screws or stickers. In any way, the water sensor must be placed as near as possible to the surface where water can leak, or wherever else water can leak. The detector must be mounted where leaking water cannot reach it, at least for a time which allows the detector to transmit a flood event. To mount the detector using screws, do the following.
- Insert a slotted screwdriver to the small slot at the bottom of the detector and open the enclosure.
- Remove the batteries.
- Remove the PCB (printed circuit board): insert a slotted screwdriver on any side of it, push it gently and lift it over the retainers.
- Remove the knockouts on the back of the enclosure (no. 7 in the figure on the first page) and fix it to the surface using the screws.
- Make sure to use the tamper’s screw (no. 7 in the figure on the first page) for the DFL to alert when it is removed from the mounting surface.
- When using the stickers to mount the DFL, the tamper will not alert when it is removed from the mounting surface.
- Replace the PCB and insert the batteries. Observe polarity! The green LED will blink one time.
- Set the DIP switch; see how below.
- Connect the two wires of the sensor to the terminal block (no. 5 in the figure on the first page).
- Fix the sensor to a firm surface vertically, with the sensor facing down, as seen in the figure on the first page (no. 9). Securing the cable with clips (not supplied) is recommended.
- Enroll the DFL and test it; see the alarm system’s installation guide for details.
- Test the sensor; see below how.
- Close the detector’s enclosure.
The DIP switch5
| Switch | ON | OFF |
| 1 | Not in use | |
| 2 – LED | On | Off |
LEDs
| Color and state | Description | Color and state | Description | ||||
| 1 blink | Battery OK, tamper closed | 1 blink | Battery OK, tamper open | ||||
| Green | 2 blinks* | Reception level: good | Red | 2 blinks | Low battery | ||
| 3 blinks* | Reception level: excellent | 3 blinks* | Reception level: poor | * Two-way only | |||
How to test the DFL
Test the DFL by bringing the flood sensor into contact with water and making sure an event is transmitted to the control panel. The green LED will flash once. Dry the flood sensor. The green LED will flash once again.
Ordering information
| One-way | Two-way | ||
| · DFL143: P/N 8831006 | · DFL187: P/N 8831029 | · DFL243: P/N 8831206 | · DFL287: P/N 8831229 |


















