ubiolabs
4-in-1 Wireless
Charging Valet
Designed to keep Apple® devices charged and organized
User Manual and Safety Instructions
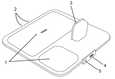
Charging Pad Features

Features
- Q1 Wireless Surfaces
- LED Charge Indicators
- Watch Charger
- USB-C Output
- DC Power In
Technical Specifications
Component AWC1118
Input: 18V
, 3.5A
Wireless Output: 15W / 10W / 7.5W / 5W
Watch Module Output: 5W USB-C
Output: 5V
, 3A/9V, 2.78A, 25W
Charge Indicator: White/amber’ LED indicator
Dimensions: 49 x 165 x 165 mm (1.9 x 6.5 x 6.5 in)
Weight 300g (10.5 oz.)
Your wireless pad is designed to provide optimal charging for your wireless device:
- 15W Qi-compatible with a supported device
- 10W Qi-certified fast charging for Samsung Galaxy S6 and later, Samsung Note5 and later, Motorola, LG
- 7.5W wireless charging for iPhone 8 and later
- Compatible with AirPods wireless charging case, Google Pixel 3/3XL, and other compatible devices
Wall Adapter

Technical Specifications
Model: CHG1147SG
Input: AC 110-240V, 50-60 Hz, 1.3A
Output: 63W, DC 18V, 3.5A
Dimensions: 80 x 78 x 29 mm (3.2 x 3.1 x 1.1 in)
Weight:139 g (4.9 oz)
DO NOT RETURN TO THE STORE
Our customer service team is here to help.
Model: WCB268/AWC1118
www.ubiolabs.com
[email protected]
866-642-4428 (Monday – Friday 9am – 4:30pm PST)
110 110th Ave NE, Suite 520 Bellevue, WA 98004
SAVE THESE INSTRUCTIONS
Warranty
At Ubio Labs, we are dedicated to designing and manufacturing products with superior performance and 100% customer satisfaction. All of our products come with a 1-year limited warranty from the date of purchase.
We are always improving our products’ features and functionality. We reserve the right to change product specifications at any time without notice.
IMPORTANT, RETAIN FOR FUTURE REFERENCE: READ CAREFULLY
Important Safety Instructions
FCC Statement
This device complies with Part 15 of the FCC Rules. Operation is subject to the following two conditions: (1) this device may not cause harmful interference, and (2) this device must accept any interference received. including interference that may cause undesired operation.
Caution: The user Is cautioned that changes or modifications not expressly approved by the party responsible for compliance could void the user’s authority to operate the equipment.
Note: This equipment has been tested and found to comply with the limits for a Class B digital device, pursuant to part 15 of the FCC Rules. These limits are designed to provide reasonable protection against harmful interference in a residential installation. This equipment generates uses and can radiate radio frequency energy and, if not installed and used in accordance with the instructions, may cause harmful interference to radio communications. However, there is no guarantee that interference will not occur in a particular installation. If this equipment does cause harmful interference to radio or television reception, which can be determined by turning the equipment off and on, the user is encouraged to try to correct the interference by one or more of the following measures:
—Reorient or relocate the receiving antenna.
—Increase the separation between the equipment and receiver.
—Connect the equipment into an outlet on a circuit different from that to which the receiver is connected.
—Consult the dealer or an experienced radio/TV technician for help.
The equipment complies with FCC radiation exposure limits set forth for an uncontrolled eviroment.
The equipment should be installed and operated with a minimum distance 20cm between the radiator and your body.
IC Statement
This device complies with Industry Canada licence-exempt RSS standard(s). Operation is subject to the following two conditions: (1) This device may not cause interference, and (2) This device must accept any interference, including interference that may cause undesired operation of the device.
The device has been evaluated to meet general RF exposure requirements. To maintain compliance with RSS102 — Radio Frequency (RF) Exposure guidelines, this equipment should be installed and operated with a minimum distance of 10cm between the radiator and your body.
This device is incompatible with the following products: HUAWEI MatePad Pro (MRX-AL09, MRX-AL19)
*A blinking amber LED indicates a foreign object has been detected (metal objects like keys, coins, magnets, etc.) and the device is automatically turned off to ensure safety. Removal of foreign objects and proper alignment of the phone will result in normal operation.



















