Traveler & Xtra Owner’s Manual

ZIP03 Traveler and Xtra 3-Wheel Lightweight Scooter
Warnings/Uses
Intended Use: The intended use of Zip’r Mobility products is to provide mobility to persons limited to a seated position that have the capacity to operate a mobility scooter.
Regarding Devices for Prescription Use: CAUTION! Federal law restricts the sale of this device by or on the order of a physician, or other certified personnel legally licensed by the State (the US only) or region in which this personnel practices to use or order the use of the device.
NOTE: This owner’s manual is compiled from the latest specifications and product information available at the time of publication. Zip’r Mobility reserves the right to make changes and alterations as they become necessary. Any changes to our products may cause slight variations between the illustrations and explanations in this manual and the product you have purchased. The latest/current version of this manual is available on zipr.com.
NOTE: This product is compliant with RoHS, and REACH directives and requirements.
ZIP’R MOBILITY CONTACT INFORMATION
For customer support please fill out the contact us form on www.zipr.com
MY AUTHORIZED DEALER:………………
DEALER TELEPHONE #:………..
Zip’r 3/Zip’r 4/Zip’r Xtra Serial #: …………………..
(Located underneath the scooter battery box)
Product Safety Symbols
The symbols below are used on the mobility scooter to identify warnings, mandatory actions, and prohibited actions. It is very important for you to read and understand them completely.![]()
Safety Guidelines
WARNING! An authorized Provider or qualified technician must perform the initial setup for this mobility scooter following all the procedures detailed in this manual.
The symbols below are used throughout the owner’s manual and on the scooter to identify warnings and important information. It is very important for you to read them and understand them completely.
WARNING! Indicates a potentially hazardous condition/situation. Failure to follow designated procedures can cause either personal injury, component damage, or
malfunction. On the product, this icon is represented as a black symbol on an orange triangle with a black border.
mandatory! These actions should be performed as specified. Failure to perform mandatory actions can cause personal injury and/or equipment damage.
PROHIBITED! These actions are prohibited. Prohibited actions should not be performed at any time or in any circumstances. Performing a prohibited action can cause personal injury and/or equipment damage.
General
MANDATORY! Do not operate your new mobility scooter for the first time without completely reading and understanding this owner’s manual.
Your mobility scooter is a state-of-the-art life-enhancement device designed to increase mobility. Zip’r Mobility provides an extensive array of products to best fit the individual needs of users. Please be aware that the final selection and purchasing decision regarding the type of mobility scooter to be used is the responsibility of the mobility scooter user who is capable of making such a decision and his/her healthcare professional (i.e., medical doctor, physical therapist, etc.)
The contents of this manual are based on the expectation that a mobility device expert has properly fitted the mobility scooter to the user and has assisted the prescribing healthcare professional and/or the authorized provider in the instruction process for the use of the product. There may be certain situations, including some medical conditions, where the mobility scooter user will need to practice operating the mobility scooter in the presence of a trained attendant. A trained attendant can be defined as a family member or care professional specially trained in assisting a mobility scooter user in various daily living activities.
As you begin using your mobility scooter during daily activities, you will probably encounter situations in which you will need some practice. Simply take your time and you will soon be in full and confident control as you maneuver through doorways, on and off elevators, up and down ramps.
Provided below are some precautions, tips, and other safety considerations that will help you become accustomed to operating the mobility scooter safely.
PRE-RIDE SAFETY CHECK: Get to know the feel of your mobility scooter and its capabilities. We recommend that you perform a safety check before each use to make sure your mobility scooter operates smoothly and safely. Perform the following inspections prior to using your mobility scooter:
- Check all harness connections. Make sure they are secured properly.
- Check the battery level indicator to ensure the batteries are fully charged.
- Check the brakes to ensure they operate properly.
- Check the condition of the tires. Make sure they are not damaged or excessively worn.
- Check all electrical connections. Make sure they are tight and not corroded.
- Ensure the manual freewheel lever is in drive mode before sitting on the mobility scooter.
- Charge your mobility scooter for 6-8 hours prior to using it for the first time.
If you discover a problem, contact your authorized provider for assistance. Please refer to the Contact Information. Your Mobility Scooter The Zip’r Traveler series mobility scooter consists of the following major components listed in the diagram below.

Tiller Console: The tiller console houses all controls needed to drive your mobility scooter, including the key switch, throttle control lever, horn button, speed adjustment dial, headlight switch, battery level indicator, and troubleshooting LED indicator.
PROHIBITED! Do not expose the tiller console to moisture. In the event that the tiller console does become exposed to moisture, do not attempt to operate your mobility scooter until the tiller console has dried thoroughly.
Horn Button
This button activates a warning horn. In order for the horn to sound your mobility scooter must be turned on. Use of the warning horn may prevent accidents or injury.
Key Switch ![]()
- Insert the key into the key switch and turn it clockwise to turn on your mobility scooter.
- Turn the key counterclockwise to turn off your mobility scooter.
Although the key can be left in the key switch when the mobility scooter is turned off, we highly recommend removing it to prevent unauthorized use of your mobility scooter.
Battery Level Indicator
When the scooter is turned on, this meter indicates the approximate battery level.
Speed Adjustment Dial ![]()
This dial allows you to preselect and limit your mobility scooter’s top speed.
- The image of the tortoise represents the slowest speed setting.
- The image of the hare represents the fastest speed setting.
Throttle Control Lever
This lever allows you to control the forward and reverse speeds of your scooter up to the maximum speed you preset using the speed adjustment dial.
- To move forward, use your right thumb to push the right side of the throttle control lever.
- To Reverse, use your left thumb to push the left side of the throttle control lever.
Light Switch
This switch controls your mobility scooter’s front headlight.
- Toggle the switch forward to turn on the lighting system.
- Toggle the switch rearward to turn off the lighting system.
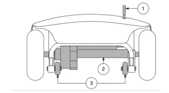
Rear Components
The (1) manual freewheel lever, (2) motor/transaxle assembly, and (3) anti-tip wheels are located on your mobility scooter as shown.

Motor/Transaxle Assembly
The motor/transaxle assembly is an electromechanical unit that converts electrical energy from your mobility scooter’s batteries into the mechanical energy that propels the mobility scooter forward and backward.
Manual Freewheel Lever
If you need or want to push your mobility scooter manually, you can put it in freewheel mode.
- Locate the manual freewheel lever (see the diagram above).
- Push forward on the manual freewheel lever to disable the drive and brake systems. You may now push your mobility scooter.
- Push the manual freewheel lever backward to re-engage the drive and brake systems; this takes your mobility scooter out of freewheel mode.
WARNING! When your mobility scooter is in freewheel mode, the braking system is disengaged.
- Disengage the drive motors only on a level surface.
- Ensure the key is removed from the key switch.
- Stand to the side of the scooter to engage or disengage freewheel mode. Never sit on a scooter to do this.
- After you have finished pushing your mobility scooter, always return it to the drive mode to lock the brakes
To Engage or Disengage the Drive System
- Locate the lever on the rear section of the scooter (see the diagram above).
- Pull the two levers toward the rear of the mobility scooter to engage the drive motors (drive mode).
- Push the two levers toward the front of the mobility scooter to disengage the drive motors (freewheel mode).
WARNING! Do not use the freewheel lever as a tie-down point to secure this product.
Anti-Tip Wheels
The anti-tip wheels are an integral and important safety feature of your mobility scooter. They are bolted to the frame at the rear of the mobility scooter.
PROHIBITED! Do not remove the anti-tip wheels or modify your mobility scooter in any way.
WARNING! The anti-tip wheels may cause interference with the smooth transition of your mobility scooter when ascending or descending a curb.
Battery Pack
Your mobility scooter is equipped with an innovative, easy-to-remove battery pack. A handle on the top of the battery pack makes it easy to lift the pack off of the mobility scooter. The battery pack contains two rechargeable batteries, and the main circuit breaker (reset button).
Assembly & Disassembly
The following are the steps required to assemble your Zip’r mobility scooter. Disassembly can be achieved by following all of the steps in reverse order. Figure 1. There are five main sections that need to be assembled: Front frame, rear frame, battery box, seat post, and seat.

Figure 2. To begin assembly, tilt the rear frame back so it is free-standing on the rear bumper. Lift the front frame up and set it down onto the rear frame by connecting the front frame curved locking brackets (one on each side) onto the rear frame bracket pegs (one on each side).

Figure 3. After the steps in Figure 2 have been completed, the mobility scooter should be in this position.

Figure 4. The latch in the middle of the rear frame must be pressed together during assembly and disassembly, in order to release the rear frame from the front frame.

Figure 5. Holding the seat post, slowly push the rear frame forward with a downward motion until the latch in Figure 4. locks onto the front frame locking peg.

Figure 6. Loosen the tiller adjustment knob, raise the tiller to the desired angle, and retighten the tiller adjustment knob. Unlock the tiller lock located at the bottom front of the cooter tiller by pushing and turning the knob. (
WARNING! The mobility scooter will not turn if the lock is not released. The tiller lock should only be locked during transportation).

Figure 7. Carefully place the battery box into the battery compartment. Lightly press down on the front and rear of the battery box to ensure that the front and rear connections have fully engaged.
Figure 8. Insert the chrome seat post extension into the seat post. Insert the seat post pin in at the desired height.

Figure 9. Install the seat by lowering the seat into the seat post extension, rotating it until it locks into position facing towards the tiller.
NOTE: To use the swivel seat function pull on the lever (located at the right of the seat).

Figure 10. The fully assembled Zip’r Traveler mobility scooter.
Disassembly of your scooter can be accomplished by following the above steps in reverse order.
Batteries And Charging
Your mobility scooter requires two 12-volt, batteries. The batteries are recharged by the offboard charger that is included with every Zip’r Traveler and Xtra mobility scooter.
- Charge your mobility scooter batteries for at least 6 to 8 hours prior to using it for the first time.
- Keep the batteries fully charged to keep your mobility scooter operating smoothly.
- We advise that the batteries should be charged for 6 to 8 hours every 2 weeks when the scooter is not being used.
Battery Level
The battery level indicator on the tiller console indicates the approximate strength of your batteries using a color code. From top to bottom, green indicates fully charged batteries, yellow a medium level, and red indicates that an immediate recharge is necessary. To ensure the highest accuracy, the battery indicator should be checked while operating your mobility scooter at full speed on a dry, level surface.
PROHIBITED! Removal of grounding prongs can create electrical hazards. If necessary, properly install an approved 3-prong adapter to an electrical outlet having 2-pronged plug access.
PROHIBITED! Never use an extension cord to plug in your battery charger. Plug the charger directly into a properly wired standard electrical outlet.
PROHIBITED! Do not allow unsupervised children to play near the mobility scooter while the batteries are charging. Do not charge the batteries while the mobility scooter is occupied.
MANDATORY! Read the battery charging instructions in this manual and in the manual supplied with the battery charger before charging the batteries.
WARNING! Explosive gases may be generated while charging the batteries. Keep the mobility scooter and battery charger away from sources of ignition such as flames or sparks and provide adequate ventilation when charging the batteries.
WARNING! You must recharge your mobility scooter’s batteries with the provided off-board charger. Zip’r Mobility can provide replacement chargers if needed.
WARNING! Inspect the battery charger, wiring, and connectors for damage before each use. Contact your authorized provider if the damage is found.
WARNING! Do not attempt to open the battery charger case. If the battery charger does not appear to be working correctly, contact your authorized provider.
WARNING! Be aware that the battery charger case may become hot during charging. Avoid skin contact and do not place it on surfaces that may be affected by heat.
PROHIBITED! Always use two batteries of the exact same type, chemistry, and amp-hour (Ah) capacity.
WARNING! Do not mix old and new batteries. Always replace both batteries at the same time.
WARNING! Contact your provider if you have any questions regarding the batteries in your mobility scooter.
WARNING! Do not replace the batteries while the mobility scooter is in-use or occupied.
WARNING! The batteries on your mobility scooter should only be serviced or replaced by an authorized provider or a qualified technician.
PROHIBITED! Keep tools and other metal objects away from battery terminals. Contact with tools can cause electrical shock.
WARNING! Do not lift beyond your physical capability. Ask for assistance when necessary while disassembling or assembling your scooter.
WARNING! Do not pull-on electrical harness wires. Always grasp the connector itself when disconnecting the harness to prevent wire damage.
WARNING! To avoid confusion when replacing batteries, replace one battery at a time.
Operating Your Mobility Scooter
Before Getting onto Your Mobility Scooter
- Have you fully charged the batteries?
- Is the manual freewheel lever in the drive (rearward) position? Never leave the manual freewheel lever in the forward position unless you are manually pushing your mobility scooter.
- Ensure the tiller knob is secured.
Getting onto Your Mobility Scooter
- Make certain that the key is removed from the key switch.
- Stand at the side of your mobility scooter.
- Disengage the swivel seat lever and rotate the seat until it is facing you.
- Make certain that the seat is secured into position.
- Position yourself comfortably and securely in the seat.
- Disengage the swivel seat lever and rotate the seat until you are facing forward.
- Make certain that the seat is secured into position.
- Make certain that your feet are safely on the floorboard.
WARNING! Never attempt to get onto or off of your mobility scooter without first removing the key from the key switch. This will prevent the mobility scooter from moving if accidental contact is made with the throttle control lever.
Pre-Ride Adjustments and Checks
- Is the seat at the desired height?
- Is the seat fully secured?
- Is the tiller in a comfortable setting and fully secured?
- Is the key fully inserted into the key switch and turned clockwise to the “on” position?
- Does the mobility scooter’s horn work properly?
- Is your proposed path clear of people, pets, and obstacles?
- Have you planned your route to avoid adverse terrain and as many inclines as possible?
NOTE: Use caution when operating your scooter on delicate surfaces as scuffing and/or marking may occur.
Operating Your Mobility Scooter
- Set the speed adjustment dial to your desired speed.
- Press your thumb on the appropriate side of the throttle control lever.
- Pull on the left handgrip to steer your mobility scooter to the left.
- Pull on the right handgrip to steer your mobility scooter to the right.
- Move the tiller to the center position to drive straight ahead.
- To stop, slowly release the throttle control lever. The electromagnetic regenerative brakes will automatically engage when your mobility scooter comes to a stop.
WARNING! The following can adversely affect steering and stability while operating your mobility scooter:
- Holding onto or attaching a leash to walk your pet.
- Carrying passengers (including pets).
- Hanging any article from the tiller.
- Towing or being pushed by another motorized vehicle.
NOTE: Your mobility scooter’s reverse speed is slower than that of the forward speed you preset with the speed adjustment dial.
Getting Off Your Mobility Scooter
- Bring your mobility scooter to a complete stop.
- Remove the key from the key switch.
- Disengage the swivel seat lever and rotate the seat until you are facing toward the side of your mobility scooter.
- Make certain that the seat is secured into position.
- Carefully and safely get out of the seat and stand to the side of your mobility scooter.
- You can leave the seat facing to the side to facilitate boarding your mobility scooter next time.
WARNING! Never attempt to get onto or off of your mobility scooter without first removing the key from the key switch. This will prevent the mobility scooter from moving if accidental throttle control lever contact is made.
Comfort Adjustments
Tiller Angle Adjustment

WARNING! Remove the key from the key switch before adjusting the tiller or the seat. Never attempt to adjust the tiller or the seat while the mobility scooter is in motion.
WARNING! Prior to operating the scooter, push and pull on the tiller to ensure that the angle adjustment mechanism is secure. Inspect the tiller adjustment knob and the angle adjustment mechanism to ensure that they are fully engaged. If there is movement in the tiller, check to make sure that the tiller adjustment knob is fully tightened.
NOTE: In order to fully lower the tiller for disassembly, you must first remove the seat. Remove the seat by pulling it straight up and off of the mobility scooter. It is advised that you also remove the battery back during disassembly.
Swivel Seat Adjustment
The swivel seat lever, located on the right side of the seat base, secures the seat into position.
- Pull up on the swivel seat lever to disengage the seat.
- Rotate the seat to the desired position.
- Release the lever to secure the seat into place.
Armrest Width Adjustment
The width of the armrest can be adjusted inward or outward.
- Loosen the armrest adjustment knobs.
- Slide the armrests in or out to the desired width.
- Align the adjustment holes on the seat frame and armrest,
- Tighten the armrest adjustment knobs.
NOTE: Lift armrests upward to aid in getting on and off your mobility scooter.
Seat Height Adjustment
The seat can be repositioned to different heights.
- Use the attached ring to pull and remove the detent pin from the lower seat post.
- Raise or lower the upper seat post to the desired seat height.
- While holding the upper seat post at that height, align the adjustment holes of the upper and lower seat posts. Fully insert the detent pin.
- Replace the seat.
NOTE: To adjust the seat height you may need to fully remove the seat.
Care And Maintenance
Your Zip’r Traveler requires a minimal amount of maintenance. The following are the maintenance items that should be followed to ensure that your scooter is both safe and operational.
Daily
- Charge your battery daily if your scooter is used for more than twenty minutes.
- Always store your scooter in a warm and dry climate-controlled environment.
Cleaning
- The scooter shroud is made from durable ABS plastic with a high gloss finish. The scooter can be cleaned by using a damp towel.
- A light application of car wax may be used to help retain the shroud’s high gloss finish.
- Use a rubber conditioner on your scooter’s tire sidewalls to help preserve them.
- Bumpers and trim pieces will benefit from an occasional application of rubber or vinyl conditioner.
Cleaning
- The scooter shroud is made from durable ABS plastic with a high gloss finish. The scooter can be cleaned by using a damp towel.
- A light application of car wax may be used to help retain the shroud’s high gloss finish.
- Use a rubber conditioner on your scooter’s tire sidewalls to help preserve them.
- Bumpers and trim pieces will benefit from an occasional application of rubber or vinyl conditioner.
PROHIBITED! Do not spray the entire scooter with water as this can permanently
damage electrical components and upholstery. A light application of car wax will help the shrouds retain their high gloss.
PROHIBITED! Do not apply rubber conditioner on the tire tread; this may cause the tires to become dangerously slippery.
PROHIBITED! Do not use a rubber or vinyl conditioner on the scooter’s vinal seat or floorboard, doing so may cause the surfaces to become dangerously slippery resulting in personal injury and/or damage to your scooter.
MANDATORY! Always protect batteries from freezing temperatures and never charge batteries in temperatures below freezing, doing so will result in damage to the battery and cause personal injury.
Maintenance
- Regularly check the tires for wear and replace if worn.
- Regularly check the seat posts for wear, contact Zip’r if worn.
- The motor/transaxle assembly and axle bearings are pre-lubricated and sealed and require no additional lubrication.
- Keep the console, charger, battery, and electronics free of moisture.
- For prolonged storage, it is advised to place several boards under the frame of your scooter raising it off the ground. Doing so may reduce the possibility of unevenness developing on flat-free tires.
Troubleshooting
As with any electromechanical device, mobility scooters may occasionally require troubleshooting. Many issues can be resolved by referring to the options below. If the mobility scooter will not move, please check the following:
- The battery box is fully inserted and correctly set in place.
- The brake release lever (free wheel lever) is in the drive position (rear position).
- The battery is fully charged.
- The key is in the ignition and turned on.
If the mobility scooter is charged but does not move, please check to ensure the following:
- The scooter may be in freewheel mode (brake release lever in forwarding position). If this is the case then remove your key from the ignition, push the free-wheel lever to the drive position (rear position), and reinsert your key into the ignition turning the scooter on.
If the battery does not hold a charge or the motor surges when the throttle is pressed, then:
- Fully charge your scooter’s battery (see section “Batteries and Charging”).
- Remove the battery case cover (Philips screws) and replace the fuse.
- A load test should be conducted on each battery.
If there seems to be no power, check to ensure the following:
- The battery box is correctly inserted and fully pressed into position. Check the male and female power plugs, making sure that they are not damaged or corroded.
- Verify that the battery is fully charged (see section “Batteries and Charging”).
- Push the main circuit breaker reset button (located on the battery).
- Remove the battery case cover (removing the Philips screws) and replace the fuse.
Your Zip’r Traveler requires a minimal amount of maintenance.
The following are the maintenance items that should be followed to ensure that your scooter is both safe and operational. Self-Diagnostic Warning Light (Troubleshooting LED Indicator) Your scooter is equipped with a Self-Diagnostic Warning Light, also called the Troubleshooting Indicator Light which is located on the control stack of your mobility scooter. To check the SelfDiagnostic Warning Light, turn on the key and count the number of flashes the Warning Light generates, refer to the chart below.
NOTE: If the indicator blinks continuously but the scooter is fully functional, this may indicate that the battery will soon need a full charge.
| No of Flashes | Explanation |
| 1 | The battery needs charging or there is a poor battery connection. Charge the battery fully and check battery connections and then turn the key switch off and on. |
| 2 | Poor Motor Connection. Check all connections between the motor and dashboard controller and then turn the key switch off and on. |
| 3 | Potential short circuit between motor and battery. Contact Zipr Mobility for assistance. |
| 6 | The scooter has entered drive inhibited mode, this may be a result of the battery charger still being connected to the scooter. Disconnect and turn the key off and on. |
| 7 | A throttle fault has occurred. Verify that the throttle is not stuck in forward/reverse and then turn the key switch off and on. |
| 8 | A controller fault has occurred. Check to see that all connections from the controller are secure and then turn the key switch off and on. |
| 9 | The freewheel lever (parking brake) is not in the drive position. Firmly push the lever to the rear position and then turn the key switch off and on. |
| 10 | An excessive amount of voltage has been applied to the controller. This is usually caused by a poor battery connection. Check connections and turn the key off and on. |
Warranty
If you purchased a warranty from an authorized dealer then contact your dealer directly for details and warranty service. If you purchased directly through Zip’r our manufacturer’s warranty below applies to your scooter and or electric wheelchair.
Warranty Registry
Zip’r requires that customers register their product on Zipr.com within 30 days of purchase for the warranty to be valid.
Customers that fail to register their product within 30 days of purchase will have a voided warranty and Zip’r mobility will not be responsible for any claims and damages of any
purchased Zip’r products.
How Do I Register My Warranty?
Under the resources, tab click Register Your Product. Fill out the corresponding information attached & click submit. A confirmation email will be sent.
Three-Year Limited Warranty: Three years warranty on all structural frame components; including platform, fork, seat post, and frame. The zip will replace the defective scooter and or electric wheelchairs or rail replacement parts.
One-Year Limited Warranty:
One-year warranty on drivetrain components, including transaxle, motor, and electronic components. The zip will replace the defective scooter and or electric wheelchair or mail
replacement parts.
Customers will need to contact their own Repair/Service Technicians for any mechanical work to be done due to warranty issues. The zip will provide warranty items directly to the customer(s) or customers’ Repair/Service Technicians.
If you would like a list of Repair/Service Technicians, which have been provided to Zip’r by several customers, please email us at [email protected].
Returns to providers or Zip’r mobility without prior authorization, for any reason, will not be accepted.
Warranty Exclusions:
The following are wearable components and not warranted
- ABS plastic shrouds and footrest
- Motor brushes
- Brake pads
- Tires
- Upholstery and seating
- Batteries
Other Items Not Warranted:
Repairs and/or modifications made to any part of the scooter without specific and prior consent from Zip’r Mobility, circumstances beyond the control of Zip’r Mobility, labor service calls, and shipping costs and other charges incurred for repair of the product.
There is no other express warranty. Implied warranties, including those of merchantability and fitness for a particular purpose, are limited to one (1) year from the date of original
purchase and to the extent permitted by law. Any and all implied warranties are excluded.
This is the exclusive remedy. Liabilities for consequential damages under any and all warranties are excluded.
Some states do not allow limitations on how long an implied warranty lasts or the exclusion or limitation of incidental or consequential damages.
All warranty claims must be accompanied by proof of purchase, order number, and product serial number (if applicable). Please keep a copy of your original purchase receipt and serial number (located under the battery box) for warranty claims and/or product reference.
Warranty is only valid for products purchased, registered within 30 days of purchase, and shipped within the continental USA.
Zip’r Mobility contact information: Web site: www.zipr.com
For customer support please fill out the contact us.


















