TREND TW40070AB 1 Light 5 inch Aged Brass Sconce Instruction Manual
CAUTION
WARNING: Risk of Fire. Consult a qualified electrician to ensure correct branch circuit conductor. Min 90ºC supply conductors.
Turn off the main power at the circuit breaker before installing the fixture, in order to prevent possible shock.
GENERAL
All electrical connections must be in accordance with local and National Electrical Code (N.E.C.) standards. If you are unfamiliar with proper electrical wiring connections obtain the services of a qualified electrician.
Remove the fixture and the mounting package from the box and make sure that no parts aremissing by referencing the illustrations on the installation instructions.
ASSEMBLY AND INSTALLATION
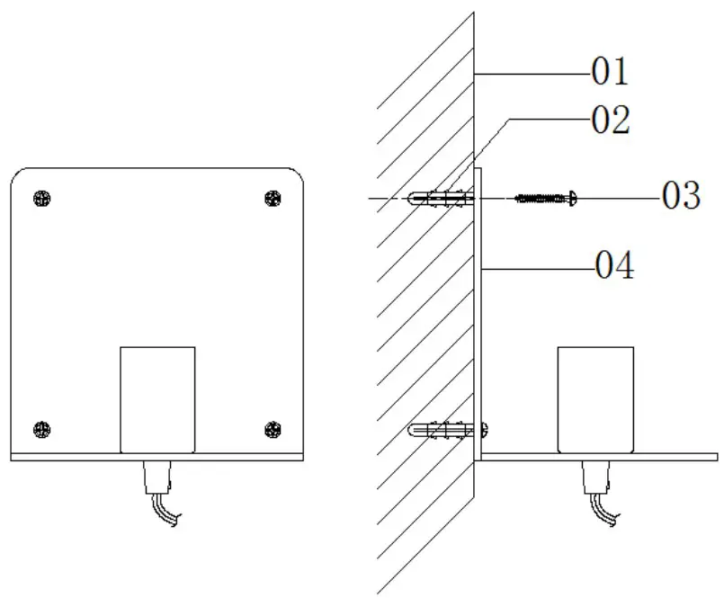
- WALL
- ANCHOR
- MOUNTING SCREW
- BACKPLATE

- Put back plate (04) against wall (01) and mark the 4 hole locations on wall (01).
- Drill the holes on the marked locations and put anchors (02) in.
- Align the holes on back plate (04) to the 4 anchors (02) and thread mounting screws (03) into anchors (02).
- Install bulb (not included0. DO NOT EXCEED THE SPECIFIED WATTAGE.
INSTALLATION IS NOW COMPLETE




















