TW40020AB
INSTALLATION INSTRUCTIONS
TW40020AB Perret 2-Light Aged Brass Sconce
Please read carefully and save these instructions, as you may need them at a later date.
CAUTION
WARNING: Risk of Fire. Consult a qualified electrician to ensure correct branch circuit conductor. Min 90ºC supply conductors.
Turn off the main power at the circuit breaker before installing the fixture, in order to prevent possible shock.
GENERAL
All electrical connections must be in accordance with local and National Electrical Code (N.E.C.) standards. If you are unfamiliar with proper electrical wiring connections obtain the services of a qualified electrician.
Remove the fixture and the mounting package from the box and make sure that no parts are missing by referencing the illustrations on the installation instructions.
ASSEMBLY AND INSTALLATION
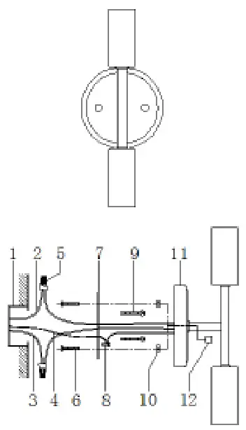
- Thread back plate screws (6) through mounting bar (7) and secure with hex nuts (10).
- Attach mounting bar (7) to outlet box (1) with box screws (9).
- Make wire connection with white Wire (2) and black wire (3). Use wire nuts (5) to secure the connections. Secure ground wire (4) and ground wire from the fixture to mounting bar (7) with ground screw (8).
- Align back plate screws (6) to the holes on back plate (11) and secure back plate (11) to the wall with ball nuts (12).
INSTALLATION IS NOW COMPLETE

| 1. OUTLET BOX | 7. MOUNTING BAR |
| 2. WHITE WIRE | 8. GROUND SCREW |
| 3. BLACK WIRE | 9. BOX SCREW |
| 4. GROUND WIRE | 10. HEX NUT |
| 5. WIRE NUTS | 11. BACK PLATE |
| 6. BACK PLATE SCREW | 12. BALL NUT |




















