SHARPER IMAGE MXW2022E RC Monster Baja Truck Instruction Manual
Operating Instructions
- Carefully remove items from package.

- Installing the vehicle battery:
- Make sure the ON/OFF switch is set to OFF.
- Open the battery compartment.
- Insert AA batteries, respecting the + and — polarities.
- Replace the cover.

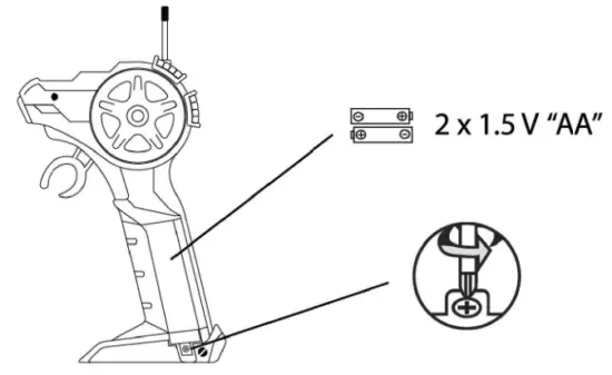
- Installing batteries in the transmitter:
- Open the battery compartment.
- Insert AA batteries, respecting the + and — polarities.
- Replace the cover.





If the car tends to drift to the left or right on its own, move the trimmer (beneath the car) to the right or left respectively to adjust the steering.
For best performance, always point the antenna towards the car.
TROUBLESHOOTING GUIDE:
- Make sure the vehicle power is on.
- Make sure the batteries in transmitter and vehicle have sufficient charge.
- Check if the batteries in transmitter and vehicle are inserted with correct polarity.
- Check if the distance between transmitter and vehicle will not exceed more than 20m.
SAFETY PRECAUTIONS
- Adult supervision is recommended when operating car.
- Do not submerge car or controller in water.
- Do not use people or animals as obstacles.
- Do not run car into furniture objects or hard surfaces as this will cause damage to both the objects car.
- Keep fingers, hair and loose clothing away from tires, gears, and motor while car is switched 😮 ‘ON’.
- Do not leave car or transmitter near sources of heat or under direct sunlight for long periods e time.
- Remove all batteries when not in use to avoid accidental operation.
- Thoroughly inspect products before every use. If the product appears worn, fray/splintered, cracked, or broken in any manner, discontinue use and discard immediately.
BATTERY WARNING:
- Do not mix old and new batteries.
- Do not mix alkaline, standard (carbon-zinc), or rechargeable batteries.
- Alkaline batteries are recommended. Use the specified voltage.
- Insert batteries using the correct polarity. Always use, replace, and recharge (If applicable) batteries under adult supervision.
- Do not charge with non-rechargeable batteries.
- Do not short circuit the batter supply terminals.
- Do not dispose of batteries in fire, batteries may explode or leak.
- Remove batteries before storing.
- Recycle or dispose of batteries according to federal, state and local laws.
- Keep these instructions for future reference.
FCC Statement
NOTE: This equipment has been tested and found to comply with the limits for a Class B digital device, pursuant to Part 15 of the FCC Rules. These .imits are designed to provide reasonable protection against harmful interference in a residential installation. This equipment generates, uses and can radiate radio frequency energy and, if not installed and used in accordance with the instructions, may cause harmful interference to radio communications. However, there is no guarantee that interference will not occur in a particular installation. If this equipment does cause harmful interference to radio or television reception, which can be determined by turning the equipment off and on, the user is encouraged to try to correct the interference by one or more of the following measures:
- Reoriert or relocate the receiving antenna.
- Increase the separation between the equipment and receiver
- Connect the equipment into an outlet on a circuit different from that to which he receiver is connected.
- Consult the dealer or an experienced radio/TV technician for help.
Warning: Changes or modifications to this unit not expressly approved by the party responsible for compliance could void the user’s authority to operate the equipment.
This device complies with Part 15 of the FCC Rules.
Operation is subject to the following two conditions:
- this device may not cause harmful interference, and
- this device must accept any interference received, including interference that may cause undesired operation.
KEEP THIS INSTRUCTION MANUAL AS IT CONTAINS IMPORTANT INFORMATION FOR FUTURE REFERENCE.
Due to continuous product improvements, the pictures on this manual may differ slightly from the actual product. The artwork and design of this manual are protected by US copyright law and may not be reproduced, distributed, displaced, published or used for any purpose without prior written permission. Altering, removing or reproducing any of the trademark or copyright notices on this package is not permitted.
© 2020 MerchSource, LLC. Irvine, CA 92618. All rights reserved. Distributed by MerchSource, LLC. Irvine, CA 92618. Model No.: 1012790
FOR TECHNICAL SUPPORT,
PLEASE CALL 1-800-374-2744




















