Beacon LIGHTING 220875 LEDLux Bond Mini Maxi Steplight
![]()
Thank you for purchasing this quality Lucci product. To ensure correct function and safety, please read and follow all instructions carefully before using the product. Please keep instructions for future reference.
Warranty
- This light fitting is covered by 3 years warranty. Please retain proof of purchase.
- Warranty will be void if there is any damage due to improper usage or modification to the fitting.
Installation requirements
- Must be installed by a licensed electrician.
- All wiring and installation of the light fitting must adhere to local and national wiring rules. eg. AS/NZS 3000:2007/Amendment 2:2012 Electrical installations. If unsure, please contact a licensed electrician.
- This fitting is rated IP54. This must be maintained during installation.
- This fitting is a Class I water proof product, this must be maintained during installation.
- Replace any cracked protective lamp shade to maintain IP rating when using this fitting.
- Select a suitable location for installation;
- This product is suitable for indoor and outdoor use.
- The mounting point must support 2 times the weight of the fitting.
- Take care not to pull any electrical wires during unpacking as this may damage the connection.
- Lay out all the components on a smooth surface and make sure there are no components missing before assembling.
- Check whether the fitting has been damaged during transport. Do not operate/install any product which appears damaged in any way. Return the complete product to the place of purchase for inspection, repair or replacement.
- Ensure power to the circuit you are working on has been switched OFF before commencing any electrical work.
Installation directions
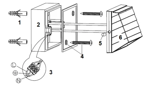
- Remove all packaging material from the product.
- Open the lamp cover (6) by loosening the allen bolts (5).
- Use the lamp base (2) as a template to mark the screw positions on the wall and drill the holes into the wall.
NOTE: It is recommended that a non-corrosive bead of silicone be applied before screwing to the wall ensuring that no water can run down into the cabling. - Install the lamp base onto the wall by using appropriately sized mounting screws with rubber rings (4). Ensure the screws used are suitable for the mounting surface.
- Feed the mains supply wire through the lamp base hole, and connect the main supply wire to the terminal block (3) as following:
- Mains Supply Wire Fitting Wire
- Earth – Yellow/Green Yellow/Green
- Neutral – Blue or Black Blue
- Live – Brown or Red Brown
- Ensure the wires are secure and no bare wires are exposed.
- Reposition the lamp cover by tightening the allen bolts.
![]()
Safety tips
- Always ensure the power is OFF and the fitting has cooled down before performing any maintenance, cleaning, or adjustment to the fitting.
- To avoid injury or damage to the fitting, ensure that power leads and screws are secure before connecting the power.
- Select a suitable location away from liquids and hazards.
- Ensure that the fitting does not come in contact with corrosive chemicals, etc.
- To clean, wipe with a damp clean cloth. Never soak the fitting with water.
| Specifications | ||||
| SKU # | 220875 | 220876 | 220877 | 220878 |
| Model # | LD-2016-A/CH | LD-2016-A/SL | LD-2016-B/CH | LD-2016-B/SL |
| Rated Voltage | 220-240V~ 50Hz | |||
| Rated Wattage | 2W | 3.6W | ||
| LEDs | 4000K, 100m | 4000K, 200lm | ||
| Weight | 0.2kg | 0.36kg | ||
| Dimensions | W:90MM H:60MM E:55MM | W:150MM H:70MM E:55MM | ||
| IP rating | IP54 | |||


















