IVP 8000 EX Passie Wireless Infrared Movement Sensor
User Guide
IVP 8000 EX
Infrared passive sensor
Congratulations, you have just purchased a product with Intelbras quality and security.
The IVP 8000 EX sensor has dust, water protection¹ white light immunity, making it perfect for the harshest environments, and can be installed indoors, semi-open, or outdoors. Its lens is specially built for long life, containing materials resistant to sunlight.
The presence of the digital accelerometer ensures that the position of the sensor is not changed after installation, avoiding sabotage in the security system.
The sensor also has an integrated temperature sensor, to offer the same detection sensitivity and reliability in different environments (from – 10 °C to + 50 °C), a low energy consumption circuit, providing a long battery life, communication status on the sensor via LED, low battery indication, tamper switch for tamper protection and Articulated support 2, in order to guarantee the best detection angle in the most diverse environments. The IVP 8000 EX sensor is suitable for environments with the presence of pets up to 30 kg. Read the product introductory information carefully for the correct use of the sensor.
¹Read item 2. Features of this manual.
¹Read item 11. The articulated bracket of this manual
Care and security
The sensor is compatible with AMT 8000 control panel versions 1.2.1 or higher.
- LGPD – General Law for the Protection of Personal Data: Intelbras does not access, transfer, capture, or perform any other type of treatment of personal data from this product.
- Follow all instructions in the manual for assembling and installing the product;
- Do not use the sensor in areas with sudden changes in temperature, such as air conditioners and heaters, fans, refrigerators, and ovens. Do not expose the sensor directly or to reflections from sunlight;
- Fix the sensor on stable surfaces, where there is no flickering;

- Wireless communication technology, when exposed to environments with high power irradiation, may suffer interference and have its performance degraded. Example: locations near TV towers, AM/FM radio stations, amateur radio stations, routers, etc.;
- Do not touch the surface of the infrared (PIR) sensor. If necessary, use a soft cloth for cleaning;
- The recommended installation height varies from 2 m to 2.2 m depending on the installation environment.
- Do not place objects in front of the sensor. To secure the detection area, avoid curtains, screens, screens, or any object that blocks the scan. Do not exceed the sensor installation height (2.2 m).
- The sensor must be installed where a possible intruder is easily detected, that is, where a person makes the greatest possible movement across the detection beams when entering the environment (see the figure below);

- It is important to note that the Pet function is designed for low-growing animals weighing up to 30kg. If the animal is on top of a bench, for example, the Pet function can be canceled.

Obs.: before starting the installation, it is necessary to define the height at which the sensor will be positioned, which can vary from 2 to 2.2 m. If the sensor is installed at a height of fewer than 2.0 m or is tilted downwards, the Pet function will be compromised.
1.1. Scan
1.2. Detection range

Technical specifications
| Operating voltage | 3 Vdc |
| Operating current | 20 µA |
| Frequency band | 915 MHz to 928 MHz |
| Modulation | DSSS BPSK 40 Kbps |
| Maximum transmission power | 11 dBm |
| Battery | LITHIUM CR123A 3 V |
| Angle of detection | 110° |
| Detection range | 12 m |
| Method of detection | Double PIR |
| Animal immunity | Up to 30 Kg |
| Startup time | 60 seconds |
| Operating temperature | -10 °C ~ +50 °C |
| RF Range | 600 meters without barrier |
Features
- IPX4 protection against water and dust.
- Position anti-sabotage (accelerometer);
- Communication status check via LED;
- Wireless communication with a range of up to 600 meters with direct open field view;
- Supervised wireless communication;
- Encrypted transmission;
- Micro-controlled sensor;
- Sensor operation adjustment through the AMT Remote Mobile application;
- Inmunidad a los animales rastreros que pesen menos de 30 kg;
- White light immunity up to 20,000 lux;
- High RFI/EMI immunity;
- Antimanipulación (tecla de manipulación);
- Easy installation.
Product

| 1. LEDs | 5. Tamper key |
| 2. PIR sensor | 6. Fresnel lens |
| 3. Battery connector | 7. LED light conductor |
| 4. Synchronism button | 8. Product base |
Sensor opening
To access the 8000 EX IVP board for registering, changing batteries or unregistering it from the center unit, simply remove the screw from the bottom with the help of a Philips wrench and remove its front cover. This way the board is exposed and ready to be handled. See the picture:
Registering the IVP 8000 EX sensor
To register the IVP 8000 EX sensor code in the AMT 8000 alarm center follow the procedure below:
- Insert the battery of LITHIUM 3 Vcc – CR 123 A. The sensor will flash the blue LED for a few seconds (stabilization time), register the code of the IVP 8000 EX sensor in the AMT 8000 alarm center as follows:
Press the synchronization key of the AMT 8000 alarm center (the blue LED will be on) then press the synchronization button of the sensor observing if the LED located on the front of it will flash green indicating the correct register. If the LED flashes red, the registration has not been performed and the procedure must be repeated.
Note: after pressing the synchronization button of the alarm center, the blue LED indicating the center unit will remain on for approximately 3 minutes after the last registration made, after this time it will turn off automatically and it will not be possible to make new registrations until the synchronization key is pressed again. If no device is registered, the LED indicating the center unit will go off automatically after 3 minutes.
The sensors will be addressed according to the sequence performed, Example: The first sensor will be registered in zone 1, the second sensor in zone 2, the third sensor in zone 3 and so on.
To register other sensors through keyboard commands and more information, please check the complete manual of the AMT 8000 center.
5.1. Deleting the sensor register
If you want to delete the sensor registration, just press and hold the sensor synchronization key for approximately 10 seconds, watching the LED indicator until it flashes red twice.
Note: when physically erasing sensors, they must be erased from the control unit’s memory via programming.
Identifying the best place for installation
The IVP 8000 EX sensor has communication signal level indications with the AMT 8000 center, this will help you choose the best installation location. Follow the procedure:
- Once properly registered, take the sensor to the environment you wish to protect;
- Check the position where the sensor can cover the whole environment, respecting the installation height, according to the table in item 1.2. Detection range.
- Once chosen, position the sensor in the exact place where it will be installed and perform transmission through a detection or tamper opening;
- Observe the color that the LED will light up and check in the following table if the sensor can be installed in this location;
LED status Communication level Green Excellent signal level (Recommended installation location) Orange Regular signal level Not recommended location for installation (communication failure may occur) Red No communication (Do not install on site) Blue Intrusion detection - If the signal level is not excellent, reposition the sensor and perform the procedure again.
Installation
Once the best installation location has been identified, set the height of the sensor.
We recommend that this sensor be installed at a height of 1.8 m to 2.2 m and positioned so that the intruder performs movements transverse to the sensor’s detection radius. It is not recommended to install the sensor tilted up or down as this may impair the functioning of its PET function.
Check that the sensor is firmly fixed and not subject to flicker, in order to avoid unwanted triggering. The Articulated Bracket can be used to ensure greater flexibility to the installation, adapting to most scenarios and installation angles.
Follow all the mounting instructions in the manual for maximum benefit.
7.1. Anti-Sabotage Function
This function consists of monitoring undue changes in the sensor’s installation angle, ensuring that the sensor is not disabled if its installation position is changed, thus making the alarm system even safer.
After registering the sensor in the center unit, press the synchronism key for the sensor to activate the Anti-Sabotage function. During the first 2 minutes, the sensor will not trigger the tamper in order to adjust the final installation position.
After the initial 2 minutes, the sensor will go into the test mode, where for 15 minutes the sensor will trigger from the tamper in the zone in which it was registered whenever its position changes, and then automatically restore this trigger.
After the 15 minutes test period, the sensor will trigger the tamper only if there is a change in its installation position, with any horizontal or vertical inclination, but it will only restore the tamper if the synchronism switch is pressed.
Configuring the IVP 8000 EX sensor
The sensor settings can be adjusted in two ways, below we present the step-by-step of each one.
8.1. Configuring the sensor through the keyboard
Using the keyboard of the AMT 8000 alarm center, go into the programming mode with the installer password, then type the following command:
Note: on the EX 8000 IVP, the Operation Mode will not influence its operation.
8.2. Information on sensor settings
Sensitivity adjustment table.
| Level | Condition |
| 0 | Minimum sensitivity |
| 1 | Normal sensitivity (factory default) |
| 2 | Intermediate sensitivity |
| 3 | Maximum sensitivity |
Sensitivity adjustment table
8.3. Information on LED operation and operating mode
LED
- Off: with the LED Off option marked, the sensor will only light the LED for the first 15 minutes after battery insertion.
Factory default. - On: with the LED function On, the battery life can be drastically reduced.
Operation mode
With the center unit activated, the sensor transmits all the detections that have occurred to the alarm center, and the LEDs can also be turned on depending on the sensor configuration (default: Turned on). With the center unit deactivated, the sensor detects no presence and does not turn on the LEDs. In the initial 15 minutes after inserting the battery, the sensor turns on the LEDs with each detection, regardless of whether the center unit is activated or deactivated.
To test the sensor’s operation with the center unit deactivated, simply enter the Test Mode menu or the wireless sensor Test function (check the center unit’s manual) and wait for the first transmission, which can take up to 2 minutes.
8.4. Configuring the sensor through the application
- After the application is properly connected to the alarm center, select Configure center on the main screen of the APP;
MenuConfigure Center > Online > Events > - After that, select sensors;
SettingsGeneral > Zones > Passwords > Communication > Event codes > IP monitoring > Ethernet/Wi-Fi > GPRS > Programed activation/deactivation > Sensors >
Once you have done this, select the sensor you wish to configure, for example, Sensor 1
Sensors
| Sensor 1 | > |
| Sensor 2 | > |
| Sensor 3 | > |
| Sensor 4 | > |
| Sensor 5 | > |
| Sensor 6 | > |
| Sensor 7 | > |
| Sensor 8 | > |
| Sensor 9 | > |
| …Sensor 64 | > |
After selecting the sensor, the following adjustment screen will open.
Sensor 1
Sensitivity
| Level 0 (minimum sensitivity) | |
| Level 1 (normal sensitivity, factory default) | |
| Level 2 (intermediate sensitivity) | |
| Level 3 (maximum sensitivity) |
LED
| Always Off | |
| On when triggered |
Mode
| Economy mode | |
| Continuous mode | |
| Discard changes | Save |
Note: for configuring the settings, check the sensitivity table, the explanations of LED operation and the Operation mode in item 9.2. Information on the sensor settings.
Battery
Use only quality batteries with the correct sizing for the device, and with the typical use of the device, the battery life forecast is 3 to 5 years and can be influenced by the number of triggers, weather conditions, and configuration mode.
The battery model should be CR123A 3 V, being used one (1) battery per sensor.
Homologation
This equipment is not entitled to protection against harmful interference and may not cause interference to duly authorized systems. This is a product approved by Anatel, the approval number can be found on the product label, for queries, visit the website: sistemas.anatel.gov.br/sch.
Articulated bracket
The articulated bracket was built to fit perfectly in most of the presence sensors available in the market, besides having a large steering angle, support for wiring passage and UV protection for indoor or outdoor installation.
11.1. Care and security
- Follow all instructions in the manual for product assembly and installation.
- Make sure that both the sensor and the bracket are securely attached to the installation site to avoid changes in the detection angle of the product.
- Make sure the installation site is stable and not subject to flicker.
11.2. Technical specifications
| General characteristics | |
| Material | Plastic with UV protection |
| Weight | 44 g |
| Load Capacity | 1.5 Kg |
| Installation environment | Indoors / outdoors |
| Dimensions (W × H × D) | 99 × 58 × 64 |
| Horizontal movement angle | 160° |
| Vertical movement angle | 160° |
11.3. Product

Components
| 1 | Axis |
| 2 | Cover |
| 3 | Ring |
| 4 | Base |
| 5 | Nut |
| 6 | Connector |
| 7 | Screw 3.5 x 9.5 mm |

11.4. Features
- Built-in UV-protected material;
- Easy installation;
- Wide application scenario;
- Discreet and robust.
11.5. Installation
- Insert the shaft into the cover (part 1 and part 2);
- Pass the ring through the previous set (piece 3);
- Insert the nut into the connector (key 5 and 6);

Installation using the articulator
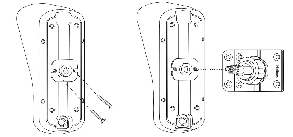
- Attach the support to the sensor base according to the image below, observe the existing hole in the base, then insert the shaft through the hole, performing the rotating movement clockwise until you feel that it is stuck.

- If the sensor is installed on a flat surface, use the four innermost holes in the base for mounting. If the sensor is used on a 90° corner, use the four outermost holes on the base;

- After definitively fixing the base, direct the sensor to the desired detection field, always respecting its specifications. Lock the sensor position by turning the fixing ring clockwise until you feel that it is firm.

Installation without using the articulator
- For installation directly on the wall, or in the corner of the wall, remove the plate and break the seals indicated for the holes in the rear fixing cover.
Attention!
Warranty term
It is expressly stated that this contractual warranty is given subject to the following conditions:
Name of customer:
Signature of the customer:
No. of the invoice:
Date of purchase:
Model: Serial
No:
Reseller:
- All parts and components of the product are under warranty against possible manufacturing defects, which may present, for a period of one (1) year, – comprising 90 (ninety) days of legal warranty and 9 (nine) months of contractual warranty, –, counted from the date of purchase of the product by the Consumer, as stated in the invoice of purchase of the product, which is part of this Term throughout the national territory. This contractual warranty includes the express exchange of products that are defective in manufacture. In case no manufacturing defect is found, but flaw(s) from inappropriate use, the Consumer will bear these expenses.
- Product installation must be done in accordance with the Product Manual and/or Installation Guide. If your product needs to be installed and configured by a qualified technician, look for a suitable and specialized professional, and the costs of these services are not included in the value of the product.
- If the defect is found, the Consumer should immediately communicate with the nearest Authorized Service listed by the manufacturer, – only they are authorized to examine and remedy the defect during the warranty period provided herein.
If this is not respected, this guarantee will lose its validity, as the violation of the product will be characterized.
4. In the event that the Customer request home care, he/she should refer to the nearest Authorized Service for the technical visit fee. If the need for withdrawal of the product is found, the expenses arising, such as transportation and safety to and from the product, are under the responsibility of the Consumer. - The warranty will totally lose its validity in the event of any of the following: a) if the defect is not of manufacture, but caused by the Consumer or by third parties alien to the manufacturer; b) if the damage to the product comes from accidents, claims, agents of nature (lightning, floods, landslides, etc.. ), humidity, mains voltage (overvoltage caused by accidents or excessive mains fluctuations), installation/use in disagreement with the user manual or due to natural wear of parts and components; c) if the product has been influenced by chemical, electromagnetic, electrical or animal (insects, etc.); d) if the product’s serial number has been tampered with or erased; e) if the device has been tampered with.
- This warranty does not cover loss of data, so it is recommended that the Consumer make a regular backup of the data on the product.
- Intelbras is not responsible for the installation of this product and also for any attempts of fraud and/or sabotage on its products. Keep software and application updates, if any, up to date, as well as network protections necessary to protect against hackers. The equipment is guaranteed against flaws within its normal conditions of use, and it is important to be aware that, since it is electronic equipment, it is not free from frauds and scams that may interfere with its correct functioning.
- This product has an internal battery. After their useful life, the batteries must be delivered to an authorized technical assistance office at Intelbras or directly to the environmentally appropriate final disposal, avoiding environmental impacts and health. If you prefer, the battery, as well as other unused Intelbras electronics, can be disposed of at any Green Elektron collection point (electronic waste manager to which we are associated). In case of doubt about the reverse logistics process, please contact us by phone at (48) 2106-0006 or 0800 704 2767 (Monday to Friday from 8 am to 8 pm and on Saturdays from 8 am to 6 pm) or through email [email protected].
Since these are the conditions of this complementary Warranty Term, Intelbras S/A reserves the right to change the general, technical and aesthetic characteristics of its products without prior notice.
All images in this manual are illustrative.
Customer Support:
(48) 2106 0006
Forum: forum.intelbras.com.br
Support via chat: chat.intelbras.com.br
Support via e-mail: [email protected]
Customer Service: 0800 7042767
Where to buy? Who installs it? 0800 7245115
Produced by: Intelbras S/A – Indústria de Telecomunicação Eletrônica Brasileira
Rodovia BR 459, km 124, nº 1325 – Distrito Industrial – Santa Rita do Sapucaí/MG – 37540-000 01.22
Made in Brazil
CNPJ 82.901.000/0016-03 – www.intelbras.com.br
























