intelbras IVP 7000 MW EX Infrared Motion Sensor User Manual
VP 7000 MW EX
Passive infravermelho movement sensor with triple technology
Parabéns, you have just acquired a product with Intelbras quality and safety.
The IVP 7000 MW EX motion sensor combines microwave detection with passive infrared detection, providing advanced signal analysis technology to avoid accidental triggering in environments with a high risk of intrusion. The IVP 7000 MW EX sensor has protection against poverty, water immunity to white light, or that makes it perfect for the most adverse environments, and can be installed in internal, semi-open or external environments. Its lens was specially built for long duration, containing materials resistant to sunlight.
Care and security
- LGPD – Processing of data by Intelbras: Intelbras does not access, transfer, capture, and does not perform any type of processing of personal data from this product.
- This product is intended for EXTERNAL environments.
- Do not touch the surface of the infrared sensor (PIR). If necessary, use a soft, dry cloth to clean.
- Do not use the sensor close to areas with sudden changes in temperature such as air conditioning and heaters, fans, refrigerators and ovens. Do not expose the sensor with a lens turned directly or to reflections of sunlight.

- The Pet function is intended for crawling animals with a weight of up to 30 Kg. If the animal is on top of a bench, for example, the Pet function can be cancelled.

- Do not place objects in front of the sensor. Keep the detection area clear of moving objects such as bushes, clotheslines, cars or anything that blocks the scan. Do not exceed the installation height of the sensor (2.2 m).

- The sensor must be installed where an intruder can be easily detected, or seja, where it performs transverse movementsto the detection functions.

- The sensor must be installed on a flat surface, fixed and free of tremors, with a height between 2.0 and 2.2 meters. It is recommended to install the sensor parallel to the wall so that it has a greater detection range.
- For your safety, make or test the product and two hair systems at least once a week. This is necessary due to changes in environmental conditions, electrical or electronic interruptions and violations. Take all necessary precautions to secure and protect your property.
Detection area (top view)

Detection angle (side view)

Technical specifications
| Operational voltage | 9 ~16 Vdc |
| Operational current | 65 mA |
| Consumption | 1,04 W |
| Detection angle | 110° |
| Detection range (PIR and MW) | 12 metros |
| Detection method | Microwaves and PIR (AND) |
| Number of pyroelectric sensors | 2 |
| Pyroelectric sensor type | Dual |
| Microwave frequency | 10,525 GHz |
| Immunity to animals | Up to 30 kg |
| Sensitivity | 1P – Maximum |
| 2P – Intermediate (Factory default) | |
| 3P – Minimum | |
| Alarm output | NF, 28 Vdc and 100 mA max. |
| Anti-violation | Front tamper |
| LEDs indicadores | LED:» Yellow: (PIR)» Red: (MW)» Blue: (Alarm) |
| Startup time | 50 seconds |
| Relay opening time | 3 seconds |
| Operating Temperature | -10 °C to 50 °C |
| Recommended installation height | 2.2 meters |
| Dimensions (W × H × D) | 79,45 × 183,76 × 85,9 |
| Weight | 215 g |
Features
- Anti-tamper (tamper key);
- Automatic temperature compensation;
- RFI/EMI immunity;
- Microwave sensitivity adjustment (MW);
- Immunity to creeping animals weighing less than 30 kg;
- IPX4 water and dust protection;
- Trigger verification via LED;
- White light immunity up to 20,000 lux.
Product

- Pyro sensor
- Microwave module
- LEDs
- Jumper LEDs
- Sensitivity key
- Connection terminal
- Tamper key
- Trimpot microwave adjustment
- LED light conductor
- Fresnel lens
- Product basis
- Cable passage
Installation
- Before starting the installation, it is necessary to define the height at which the sensor will be positioned, which can vary from 2 to 2.2 m;
- Do not install sensors that have microwave technology close to each other, as there may be interference between them;

- The microwave sensitivity adjustment must be done according to each environment;
- For installation using the articulator, make sure that both the sensor and the bracket are securely fixed in the installationlocation to avoid changes in the product’s detection angle. Incorrect use of the articulator can change the sensor’s detection area, creating blind spots and impairing operating efficiency;
- If the sensor is installed at an angle, its detection range and Pet function may be impaired in such a way as to nullify the function.
To install the sensor, follow the procedure below:
- Unlock the back cover by partially loosening the screw and remove the front cover, as shown in the picture.

Installation without using the articulator
- For installation directly on the wall, or in the corner of the wall, remove the plate and break the seals indicated for the holes in the rear fixing cover
Attention!
Check that the drilling is in accordance with the size of the screw that will be used, as an inadequate drilling may cause water, dust and insects to enter the interior of the product.
Wall mounted
Mounted on the corner of the wall
- If the sensor is installed in a place not to be protected, place the plate again on the base, observing the sockets and pass through the hole, located on the back cover of the sensor and connect the connection terminal.
Note: use a tool to make or furo na drunk.
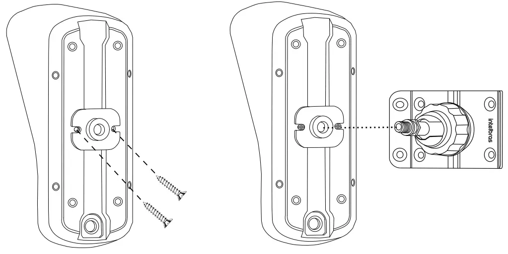
Installation with or use of the articulator
The IVP 7000 MW EX sensor is accompanied by the XSA 1000 support, follow the steps below for its correct use.
Articulated support
The articulated support was built to perfectly fit the majority of two presence sensors available in the market, in addition to having a large angle of direction, support for passage of fixation and UV protection for installation in internal or external environments.
Technical specifications
| General characteristics | |
| Material | Plastic with UV protection |
| Weight | 44g |
| Load capacity | 1.5kg |
| Installation environment | Internal / External |
| Dimensions (L × W × D) | 99 × 58 × 64 |
| Horizontal movement angle | 160° |
| Vertical movement angle | 160° |
Product
Mounted stand
| Components | |
| 1 | Eixo |
| 2 | Tampa |
| 3 | Ring |
| 4 | Base |
| 5 | Nut screw |
| 6 | Connector |
| 7 | Parafuse 3.5 × 9.5 mm |
Installation
- Insert the shaft into the cover (part 1 and part 2);
- Pass the ring through the previous set (piece 3);
- Insert the nut into the connector (key 5 and 6)

- Screw the ring on the base turning clockwise until you feel that it is tight;

- Attach the support to the sensor base as shown in the image below, observe the existing hole in the base, then insert the shaft through the hole, rotating clockwise until you feel that it is stuck.

To fix the XAS 1000 in the installation location, follow the steps below:
Note: the XAS 1000 support has an opening for passing the wire, if necessary, follow the steps below for its correct use.
- Lead the wiring through the wire feedthrough;
- Fix the wire through the two internal locks for fixing the wiring;
- Route the wire through the hole in the center of the base towards the inside of the product to be fixed.

- If the sensor is installed on a flat surface, use the four innermost holes of the base for fixing. If the sensor is used in a 90° machine, use the four most external holes on the base;
Wall mounted
Mounted on the corner of the wall
- After definitive fixation of the base, address or sensor for the desired detection field, always respecting its specifications. Trave a position of the sensor turning the fixation ring attached or fine.

Microwave sensitivity adjustment

The trimpot allows adjusting the sensitivity of the microwave. Turning the trimpot counterclockwise increases the sensitivity and consequently the distance that the microwave is capable of detecting movements. Turning it not counter-clockwise or microwave is less sensitive.
Note: it is highly recommended to adjust the sensitivity of the microwave so that the detection only occurs in the environment where the sensor is installed. This technology is capable of detecting movements through a wall, for example. To facilitate the adjustment of the coverage of the microwave, adjust the trimpot not anti-clockwise (less sensitive) and the way in the environment that you want to protect. Observe the motion detection of the sensor. If necessary, increase the sensitivity (clockwise). Repeat this process until the sensor protects only the environment where it is installed.
Operating mode settings
LEDS: the jumper (J. LEDS) is used to control the indication of two LEDs without interfering and not detecting. With the jumper, the indication LEDs are enabled, or else, accesses. Factory default: Access LEDs.
| LEDs | |
| J.LEDS | LEDs |
| Condition | Result |
| With Jumper | Access LEDs |
| Without Jumper | LEDs off |
J.SENS switch – SENSITIVITY: controls the sensor detection sensitivity to trigger the alarm. This adjustment has three selectable levels, according to the following table. Properly choose the configuration according to the environment in which the sensor will be installed. Factory default: 2 intermediate sensitivity.
| J.SENS | |
| Position | Condition |
| 1P | Maximum sensitivity |
| 2P | Intermediate sensitivity |
| 3P | Minimum sensitivityIncreased immunity to unwanted triggers |
Process completion
After configuring the sensor, close it by fitting the top of the cover to the base and tighten the screw
Operation
When turning on the sensor, the blue LED flashes for approximately 50 seconds. This time is necessary for the stabilization of the circuits that make up the sensor. After this period, if enabled, the LEDs light up with each motion detection.
- Blue LED: alarm
- Yellow LED: Pir
- Red LED: microwave
Test
Once installed and running, walk across the area to be protected, simulating a possible intrusion into the environment. See if the sensor is able to detect your movements during the journey, through the LEDs. Adjust the microwave’s sensitivity to the size of the room or reposition the sensor. Be sure to take all precautions and follow the installation recommendations to obtain the best operating performance from the product.
This equipment is not entitled to protection against harmful interference and may not cause interference to duly authorized systems. This is a product approved by Anatel, the approval number can be found on the product label, for queries, visit the website: sistemas.anatel.gov.br/sch.
Warranty term
It is established that this warranty is granted upon the following conditions:
Client’s name: ———————————–
Client’s signature: ——————————
Invoice number: ——————————–
Date of purchase: ——————————-
Model: Serial number: ————————-
Retailer
- All the parts, pieces and components of the product are guaranteed against possible manufacturing defects, which may arise, for the term of 1 (one) year – this being 90 (ninety) days of legal guarantee and 9 (nine) months contractual warranty –, counting from the date of purchase of the product by the Consumer, as appears in the product purchase bill of sale, which is an integral part of this Term throughout the domestic territory. This contractual warranty includes the freeexchange of parts, pieces and components which have a manufacturing defect, including the expenses with labor used in this repair. If there is no manufacturing defect, but defect(s) arising from misuse, the Consumer shallbear these expenses.
- The installation of the product shall be executed in accordance with the Product Manual and/or Installation Guide. If your product requires the installation and configuration by a qualified technician, seek a suitable specialized professional, the costs of these services not being included in the product amount.
- Having perceived the defect, the Consumer shall immediately contact the nearest Authorized Service which appears in the report offered by the manufacturer – they are the only ones authorized to examine and remedy the defect during the warranty term foreseen herein. If this is not respected, this warranty shall lose its validity, as it shall be characterized as product infringement.
- If the Consumer requests home service, it shall contact the nearest Authorized Service to inquire about the technical visit rate. If it is necessary to remove the product, the ensuing expenses, such as those of transportation and insurance of the taking and return of the product, shall be the Consumer’s responsibility.
- The warranty shall lose its validity totally in the occurrence of any of the following cases: a) if the defect is not one of manufacture, but is caused by the Consumer or by third parties foreign to the manufacturer; b) if the damage to the product arises from accidents, disasters, agents of nature (lightning, floods, landslides, etc.), humidity, voltage in the electrical network (excess voltage caused by accidents or excessive fluctuations in the network), installation/use in disagreement with the user’s manual or arising from natural wear of the parts, pieces and components; c) if the product has undergone effects of a chemical, electromagnetic, electrical or animal (insects, etc.) nature; d) if the serial number of the product has been falsified or erased; e) if the appliance has been infringed.
- This warranty does not cover loss of data; therefore, it is advisable that if it is the case of the product, the Consumer makes a backup regularly of the data which appears in the product.
- Intelbras is not responsible for the installation of this product, or for possible attempts at fraud and/or sabotage in its products. Maintain the updates of the software and applications used up-to-date, if it is the case, as well as the network protection required for defense against hackers. The equipment is guaranteed against defects in its usual conditions of use, it being important to bear in mind that, as it is electronic equipment, it Is not free of fraud and scams which may interfere with its correct functioning.
- After its useful life, the product must be delivered to an authorized Intelbras service center or directly disposed of in an environmentally appropriate manner to avoid environmental and health impacts. If you prefer, the battery, as well as other unused Intelbras brand electronics, can be disposed of at any Green Eletron collection point (waste management facility to which we are associated). If you have any questions about the reverse logistics process, please contact us at (48) 2106- 0006 or 0800 704 2767 (Monday to Friday 8am to 8pm and Saturdays 8am to 6pm) or via -mail [email protected].
These being the conditions of this complementary Warranty Term, Intelbras S/A reserves the right to alter the general, technical and esthetic features of its products without prior notice.
All the images of this manual are illustrative.
Customer Support

Customer Support:
(48) 2106 0006
Forum: forum.intelbras.com.br
Support via chat: chat.intelbras.com.br
Support via e-mail: [email protected]
Customer Service: 0800 7042767
Where to buy? Who installs it? 0800 7245115
Produced by: Intelbras S/A – Indústria de Telecomunicação Eletrônica Brasileira
Rodovia BR 459, km 124, 1325 – Distrito Industrial – Santa Rita do Sapucaí/MG – 37540-000
CNPJ 82.901.000/0016-03 – www.intelbras.com.br | www.intelbras.com


















