DOMETIC SSC13511 Dual Cable Steering Bracket Service Kit

Service Kit Instructions
USA & CANADA
Service Office Dometic Corporation 640 North Lewis Road Limerick, PA 19468 610-495-7011 ts.[email protected]
Service Center & Dealer Locations Visit: dometic.com
This Service Kit Instruction (SKI) contains important supplementary information or notifications for the Dual Cable Steering Bracket. It is not intended to provide all information, instruction, and/or safety messaging related to the product. For complete information, refer to the product manuals.
| 308949 Kit Contents | Qty. |
| Steering Cable Mounting Bracket | 1 |
| Steering Cable Support Tube | 1 |
| Adjustment Nut | 2 |
| Locking Tab Washer | 2 |
| Nylon Bushing | 1 |
| Seal | 1 |
| Cable Connector | 1 |
| 3/8 in. Self-locking Nut | 2 |
| 3/8 in. Flat Washer | 3 |
| Mounting Bolts | 4 |
Warning
The images used in this document are for reference purposes only. Before beginning with the installation, confirm the contents of the service kit are present.
Explanation of Symbols and Safety Instructions
This manual has safety information and instructions to help you eliminate or reduce the risk of accidents and injuries.
Recognize Safety Information
Danger
This is the safety alert symbol. It is used to alert you to potential physical injury hazards. Obey all safety messages that follow this symbol to avoid possible injury or death.
Understand Signal Words
A signal word will identify safety messages and property damage messages, and it will indicate the degree or level of hazard seriousness.
WARNING
Indicates a hazardous situation that, if not avoided, could result in death or serious injury.
NOTICE: Used to address practices not related to physical injury. Indicates additional information that is not related to physical injury.
General Safety Messages
WARNING: STEERING CONTROL HAZARD. Failure to obey the following warnings could result in death or serious injury:
- The boat should be operated with caution until the steering system has been thoroughly checked out under normal operating conditions to ensure that the installation is correct and complete.
- Read these instructions thoroughly before beginning installation.
- Use the parts provided only as instructed. Do not substitute parts.
NOTICE: In order to obtain the best steering performance, the outboard motor must be installed and lubricated and the trim tab adjusted in accordance with the motor and boat manufacturer’s specifications.
Equipment Removal
This section describes the proper technique for removing the existing equipment in preparation for installing the new steering bracket. Consult the manuals for your current equipment for the proper technique to remove the existing steering arm assembly from the motor tiller arm. Be sure to retain the flat washers and 3/8 in. elastic stop nut from the existing steering arm assembly.
Installation
This section describes the proper technique to install and adjust the steering arm and cables.
Gear Rack and Rotary Head Configurations
- Gear Rack
- Rotary Head
NOTICE: Both gear racks or rotary steering heads must be installed so that both steering cables will be routed together on the same side of the boat and will push-pull together.
Installing the Steering Arm
Steering Arm Installation
- Pivot Bolt and Ball
- Engine Tiller Arm
- Steering Arm
Cable Connector Installation
- Steering Arm
- Cable Connector
- Flat Washers*
- Elastic Stop Nut*
Assemble the cable connector onto the steering arm.
Installing the Steering Cables
Steering Cable 1 Installation
- Steering Cable 1
- Holding Nut
- Engine Tilt Tube
- Output End
Mounting Bracket Installation
- Mounting Bolts (4)
- Mounting Bracket
- Engine Mount
- Steering Cable 1
NOTICE: Some engines require metric hardware. Make sure to use the proper size mounting bolts.
Steering Cable 2 Installation 
- Adjustment Nut
- Steering Cable 2
Support Tube Installation
- Support Tube
- Adjustment Nut
- Seal
- Steering Cable 2
- Nylon Bushing
- Locking Tab Washer
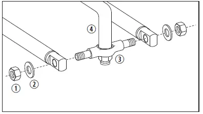
Cable Connector Connection
- 3/8 in. Self-locking Nut
- Cable Connector
- 3/8 in. Flat Washer
- Steering Arm
Completing the Installation
- Steering Cable 2
- Locking Tab Washer
- Adjustment Nut
Adjusting the Steering Cables
- Center the engine.
- Loosen the support tube holding nuts (both ends) for approximately ten turns.
- Take up any play in the cables by pushing the engine slightly in the direction of a turn to starboard.
- Tighten the port support tube nut finger-tight.
- Use a wrench to tighten the port support tube ONE additional turn.
- Torque the starboard support tube nut to 35 lb ft (47.5 Nm).
- Bend the locking tabs on the locking tab washers over onto the mounting bracket or nut.
Disposal
Place the packaging material in the appropriate recycling waste bins, whenever possible. Consult a local recycling center or specialist dealer for details about how to dispose of the product in accordance with all applicable national and local regulations.
Warranty Information
LIMITED TWO-YEAR WARRANTY AVAILABLE AT WWW.SEASTARSOLUTIONS.COM/SUPPORT-2/WARRANTY-2/SEASTAR-SOLUTIONS-WARRANTY. IF YOU HAVE QUESTIONS, OR TO OBTAIN A COPY OF THE LIMITED WARRANTY FREE OF CHARGE, CONTACT: DOMETIC CORPORATION: SEASTAR SOLUTIONS 640 NORTH LEWIS ROAD LIMERICK, PENNSYLVANIA 19468 1-610-495-7011 [email protected]

















