SEALEY RE225.V3 1600KG Coil Spring Compressor Kit

Thank you for purchasing a Sealey product. Manufactured to a high standard, this product will, if used according to these instructions, and properly maintained, give you years of trouble free performance.
IMPORTANT: PLEASE READ THESE INSTRUCTIONS CAREFULLY. NOTE THE SAFE OPERATIONAL REQUIREMENTS, WARNINGS & CAUTIONS. USE THE PRODUCT CORRECTLY AND WITH CARE FOR THE PURPOSE FOR WHICH IT IS INTENDED. FAILURE TO DO SO MAY CAUSE DAMAGE AND/OR PERSONAL INJURY AND WILL INVALIDATE THE WARRANTY. KEEP THESE INSTRUCTIONS SAFE FOR FUTURE USE.

- Refer to instruction manual
- Wear a face shield
- Wear protective gloves
- WARNING! Crushing of hands
- DO NOT allow coils to touch
SAFETY
- DANGER! Stop compressing the spring before the coil windings touch.
- WARNING! Ensure Health & Safety, local authority, and general workshop practice regulations are adhered to when using this equipment.
- Before each use, check the unit for full functional capability. If the functional capability is not ensured or if damage is detected, the unit should not be used and you should contact your supplier immediately.
- WARNING! Wear approved safety eye protection (standard spectacles are not adequate) and protective gloves.
- WARNING! DO NOT compress the spring to an extent where the jaws touch.
- DO NOT use the compressor for other purposes than it was designed for and DO NOT OVERLOAD the compressor.
- DO NOT operate spring compressor if parts are damaged or missing as this may cause failure and/or personal injury.
- Maintain the spring compressor in good condition. Replacement or repair of damaged parts must be carried out by competent personnel. Use genuine parts only. Unauthorised parts may be dangerous and will invalidate the warranty.
- DO NOT force the spring compressor to achieve a task it was not designed to perform.
- DO NOT allow untrained persons to use the spring compressor.
- Familiarise yourself with the applications, limitations and potential hazards of the spring compressor.
- Keep the work area clean, uncluttered and ensure there is adequate lighting.
- Keep hands and body clear of the spring when operating the spring compressor.
- Maintain correct balance and footing. Ensure the floor is not slippery and wear non-slip shoes.
- Remove ill fitting clothes. Remove ties, watches, rings, other loose jewellery. Contain and/or tie back long hair.
- For indoor use and at room temperature only.
- When not in use clean and store the spring compressor in a safe, dry, childproof location.
- The coil spring compressor is exclusively for compressing and expanding McPherson strut springs for maintenance. The compressor is not for removal of struts from any vehicle. Suitable jaws must be used. Any other or further use is considered not as intended. SEE ALSO OPERATIONAL SAFETY SECTION 4.1
INTRODUCTION
High quality, European made, 1600kg coil spring compressor kit. Supplied with two pairs of drop-forged safety yokes, with polyurethane inserts for improved grip. Yokes are carefully shaped to prevent coil spring from bowing. Features Safety restraint wire as a precaution, in the unlikely event of a spring slipping. Suitable for use with air impact wrench.
SPECIFICATION
- Model no:……………………………………………………….RE225.V3
- Yoke specification: Size (spring diameter)
- Small:………………………………………………… Ø80 – 120mm (x2)
- Large:………………………………………………… Ø80 – 195mm (x2)
- Drive:…………………………………………………………… 27mm hex
- Maximum jaw opening:……………………………………….. 335mm
- Capacity:…………………………………………………………… 1600kg
OPERATION
OPERATIONAL SAFETY
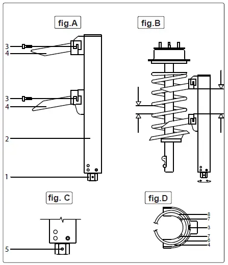
When compressing the spring, neither the spring windings nor the jaws should come in contact with each other, see figure B. The centre line of the spring must always be parallel to the compressing device, especially for conical springs.
Use only suitable jaws for the springs. The spring must rest securely within the outer rib and the safety ridges. Take care that the spring cannot slide out of the jaws.
Pay attention to compressed spring. Never drop or impact compressed spring, which can cause serious injury.
Use only for coil springs mentioned in this user instruction.
The bolts of the jaws must always be firmly tightened with 60 Nm torque
- DO NOT make any construction changes to the unit, especially to the safety pin.
- DO NOT leave compressed spring unattended.
- Keep in mind that compressed spring has a huge energy. The instruction may not cover all hazards. ALWAYS BE CAREFUL when using the coil spring compressor to prevent injury.
- Before and during the clamping process, as well as after each operation, the correct position of the spring in the jaws shall be inspected and maintained.
OPERATION CONTROLS

- Drive nut
- Compressing device
- Retaining bolts fig.AA fig.BB
- Jaws
- Safety pin
- Outer rib
- Safety ridge
OPERATION
REMOVE THE MCPHERSON SPRING STRUT
Before each operation, the McPherson spring strut must be removed from vehicle (refer to vehicle manufacturer).
Make sure to use the RIGHT SIZE of jaws. Select jaws and mount on the spring compressor. Make sure the spring is clean where the
jaws are mounted on the windings. Wipe away grease and dirt.
Fit the retaining bolts and tighten firmly. IT IS VERY IMPORTANT FOR OPERATOR’S SAFETY THAT THE BOLTS OF THE JAWS ARE FIRMLY TIGHTENED. CHECK BOLT TORQUE (60NM PERIODICALLY).
Rotate the drive nut to drive the jaws apart to match the length of the spring and to compress as many windings as possible.
Mount the compressor on a vice by clamping the front head of the compressor as below, see fig.E. Make sure that the seating of the spring windings in the jaws is correct.
Make sure that the spring compressor is in the centre of the spring windings, see fig. B above.
SAFETY WIRE
Always make sure that the safety wire is securely installed around the spring, and that the quick link is locked before starting the compressing or decompressing process. Make sure that the wire does not get pinched during the process, see fig.’s F, G & H.
If needed, the wire can be slid out of the retaining slots in order to allow more space for the compressing process. Always remember to
snap the wire back in place upon completion of your work.
Rotate the drive nut to drive the jaws apart to match the length of the spring and to compress as many windings as possible. See Figure I below. 
Make sure the spring is clean where the jaws are mounted on the windings.
Preload the compressor by turning the handwheel until the jaws have a firm grip on the spring, see fig.J. Compress the spring by rotating the drive nut using a socket wrench. (Limit torque to 120 Nm, in order not to overload the safety pin).
DO NOT continue to drive when the upper or lower travel ends of spring compressor are reached. When the spring has been safely compressed, remove the top bearing of the strut.
Before removing the bearing recheck that the spring is still firmly seated in the jaws. See figure K.
Remove the damper and carefully release the tension on the spring. Replace worn parts and repeat above procedure in reverse order for safe assembly. Store the compressor in a safe and proper place after use.
IMPORTANT Take care throughout the whole operation and avoid standing in hazardous places in case the spring releases unintentionally.
MAINTENANCE
Maintenance personnel should be qualified and trained in the compressor functions and failure modes, their rectification, operation and maintenance of the product.
Regular check period: 1 month. If you find any damage or deformation, please stop use immediately and ask your supplying stockist for help. Never try to repair the product yourself, except for changing the safety pin.
Always keep the unit clean. Make sure the coil spring compressor is dry. Always pack the jaws away with the compressor as delivered. Store the unit in a dry place to prevent corrosion. Always pack away the jaws with the coil spring compressor as supplied.
Grease the guide spindle (using graphite grease) if necessary, or at least every six months. Always clean the spindle before applying grease.
Unauthorized parts are forbidden.
ENVIRONMENT PROTECTION
Recycle unwanted materials instead of disposing of them as waste. All tools, accessories and packaging should be sorted, taken to a recycling centre and disposed of in a manner which is compatible with the environment. When the product becomes completely unserviceable and requires disposal, drain any fluids (if applicable) into approved containers and dispose of the product and fluids according to local regulations.
Note: It is our policy to continually improve products and as such we reserve the right to alter data, specifications and component parts without prior notice. Please note that other versions of this product are available. If you require documentation for alternative versions, please email or call our technical team on [email protected] or 01284 757505.
Important: No Liability is accepted for incorrect use of this product.
Warranty: Guarantee is 12 months from purchase date, proof of which is required for any claim.
01284 757500
01284 703534
[email protected]
www.sealey.co.uk
















