Clarke AIRMASTER-18/200 200L Belt Driven Air Compressor

INTRODUCTION
Thank you for purchasing this 200L Belt Driven Air Compressor.
Read this manual fully before use and follow the instructions carefully. In doing so you will ensure the safety of yourself and those around you, and you can look forward to your purchase giving you long and satisfactory service.
GUARANTEE
This product is guaranteed against faulty manufacture for a period of 12 months from the date of purchase. Please keep your receipt which will be required as proof of purchase.
This guarantee is invalid if the product is found to have been abused or tampered with in any way, or not used for the purpose for which it was intended.
Faulty goods should be returned to their place of purchase, no product can be returned to us without prior permission.
This guarantee does not effect your statutory rights.
ENVIRONMENTAL RECYCLING POLICY
Through purchase of this product, the customer is taking on the obligation to deal with the WEEE in accordance with the WEEE regulations in relation to the treatment, recycling & recovery and
environmentally sound disposal of the WEEE.
In effect, this means that this product must not be disposed of with general household waste. It must be disposed of according to the laws governing Waste Electrical and Electronic Equipment (WEEE) at a recognised disposal facility.
SAFETY PRECAUTIONS
Before using your compressor it is in your own interest to read and pay attention to the following safety rules.
- Compressed air is dangerous. DO NOT point a jet of air at persons or animals, and DO NOT discharge compressed air against the skin.
- DO NOT operate your compressor with the guard removed.
- Repairs must only be carried out by a qualified engineer. If problems occur, contact your dealer.
- Before carrying out any maintenance make sure that the pressure is released from the air reservoir and that the compressor is disconnected from the electrical supply.
- DO NOT leave pressure in the receiver overnight or when transporting.
- DO NOT adjust or tamper with the safety valves. The maximum pressure is factory set and clearly marked on the compressor.
- DO NOT operate in wet or damp conditions. Keep the compressor dry at all times. Similarly, clean air will allow the compressor to work efficiently. DO NOT use in dusty or otherwise dirty locations.
- Some of the metal parts can become quite hot during operation. DO NOT touch/remove these until the compressor has cooled down.
- When spraying flammable materials e.g. cellulose paint, ensure that there is sufficient airflow and keep clear of any source of ignition.
- Before spraying any material always consult paint manufacturers instructions for safety and usage.
- Protect yourself. Goggles will protect your eyes from flying particles. Face masks will protect you against paint spray and fumes.
- DO NOT apply strain to electrical cables and make sure that air hoses are not kinked or wrapped around the compressor.
- When disconnecting air hoses or other equipment from your compressor, make sure that the air supply is turned off at the outlet and vent all pressurised air from within the reservoir and other equipment attached to it.
- Make sure that children and animals are kept well away from the compressor and any equipment attached to it.
- Make sure that all individuals using the compressor have had the necessary training and have read and fully understand these operating instructions.
- Make sure that any equipment or tool used in conjunction with your compressor, has a safe working pressure exceeding that of the compressor.
- Be careful when transporting the compressor to prevent tipping over
- Permanently installed systems must be installed by a competent engineer.
- These compressors produce noise levels in excess of 70dB(A). Persons working near the compressor must be supplied with ear protection.
SAFETY SYMBOLS

ELECTRICAL CONNECTIONS
WARNING: READ THESE ELECTRICAL SAFETY INSTRUCTIONS THOROUGHLY BEFORE CONNECTING THE PRODUCT TO THE MAINS SUPPLY.
Connect the mains lead to a standard, 230 Volt (50Hz) electrical supply through an approved 13 amp BS 1363 plug, or a suitably fused isolator switch.
If the plug has to be changed because it is not suitable for your socket, or because of damage, it must be removed and a replacement fitted, following the wiring instructions shown below. The old plug must be discarded safely, as insertion into a power socket could cause an electrical hazard.
WARNING: THE WIRES IN THE POWER CABLE OF THIS PRODUCT ARE COLOURED IN ACCORDANCE WITH THE FOLLOWING CODE: BLUE = NEUTRAL BROWN = LIVE YELLOW AND GREEN = EARTH
If the colours of the wires in the power cable do not agree with the markings on the plug.
- The BLUE wire must be connected to the terminal which is marked N or coloured black.
- The BROWN wire must be connected to the terminal which is marked L or coloured red.
- The YELLOW AND GREEN wire must be connected to the terminal which is marked E or coloured green.

We strongly recommend that this machine is connected to the mains supply through a Residual Current Device (RCD).
If you are not sure, consult a qualified electrician. DO NOT try to do any repairs.
BEFORE USE
CAUTION: TO PREVENT INJURY, GET ASSISTANCE WHEN LIFTING OR MOVING THIS COMPRESSOR.
Before connecting your compressor to the power supply, check the following:-
- Set the ON/OFF switch to the OFF position (pushed down).
- Make sure that the compressor is on level ground.
- Make sure that the supply voltage matches the voltage shown on the data label.
CHECK THE OIL LEVEL
- Ensure the oil level is filled up to the mark on the sightglass.
- If low, top up after unscrewing the filler plug.
- Only use ISO100 (SAE30) compressor oil, available from your MACHINE MART dealer Part No. 3050796.
- Take care not to overfill.

OPERATION
If the compressor has not been used for more then 24 hours, open the drain valve (on the bottom of the reservoir) and drain any condensate which has collected. See page 10.
MOVING THE AIR COMPRESSOR
- Stop the compressor and disconnect it from the power supply before you move it.
- Do not lift by (or put strain on) valves or hoses.
ATTACHING AIR TOOLS
WARNING: BEFORE CONNECTING AIR TOOLS, MAKE SURE THAT YOU READ THE INSTRUCTIONS SUPPLIED WITH THE TOOL, ALSO ENSURE THAT THE TOOL IS SUITABLE FOR USE WITH THE COMPRESSOR AND HOSE SPECIFICATIONS.
- Attach the air hose to the outlet valves.
- Attach the air tool to the other end of the air hose.
- Turn the outlet valve handle to the open position.
NOTE: The outlet valve is shown without the air hose fitted for clarity.
NOTE: To adjust the output pressure we recommend that a pressure regulator (not supplied) be fitted between the compressor and the tool.

TURNING THE COMPRESSOR ON
- Plug the compressor into the power supply.
- Lift the On/Off button.
- The compressor will operate until the reservoir is fully pressurised. It will then shut down.
- The compressor will start up again when the pressure in the reservoir decreases.

CHECKING THE SAFETY VALVE
To make sure that the safety valve works correctly.
- Unscrew and pull the knurled part of the valve by gripping it with pliers as shown.
- Air will be released when you pull hard on the valve end and stop when released.
- If the valve does not operate in this way, do not use the compressor. The compressor must be repaired by a qualified service agent.

WARNING: DO NOT REMOVE OR TRY TO ADJUST THE SAFETY VALVE.
REMOVING TOOLS FROM THE AIR HOSE
- Push down on the On/Off button to stop the compressor.
- Turn the outlet valve handle to the closed position.
- Operate the tool to depressurize the air hose.
- Disconnect the tool from the hose.

TURNING THE COMPRESSOR OFF
- Follow steps 1-3 in “Removing Tools from the Air Hose” above.
- Disconnect the compressor from the power supply.
- Slowly open the outlet valve to depressurise the reservoir.
- You will hear a hissing sound as the reservoir depressurises.
- Do not leave the compressor unattended if the reservoir is pressurised.
DRAINING THE RESERVOIR
CAUTION: YOU MUST DRAIN THE RESERVOIR AFTER EACH DAYS USE AND BEFORE YOU PUT YOUR COMPRESSOR INTO STORAGE.
- Turn the compressor off and disconnect from the power supply.
- Put a container below the drain valve to collect the condensate.
- Open the drain valve slowly.
- Condensation will drain from the reservoir.
- Close the drain valve when the reservoir has fully drained.

USING THE RESET BUTTON
This compressor has a thermal overload device.
If the motor gets too hot, the thermal overload device cuts the power which prevents damage to the motor.
If the thermal overload device operates, let the motor cool down for 5 minutes and push the reset button.
If you start the compressor and the overload cutout operates again, stop the compressor and disconnect from the power supply and have your compressor examined by a qualified service agent.

MAINTENANCE
WARNING: MAKE SURE THAT THE COMPRESSOR IS DISCONNECTED FROM THE ELECTRICAL SUPPLY BEFORE CARRYING OUT ANY MAINTENANCE
DRAINING THE RESERVOIR
After use, always open the drain valve to make sure that any condensate is drained off.
CHECKING THE OIL
Ensure the oil level is between the min and max marks on the dipstick. See “Check the Oil level” on page 6 and top-up if necessary – (use ISO100 (SAE30) compressor oil, available from your Machine Mart dealer).
CLEANING THE AIR FILTER
The air filter should be inspected monthly or more often in dusty conditions.
- Remove the fixing bolts with a 7/32” hex key and pull the filter from the engine.
- Remove the filter element and clean the filter using a soft brush.
- If necessary, the filter can be carefully cleaned in warm soapy water.
- Rinse and let the filter dry completely before refitting.
- If the filter element is damaged it must be replaced.
- Reassemble the filter and refit it to the compressor.

REPLACING THE OIL
After the first 100 hours use, replace the oil using SAE30 compressor oil.
Then replace the oil after every 500 hours of operation or every 6 months.
To drain the oil, remove the oil drain plug from the crankcase.
Refill untill the oil is visible through the sightglass.

CHECKING THE NON-RETURN VALVE
If the reservoir pressure decreases for no apparent reason it is possible that the non-return valve is leaking. To check this:
- Make sure that the reservoir is not under pressure and the compressor is switched OFF.
- Examine the non-return valve and replace the gasket and valve if necessary.

REPLACING THE DRIVE BELT
WARNING: MAKE SURE THAT THE COMPRESSOR IS DISCONNECTED FROM THE ELECTRICAL SUPPLY BEFORE REPLACING THE DRIVE BELT.
- Rotate the clips on the front of the safety cage.
- Remove the front of the cage and take out the worn or broken drive belt.
- Place the new drive belt over the small pulley.
- Position part of the drive belt over the large pulley as shown.
- Rotate the large pulley by hand in a clockwise direction whilst guiding the belt on to it.
- Take care to avoid trapping your fingers between the pulley and belt.
- Replace the cage and secure before use.

WARNING: NEVER USE THE COMPRESSOR WITH THE GUARD REMOVED.
SPECIFICATIONS
| MODEL AIRMASTER 18/200 | |
| Part Number | 2245311 |
| Motor size | 4 HP |
| Voltage | 230 VAC (50Hz) |
| Air Displacement | 504.8L/min (18 cfm) |
| Max Pressure | 10 Bar (145psi) |
| Receiver Capacity | 200 L |
| Ingress Protection | IP20 |
| Fuse rating | 13A |
| Duty cycle | S3/50% |
| Oil requirements | ISO100 (SAE30) compressor oil |
| Oil Capacity | 0.4L |
| Dimensions (L x W x H) | 1540 x 400 x 820 mm |
| Guaranteed Sound Power Level | 97 dB(A) |
| Weight | 102 kg |
Please note that the details and specifications contained herein, are correct at the time of going to print. We reserve the right to change specifications at any time without prior notice.
TROUBLESHOOTING
CAUTION: DO NOT TRY TO REPAIR OR ADJUST IF YOU ARE UNCERTAIN. IF YOU HAVE ANY QUERIES, CONTACT YOUR CLARKE DEALER.
| PROBLEM | PROBABLE CAUSE | REMEDY |
| The compressor has stopped and does not start. | Bad electrical connections. | 1. Check electrical connections. 2. Clean and tighten if necessary. |
| Overload cutout switch has tripped. | 1. Switch off and wait approx 5 minutes. 2. Press the reset button and switch on again. | |
| Motor windings burnt out. | 1. Contact your Machine Mart dealer for a replacement motor. | |
| The compressor does not reach the set pressure and overheats easily. | Compressor head gasket blown or valve broken. | 1. Return the machine to your nearest Machine Mart dealer. |
| Compressor does not start. | The reservoir has already fully pressurised. | 1. Open drain valve to expel air. Compressor should start again when pressure reduces. |
| Air leaking from the non-return valve when the compressor is not running. | Faulty non-return valve. | 1. Drain receiver completely of air. 2. Remove the valve end plug. 3. Carefully clean the valve seat and the gasket 4. Reassemble. |
| Compressor is very noisy and makes metallic knocking sound. | Compressor is damaged and needs overhaul. | 1. Return the machine to your nearest Machine Mart dealer. |
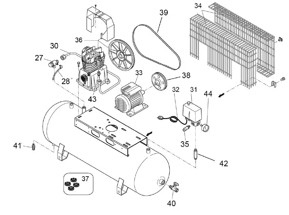
COMPONENT PARTS


COMPONENT PARTS LIST
| DESCRIPTION | NO | DESCRIPTION | ||
| 1 | Crankcase | 32 | Power Cable | |
| 2 | Cylinder block | 33 | Motor | |
| 3 | Cylinder Head | 34 | Belt Guard | |
| 4 | Crankshaft | 35 | Safety valve | |
| 5 | Lower Cover | 36 | Pump assembly | |
| 6 | Kit Valve Holder | 37 | Feet set | |
| 7 | Conrod | 38 | Drive pulley | |
| 8 | Air Filter Assembly (complete) | 39 | Drive Belt | |
| 9 | Air cooler | 40 | Outlet Tap | |
| 10 | End Cover | 41 | Drain Valve | |
| 11 | Bearing Retainer | 42 | Upright Connector | |
| 12 | Flywheel | 43 | Connector | |
| 13 | Bearing | 44 | Pressure Gauge | |
| 14 | Dipstick | |||
| 15 | Oil seal | |||
| 16 | O-ring | |||
| 17 | Bolt | |||
| 18 | Washer | |||
| 19 | Piston Ring Set | |||
| 20 | Piston | |||
| 21 | Gudgeon pin | |||
| 22 | Circlip | |||
| 23 | Piston Kit | |||
| 24 | Intake Air Filter | |||
| 25 | Gasket Set | |||
| 26 | Cold Start Valve | |||
| 27 | Non Return Valve | |||
| 28 | Rilsan Tube | |||
| 29 | Plastic Shroud | |||
| 30 | Delivery pipe | |||
| 31 | Pressure Switch | |||
Parts & Service: 0871 410 1270 / e-mail: [email protected] or [email protected]


















