BBQ7000 Kamado Traditional Ceramic Round Grill
Instruction Manual

Introduction and safety instructions
About your ceramic charcoal barbecue, Ceramic charcoal barbecues are extremely versatile. Not only can they be used for grilling or smoking, but also pizzas, bread, pies, and cookies can be baked effortlessly inside them.
Due to their excellent heat retention properties, high temperatures can be achieved and maintained by precise control of airflow via the top and bottom vents. High temperatures are ideal for quickly cooking burgers and sausages, while low heat can cook larger cuts over a longer period of time. Try adding some wood chips to the charcoal, or t, combining different flavor wood chips to make your meats even more flavourful.
Important safeguards
This product is intended for outdoor use only. Do not use indoors.
Never leave a burning fire unattended. Always keep children and pets at a safe distance from the oven when in use.
FIRE HAZARD: May emit hot embers while in use.
DANGER OF CARBON MONOXIDE POISONING: never light this product, let it smolder or cool down in confined spaces. Do not use this product in a tent, caravan, car, cellar, loft or boat. Do not use this ceramic unit as a furnace.
CAUTION: Do not use gasoline, white spirit, lighter fluid, alcohol, or other similar chemicals for lighting or relighting. Use only firelighters complying to EN1860-3. It is highly recommended that you use lump charcoal in your ceramic barbecue. It burns for longer and produces less ash, which can restrict the airflow. Do not use coal in this product.
IMPORTANT: When opening the lid at high temperatures it is essential to lift the lid only slightly, which allows air to enter slowly and safely, preventing any back-draft or flare-ups that may cause injury. Do not use under any awnings, parasols or gazebos. Always follow the cooking temperature guide stated in this instruction manual. Do not use the ceramic charcoal barbecue on decking or any other combustible surfaces such as dry grass, wood chips, leaf mulch, or decorative bark. Ensure that the ceramic charcoal barbecue is positioned at least two meters away from flammable items.
CAUTION: This product will become very hot. Always use heat-resistant gloves when handling hot ceramics or cooking surfaces. Allow the unit to cool down completely before moving or storing. Do not move it during operation. Always inspect the unit prior to use for fatigue and damage, and replace as and when necessary.
Assembly instructions
Parts list
Prior to assembly, check all parts against the parts list. Carry out assembly on a soft surface to avoid scratching the paint. For ease of assembly, only loosely tighten bolts and then tighten fully when the assembly is complete.
WARNING: Do not over-tighten bolts. Only tighten all bolts with moderate pressure to avoid damaging the bolts or components of the ceramic charcoal barbecue.
IMPORTANT: Remove all packaging before use, but retain the safety instructions and store them with this product. Ensure that the lid is closed prior to assembly.
| ID | Part name | Qty | Part image |
| A | Nut – Small | 16 | ![]() |
| B | Nut – Large | 4 | ![]() |
| C | Locking Washer | 16 | |
| D | Washer | 16 | ![]() |
| E | Bolt | 16 | ![]() |
| F | Flat Wrench * | 1 | ![]() |
| G | Wrench 9/11 * | 1 | |
| H | Wrench 17/19 * | 1 | ![]() |
| I | Screwdriver * | 1 | |
| * NOT INCLUDED WITH ALL MODELS | |||
| ID | Part name | Qty | Part image |
| 1 | Support Bracket | 4 | ![]() |
| 2 | Locking Caster Wheel | 2 | ![]() |
| 3 | Caster Wheel | 2 | ![]() |
| 4 | Bracket Crosspiece | 2 | ![]() |
| 5 | Main Cooking Grid | 1 | ![]() |
| 6 | Charcoal Plate | 1 | ![]() |
| 7 | Firebox & Fire ring | 1 | ![]() |
| 8 | Ceramic Body | 1 | ![]() |
| 9 | Top Damper Vent | 1 | ![]() |
| 10 | Lid Handle | 1 | ![]() |
| 11 | Side Shelf | 2 | ![]() |
| 12 | Side Shelf Brackets | 4 | ![]() |
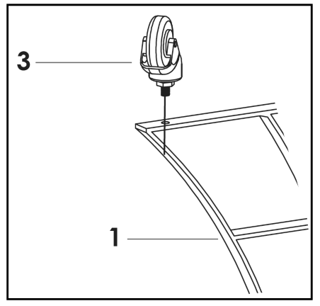
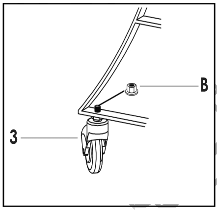
Attaching the caster wheels
![]() | c |
| Attach the four pre-threaded caster wheels (2 & 3) to each of the four rackets (1) by hand-tightening them into the hole. | Secure caster wheels with large nut (B). To keep support rackets evel, ensure the bolt on the wheel does not extend the large nut. |
Assembling the cart

To assemble the cart, attach the two crosspieces (4) to one of the four brackets (1).
Secure the brackets (1) to the crosspieces (4) by using the 16x bolts, washers, locking washers, and nuts (A, C, D,E).
Please note the position shown in the diagram.
Completing the cart
Continue to attach the crosspieces (4) to the other three support brackets (1). The cart is now complete.

Lifting the ceramic body onto the cart
Make sure the cart is secure, and all of the bolts are tight before placing the ceramic body (8) into it. Press down on the caster levers (2) to lock the castor wheels to ensure the ceramic charcoal barbecue cannot move.
To place the ceramic body (8) on the cart, first, remove all of the items that are inside of the grill to make lifting easier. Place one of your hands in the bottom vent of the ceramic ody and the other under the grill.
CAUTION: Use a minimum of two people when lifting the ceramic body onto the cart. Lifting by the hinge or the side tables could result in injury and damage to the product.
Place the ceramic charcoal barbecue on the cart with the bottom vent facing to the front of the cart allowing the vent to open and close without any interruption.
Attacthehing the top damper
Once grill is securely seated in the cart, attach the top vent (9). Align the side notch with the thermometer at the front, and set over the top opening. Secure with pre-attached bolts, washers, and nuts.

Installing the side shelf brackets
Attach the 4x table brackets (12) to the ceramic body (8) using the 16x pre-at-tached bolts with their corresponding washers, locking washers, and nuts per bracket. Please note the diagram.

Mounting the side shelves
Insert the 2x table hinges (11) into each of the table brackets (12.

Positioning the grids
Add the firebox (7), charcoal plate (6), and the main cooking grid (5) inside of the ceramic body (8). Please reference the diagram below.

Attaching the lid handle
Attach the lid handle (10) and to the ceramic body (8), use the 2x pre-attached bolts with their corresponding washers, locking washers, and nuts per bracket.

The ceramic charcoal barbecue is now ready to use. Please ensure that unit curing instructions are read thoroughly prior to use.
Operating instructions
First use – during the unit
Curing your ceramic charcoal barbecue is important for its long-term operation and care. Avoiding the curing procedure could lead to damage on the unit. If the first burns are too hot, they could damage the felt gasket seal before it has had the chance to mature with use.
To start your first fire, place one lighter cube or solid firelighters and one handful of lump charcoal on top of the charcoal plate (7). Open the bottom vent and light the lighter cube using a long-nosed lighter or safety matches.
Do not use gasoline, white spirit, lighter fluid, alcohol or other similar chemicals for lighting or relighting.
Once the lump charcoal has caught, cure the unit by closing the lid, and leaving both vents mostly closed. See the cooking temperature guide for smoking (83ºc – 108ºc / 180ºf – 225ºf). Burn until all the fuel is used and the fire is extinguished. This should take approximately two hours. Do not overload the unit with fuel.
After first use, inspect all fasteners. The metal band connecting your lid to the base will expand from the heat and could become loose. It is recommended you check and tighten the band, if necessary, with a wrench. You can now use your ceramic charcoal barbecue as normal.
Lighting
When using the ceramic charcoal barbecue, push down on both of the locking wheels to stop the unit from moving around during use.
Ensure the ceramic barbecue is positioned on a permanent, flat, level, heat-resistant non-flammable surface, away from flammable items.
Position the ceramic charcoal barbecue with a minimum of 2m overhead clearance and at least 2m clearance from other surrounding items.
- To start a fire, place rolled-up newspaper and some lighter cubes or solid firelighters on the charcoal plate (7), in the base of the ceramic charcoal barbecue.
Then, place two or three handfuls of lump charcoal over the top of the newspaper. - Do not use gasoline, white spirit, lighter fluid, alcohol, or other similar chemicals for lighting or relighting.
- Open the bottom vent and light the newspaper using a long-nosed lighter or safety match. Once it has caught, leave the bottom vent and lid open for about 10 minutes to build a small bed of hot embers.
- Allow the charcoal to heat up and keep it red hot for at least 30 minutes prior to the first cooking on the ceramic charcoal barbecue. Do not cook before the
fuel has a coating of ash. - It is recommended that you do not stoke or turn the coals once they are alight. This allows the charcoals to burn more uniformly and efficiently.
- Once alight, only use heat-resistant gloves when handling hot ceramics or cooking surfaces. Read through this manual for a complete detailed guide on cooking temperatures for grilling.
Ceramic cooking guide
Cooking temperature guide
IMPORTANT: Do not adjust the top or bottom vent while the ceramic charcoal barbecue is in use. This could result in serious injury.
It is recommended to always use heat-resistant gloves when working with hot appliances.
Slow Cook / Smoke (83ºC – 108ºC / 180ºF – 225ºF)
Beef brisket: 4.5 hours per kg
Pulled pork: 4.5 hours per kg
Whole chicken: 3-4 hours
Ribs: 3-5 hours
Roasts: 9+ hours

Sear (260ºC – 330ºC / 500ºF – 625ºF)
Scallops: Until opaque & firm
Steak: 5-8 minutes
Pork chops: 6-10 minutes
Burgers: 6-10 minutes
Sausages: 6-10 minutes

Grill / Roast / Bake (163ºC – 191ºC / 325ºF – 375ºF)
Seafood (crab, lobster, shrimp): Until opaque & firm Seafood (clams, oysters): Until shells open.
Fish: 15-20 minutes
Pork tenderloin: 15-30 minutes
Chicken pieces: 30-45 minutes
Whole chicken: 1-1.5 hours
Leg of lamb: 3-4 hours
Turkey: 2-4 hours
Ham: 2-5 hours

IMPORTANT: The above temperature values and cooking times are indicative and may differ from the ideal ones which are directly related to the weight and type of each product as well as to personal preference.
General food safety
Read and follow this advice when cooking on your ceramic charcoal barbecue:
- Do not cook until the fuel has a coating of ash.
- Before cooking, ensure grill surfaces and tools are clean and free of old food residues.
- Always wash your hands before and after handling uncooked meat, and before eating.
- Do not use the same utensils to handle cooked and uncooked foods. Always keep raw meat away from cooked meat, and other foods.
- Ensure all meat is cooked thoroughly before eating.
CAUTION: Eating raw or undercooked meat can cause food poisoning (e.g. bacteria strains such as E.coli). To reduce the risk of undercooked meat, cut it open to ensure it is cooked all the way through.
CAUTION: If the meat has been cooked sufficiently, the meat juice should be clear and there should be no traces of pink/red juice, or meat coloring. Pre-cook- ing larger pieces of meat and cuts is recommended before finally cooking on your grill. After cooking on your ceramic charcoal barbecue, always clean the grill cooking surfaces and utensils.
Smoking
Always follow the Cooking Temperature Guide stated in this instruction manual. Always use heat-resistant gloves when handling hot ceramics or cooking surfaces. See Cooking Temperature Guide.
- Light the lump charcoal according to the lighting instructions in this manual. Do not move or stoke the coals once lit.
- Open the bottom vent fully and leave the lid open for about 10 minutes to build a small bed of hot embers.
- Monitor the ceramic charcoal barbecue until it has risen to the desired temperature.
- Leave the bottom vent slightly open. Close the top vent and continue to check the temperature for a few more minutes.
- Using heat-resistant gloves, sprinkle the wood chips in a circle over the hot charcoal. Always use heat-resistant gloves when handling hot ceramics or cooking surfaces.
You are now ready to use the ceramic charcoal barbecue to smoke on.
TIP! Soak wood chips or cooking planks in water for 15 minutes to prolong the smoking process.
IMPORTANT: When opening the lid at high temperatures, it is essential to lift the lid only slightly at first, allowing air to enter slowly and safely, preventing any back-draft or flare-ups that may cause injury.
Low temperatures
Always follow the Cooking Temperature Guide stated in this instruction manual. Always use heat-resistant gloves when handling hot ceramics or cooking surfaces. See Cooking Temperature Guide.
- Light the lump charcoal according to the lighting instructions in this manual. Do not move or stoke the coals once lit.
- Open the bottom vent fully and leave the lid open for about 10 minutes to build a small bed of hot embers.
- Monitor the ceramic charcoal barbecue until it has risen to the desired temperature. Fully close the bottom vent to maintain the temperature.
You are now ready to use the ceramic charcoal barbecue for cooking.
IMPORTANT: When opening the lid at high temperatures it is essential to lift the lid only slightly at first, allowing air to enter slowly and safely, preventing any back-draft or flare-ups that may cause injury.
High temperatures
Always follow the Cooking Temperature Guide stated in this instruction manual. Always use heat-resistant gloves when handling hot ceramics or cooking surfaces. See Cooking Temperature Guide.
- Light the lump charcoal according to the lighting instructions in this manual. Close the lid and fully open the top and bottom vents.
- Close the top vent halfway and continue to check the temperature for a few more minutes.
You are now ready to use the ceramic charcoal barbecue for cooking.
IMPORTANT: When opening the lid at high temperatures, it is essential to lift the lid only slightly at first, allowing air to enter slowly and safely, preventing any back-draft or flare-ups that may cause injury.
Refueling
With the top and bottom vent closed, the ceramic charcoal barbecue will stay at a high temperature for several hours. If you require a longer cooking time (e.g. when roasting a whole cut or slow-smoking), it may be necessary to add more charcoal. Open the lid, add additional charcoal, and continue to cook as directed in this manual.
Extinguishing
To extinguish the unit: stop adding fuel and close all the vents and the lid to allow the fire to die naturally. Do not use water to extinguish the charcoal as this could damage the ceramic charcoal barbecue.
Technical data
| Main body diameter: | 61cm |
| Diameter of the cooking grid: | 52cm |
| Top vent material type: | Cast iron |
| Side table/handle material type: | Bamboo |
| Band/spring/stand material type: | Steel |
| Cooking grid dimensions: | (dia 6mm) |
| Fire ring/firebox material type: | Mullite |
| Grill dome/grill base material type: | Mullite |
* The manufacturer reserves the right to make minor changes to product design and technical specifications without prior notice unless these changes significantly affect the performance and safety of the products. The parts described/illustrated in the pages of the manual that you hold in your hands may also concern other models of the manufacturer’s product line with similar features and may not be included in the product you just acquired.
* Please note that our equipment has not been designed for use in commercial, trade or industrial applications. Our warranty will be voided if the machine is used in commercial, trade or industrial businesses or for equivalent purposes.
* To ensure the safety and reliability of the product and the warranty validity, all repair, inspection, repair or replacement work, including maintenance and special adjustments, must only be carried out by technicians of the authorized service department of the manufacturer.
* Always use the product with the supplied equipment. Operation of the product with non-provided equipment may cause malfunctions or even serious injury or death. The manufacturer and the importer shall not be liable for injuries and damages resulting from the use of non-conforming equipment.
Storage
When not in use, and if stored outside, cover the ceramic charcoal barbecue once completely cooled with a suitable rain cover. It is recommended the ceramic charcoal barbecue be stored under cover in a garage or shed over winter for complete protection.
Cleaning & maintenance
NOTE: Do not use water or any other types of cleaning product to clean the inside of your ceramic charcoal barbecue. The walls are porous and will absorb any fluids used, which could cause the ceramic charcoal barbecue to crack.
After the ceramic charcoal barbecue has cooled, if the soot becomes excessive, use special ash removing tool to scrape off the carbon remnants before the next use. Carefully open the bottom vent and rake the soot into a small waste container under the vent opening. Dispose of the container, or store for future use (soot).
To clean the grills and grates, use a non-abrasive cleaner once the unit has fully cooled. The chrome-plated cooking grill is not dishwasher safe; use a mild detergent with warm water.
To clean the outer surface, wait until the ceramic charcoal barbecue is cool and use a damp cloth with a mild detergent. It is important to check and tighten the bands, and oil the hinges, twice a year or more if needed.




















c
















