Owner’s Manual
850TRAP Bariatric Trapeze
PARTS DIAGRAM
Dimensions & Weight
Overall Height: 72″
Overall Width: 36″(frame and leg width)
Overall Depth: 63″ (leg length)
Boom Length: 35″ (extends horizontally over the bed)
Weight: 154 pounds
| # | DESCRIPTION | OTY | PRT # |
| 1 | FRAME ASSEMBLY | 1 | – |
| 2 | TRAPEZE HANDLE | 1 | 20717 |
| 3 | SLIDER PLATE | 1 | 20720 |
| 4 | TRAPEZE HANDLE WEBBING | 1 | 20722 |
| 5 | CAP, STEEL | 2 | P578 |
| 6 | NUT, LOCK 3/8-16 | 2 | P541 |
| 7 | CREW, HHC 3/8-16 X 2-1/4″ | 2 | P414- 1 |
| 8 | AP, PLASTIC 2 X I” | 10 | P162 |
| 9 | SCREW,HHC 1/2-20 X 2-3/4″ | 4 | P422-2 |
| 10 | NUT, LOCK 1/2-20 THIN | 4 | P543 |
| 11 | WHEEL, 2 X I | 2 | P964-3 |
| 12 | SCREW, HHC 1/4-20 X I-1/2 | 2 | P373 |
| 13 | NUT, LOCK 1/4-20 | 2 | P537 |
Patient Weight Capacity: Up to 850 pounds

NOTICE: Improved design of trapeze does not require trapeze bar attachment hook as shown in previous illustrations.
Setup and Moving Instructions
- Unfold the legs and stand the frame up as shown. Install (2) #9 hex head bolts and
(2) #10 lock nuts. Tighten all (4) leg bolts and lock nuts. - Slide boom over trapeze frame and install (2) #7 bolts and (2) #6 nuts. Tighten.
- Slide trapeze bar and strap assembly over the boom and adjust to the desired height.
Warning! Set trapeze on the level floor. Failure to set up properly may damage the trapeze and cause bodily injury to users or attendants.
Only thread strap through the buckle in the way shown here! Threading in any other way may cause the strap to fail.
When adjusting the strap for desired trapeze bar height, make sure there are at least 2 inches of strap left on either end of the buckle as shown.
If the strap becomes torn or frayed replace it immediately
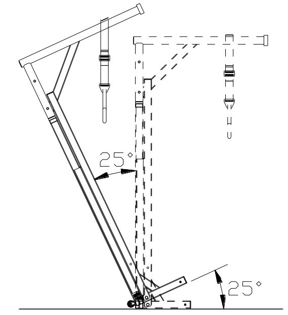
- To use transport wheels, Remove (2) #9 bolts and fold the legs up. Tilt frame 15-25° back and carefully roll to a new location.
- After transporting the trapeze, reassemble leg bolts and tighten them.
- Trapeze may be free-standing or anchored to the floor using the (4) brackets provided.
Warning! Moving the trapeze on the transport wheels can be very dangerous.
Use extreme care! The person moving the trapeze must be able to handle the weight. Do not tilt the frame more than 25°, and do not let the center of gravity become too low. Keep a firm grip on the trapeze.
Model No………………………………..
Serial No………………………………..
Date of purchase……………………….
BUILT, INSPECTED & PACKED BY: ………………
DATE BUILT: .………….
LIMITED WARRANTY
This limited warranty is extended to the original purchaser/user and cannot be transferred.
A trapeze frame is warranted for 2 years against defects in material and workmanship. All other components are warranted for 1 year.
Defective parts will be repaired or replaced by the company or its appointed agent. The warranty does not cover damage caused by misuse or negligence, nor does it cover defects or damages by the use of unauthorized parts or services by an unauthorized person.
This warranty gives you specific legal rights, and you may also have other rights that vary from state to state.
NOTICE
FREIGHT DAMAGE -The carrier who delivers merchandise to your door is responsible for loss and damages. Acceptance of the shipment by you is an acknowledgment that all articles delivered were in good condition and properly packed. Therefore, all claims for loss or damage must be filed immediately with the freight carrier. Then notify us. We will mark our records accordingly. After settling a claim, damaged merchandise will be picked up by the freight carrier and returned. Should you need assistance with the claim, call our customer service at 800-637-8436.
RETURN GOODS – Within 60 days from the date of purchase returns will be subject to a 25% handling and re-stocking charge plus any additional costs resulting from damage or use.
After 60 days from the date of purchase: ConvaQuip Ind., Inc. Inc. reserves the right to not accept return goods for any reason. If accepted, the amount of credit will be at the
discretion of ConvaQuip Ind., Inc. Return merchandise will not be accepted without prior authorization.
Made in the USA and Distributed by ConvQuip Ind., Inc.




















