PROLiNK GM-2001 Wireless Mouse

Package Contents

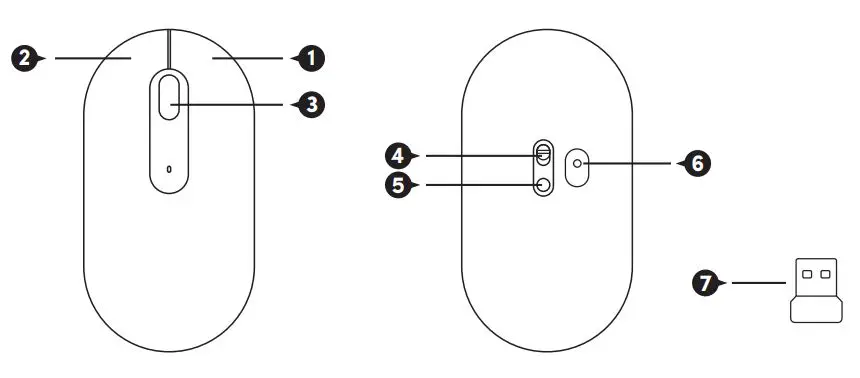
Overview
- Right Button
- Left Button
- Scroll Wheel (Middle Button)
- On/Off Button
- DPI Button
- Optical LED
- USB Receiver (stored under mouse cover)
Using The Device
Install Battery and Remove USB Receiver
- a. Lift up the mouse cover
- b. Take out the USB receiver
- c. Insert the included AA battery into the battery compartment. Make sure the battery orientation matches the “+” and “-” symbols in the compartment
- d. Place the mouse cover back to its original position

Tips:
- Store the USB receiver in the mouse when it is not in use
- Plastic cover/paper strip (if any) needs to be removed for completing the circuit
3.2 Connect Mouse to Computer
- a. Plug the USB receiver into a USB port of the computer
- b. The computer automatically detects the mouse and you can begin using it. If no response, please plug the USB receiver to another USB port of the compute.
3.3 DPI Adjustment
- a. 1200 DPI (Default) 1600 DPI 800 DPI. Press the DPI button located at the bottom of the mouse
- b. Reset DPI to default by unplugging USB.
Sleep Mode
The mouse goes into sleep mode after idling for 15 minutes for battery saving purpose. Wake mouse from sleep mode with a click of any mouse button.
Specifications & Functions
- Plug and play Nano receiver
- Robust wireless connection with advanced 2.4GHz 2 Way fast digital RF
- Up to 10 meters operation distance
- Sleep Mode for maximum battery life
- Resolution: 800/1200/1600 dpi
- Input Battery Power: 1.5V AA x 1
- Weight: 55g (Mouse); 1.6g (Receiver)
- Dimension: 110.2mm x 58.2mm x 29.5mm (Mouse); 19.3mm x 14.5mm x 6.5mm (Receiver)
User Advice/Maintenance
- Try to avoid contact with strong medicated hand creams/ sanitisers whilst using the mouse
- Regularly remove dust and dirt builtup from the underside of your Prolink mouse to ensure a smooth gliding movement
- It is advisable to use your Prolink mouse on a mouse mat or non-reflective surface
- Do not spray liquid on this product or allow excess liquid to drip inside.
Worldwide Customer Care Centers
INDONESIA Office
PT PROLiNK INTIDATA NUSANTARA
- Walk-In : Jl. Cideng Barat No. 79, Jakarta Pusat 10150, Indonesia.
- Telephone : +62 21 3483 1777
- Email Support : [email protected]
MALAYSIA Office
FIDA SYSTEMS (M) SDN BHD
- Walk-In : 29 Jalan USJ 1/31, 47600 Subang Jaya, Selangor Darul Ehsan, Malaysia.
- Telephone : +60 3 8024 9151
- Email Support : [email protected]
SINGAPORE Office
FIDA INTERNATIONAL (S) PTE LTD
- Walk-In : Block 16 Kallang Place #06-02, Kallang Basin Industrial Estate, Singapore 339156.
- Telephone : +65 6357 0668
- Email Support : [email protected]
Technical Support Hotline
- INDONESIA : +62 21 3483 1717
- MALAYSIA : +60 3 8023 9151
- SINGAPORE : +65 6357 0666
Note: Closed on Saturdays, Sundays and local/regional Public Holidays.





















