Paul Neuhaus 2738-13 PURE LUME LED Pendant Light

This product contains light sourcesofenergyeciencyclassE>,
TOOLS

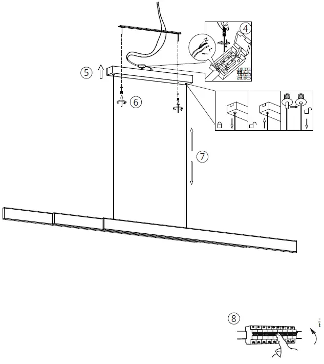
ASSEMBLY



Paul Neuhaus GmbH
Olakenweg 36 D-59457 Werl
+49(0)2922 9721 9290
[email protected]
www.paul-neuhaus.de

This product contains light sourcesofenergyeciencyclassE>,




Paul Neuhaus GmbH
Olakenweg 36 D-59457 Werl
+49(0)2922 9721 9290
[email protected]
www.paul-neuhaus.de
Download manual
Here you can download full pdf version of manual, it may contain additional safety instructions, warranty information, FCC rules, etc.