Shenzhen Lantaisi Technology MW01 MagSafe Fast Wireless Charging Base

Preface
Thank you for purchasing our company’s products. For optimum operation, please read this manual carefully before use.
Product Details
- Wireless Charging Area
- Indicator Lamp
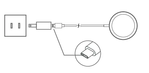
- Type-CUSB
Specification
- Input: DC 9V-2A,DC 12V-1.5A
- Output: 15W Max.
- Size: D58 6.8 (mm)

How it works
- Connection Instruction
- Connecting power source.
- Put the device in the wireless charging area.
- A lighted sky blue lamp indicates the device is in the undercharging status

Power Indicator Instruction
- After the green lamp, the sky blue lamp flashes once orderly, then die out.
- A lighted sky blue lamp indicates the device is under charging status.
- The sky blue light flashes when other metallic foreign objects are
- placed in the wireless charging zone.
Notice
- Please use QC/PD compatible power adapter to achieve a fast charge.
- lt is a normal phenomenon of fever during the charging process. Please kindly take off the device after a full charge to protect the device and wireless charger

Product and Safety info
- Do not store or use it in high temperatures, humidity, or dirty areas.
- Do not store or use it in strong magnetic fields.
- Keep out of the reach of children.
- Do not expose to water or heavy dust. Keep it dry and clean.
- Non-professional workers do not maintain device without author1zation.
Package Content
- 1x Product
- 1x User Manual
- 1x Charging Cable(1m)
FCC Statement
This device complies with Part 15 of the FCC rules. Operation is subject to the following two conditions: 1) this device may not cause harmful interference, and 2) this device must accept any interference received, including interference that may cause undesired operation.
This equipment has been tested and found to comply with the limits for a Class B digital device, pursuant to part 15 of the FCC Rules. These limits are designed to provide reasonable protection against harmful interference in a residential installation. This equipment generates uses and can radiate radio frequency energy and, if not installed and used in accordance with the instructions, may cause harmful interference to radio communications. However, there is no guarantee that interference will not occur in a particular installation. If this equipment does cause harmful interference to radio or television reception, which can be determined by turning the equipment off and on, the user is encouraged to try to correct the interference by one or more of the following measures:
- Reorient or relocate the receiving antenna.
- Increase the separation between the equipment and receiver.
- Connect the equipment into an outlet on a circuit different from that to which the receiver is connected.
- Consult the dealer or an experienced radio/TV technician for help.
- Changes or modifications not expressly approved by the party responsible for
- compliance could void the user’s authority to operate the equipment.
Radiation Exposure Statement
This device complies with FCC RF radiation exposure limits set forth for an uncontrolled environment. This transmitter must not be co-located or operating in conjunction with any other antenna or transmitter. During the operation of device, a distance of 15 cm surrounding the device and 20 cm above the top surface of the device must be respected.


















