Paul Neuhaus 9002-95 Q-WEDGE Wall Light

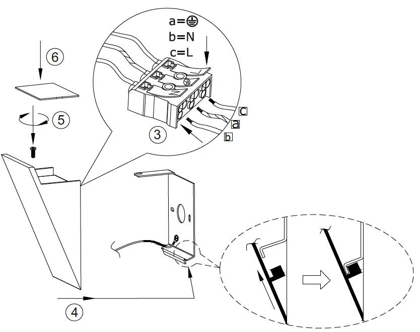
FITTING

ELECTRICAL CONNECTION

RESET

This device fulfils the fundamental requirements of Directive 2014/53/EU (Radio Equipment Directive) of the European Parliament and of the Council of the European Union dated 16.04.2014 on items of radio equipment. The full declaration of conformity can be accessed at the Internet-address give below.




















