alza ergo APW-EGSM310B Audio Mount 
THANK YOU FOR CHOOSING US!
We value your trust. We hope that you will be happy with our product, and as excited about it as we are. We try to offer products of the highest quality that satisfy even the most demanding requirements. If you are satisfied, it would make us very happy if you choose us again the next time you make a purchase.
SAFETY INFORMATION
- Read this manual before starting the installation.
- Please make sure that the complete package has been delivered to you. If there happens to be something missing or damaged, contact the seller.
- Store the product in a clean and dust-free environment
- Do not expose the product to high or low temperatures. Keep the product dry.
- Do not disassemble the product. Improper modifications can damage the product and cause serious injuries.
- Caution: Using tnis product WItn neavier weignt than listed may result in damage or serious injury.
- The product must be installed as instructed. Failure to follow the instructions may result in damage or serious injury.
- Appropriate tools and safety aids must be used during insta- llation. This product should only be installed by professionals.
- Make sure you install the product on a surface that can handle the combined weight of the product and the installed device with all of its components.
- Use the product only for its intended purpose.
- This product is not a toy. t may contain small parts. Keep out ot the reach of children.
- This product is not recommended for use by children without supervision.
- This product is intended for indoor use only. Outdoor use may result in product damage or injury.
- Caution: Do not apply excessive force to tighten to the screws in order to avoid tearing the thread.
- Maintenance: Check product safety at regular intervals (at least every 3 months).

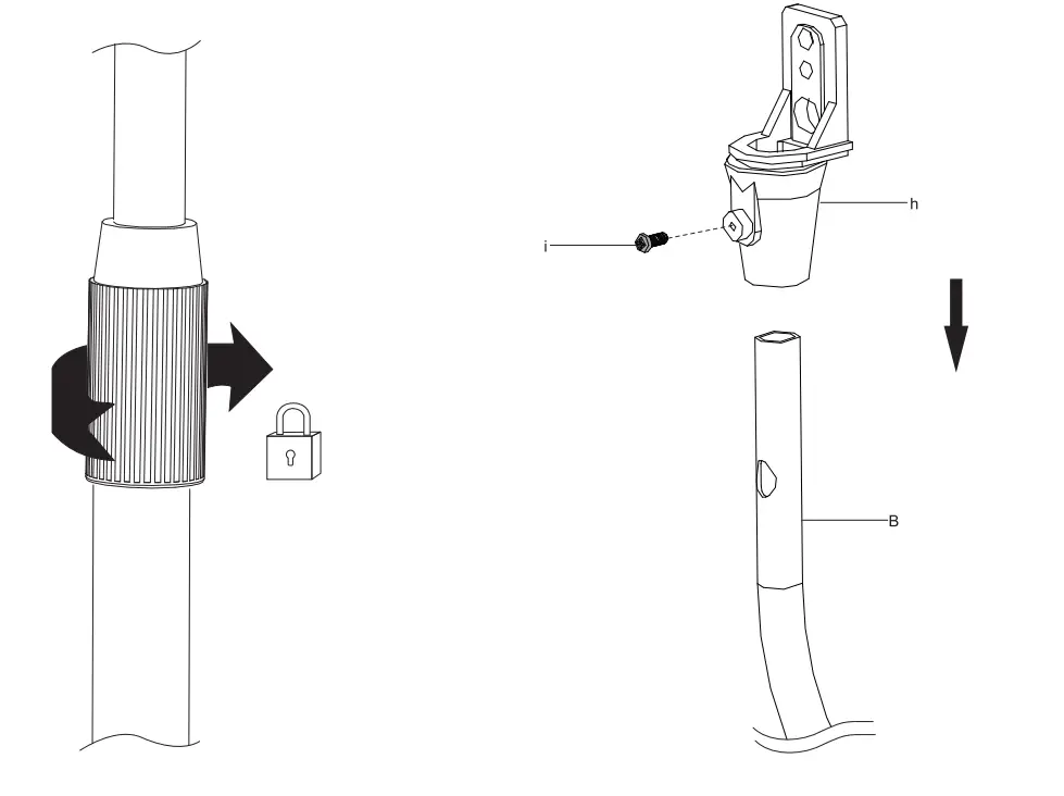
PARTS

CAUTION: Do not hang large size speakers trom the brackets. Avoid the risk of instability of the center of gravity!
WARRANTY & SUPPORT
Your neW product is protected by our 24-month warranty, or ex-tended warranty (if stated), which you can apply at any of our points of sale. For inquiries, you can use the contact torm or one of our international call centres.
United Kingdom
+44 (0)203 514 4411
Co. Reg. No. 27082440
Alza.cz a.s., Jankovcova 1522/53, 170 00 Prague 7, Czech Republic
2021 Alza.cz a.s. All Rights Reserved.
alza ergo APW-EGSM310B Audio Mount 
























