
SMART HOME LIGHTS
Fitting instructions
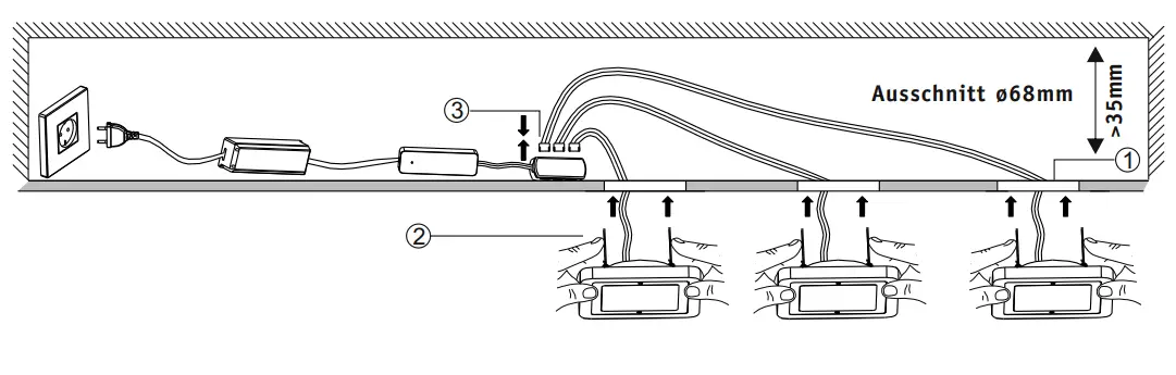
fitting
on wall or ceiling

electrical connection
230 voltage/50 Hz connection

teach remote control
SeeQ-remote control manual

https://www.paul-neuhaus.de/cms-wAssets/img/Videos/Q/Q-Funktionsfilm_DE.mp4
https://www.paul-neuhaus.de/cms-wAssets/img/Videos/Q/Q-Funktionsfilm_DE.mp
831069
230V/50Hz
3×3,9W LED-Board nicht wechselbar/not changeable


Reset
Reset the lamp, factory new

This device fulfills the fundamental requirements of Directive 2014/53/EU (Radio Equipment Directive) of the European Parliament and of the Council of the European Union dated 16.04.2014 on items of radio equipment. The full declaration of conformity can be accessed at the Internet address given below.
Paul Neuhaus GmbH
Olakenweg 36 D-59457 Werl
Telefon: +49(0)2922-9721-0
Telefax: +49(0)2922-9721-9120
E-m a il: [email protected]
https://scm.paul-neuhaus.de/public/conformity/
01.2019


















