Model:PBG16

SMOKELESS ELECTRIC INDOOR GRILL

USER MANUAL
Use and care manual. Important safeguards. This product is for domestic use only.
NON-STICK GRILL

User Manual

IMPORTANT SAFEGUARDS
When using electrical appliances, basic safety precautions should always be followed, including the following:
- READ ALL INSTRUCTIONS.
- Do not touch hot surfaces. Use handles or knobs, oven mitts or potholders.
- To protect against electrical shock, do not immerse cord or plugs or temperature control probe in water or any other liquid.
- This appliance is not intended for use by persons (including children) with reduced physical, sensory or mental capabilities, or lack of experience and knowledge, unless they have been given supervision or instruction concerning the use of the appliance by a person responsible for their safety.
- Close supervision is necessary when any appliance is used by or near children.
- Turn the unit Off and unplug from the electrical outlet when not in use and before cleaning. Allow to cool before putting on or taking off parts, and before cleaning the appliance.
- Do not operate any appliance with a damaged cord or plug, or after the appliance malfunctions, or has been damaged in any manner.
- The use of accessory attachments not recommended by the appliance manufacturer may cause Injuries.
- Do not use outdoors.
- Do not let the cord hang over the edge of the table or counter, or touch hot surfaces.
- Do not place on or near a hot gas or electric burner, or in a heated oven.
- Extreme caution must be used when moving an appliance containing hot oil or other hot liquids.
- Always attach the temperature control probe to the appliance first, then plug in the wall outlet. To disconnect, turn off the temperature control probe on the appliance, then unplug cord from the wall outlet.
- Do not use appliance for other than intended use.
ADDITIONAL IMPORTANT SAFEGUARDS
CAUTION HOT SURFACES: This appliance generates heat and escaping steam during use. Proper precautions must be taken to prevent the risk of burns, fires or other injury to persons or damage to property.
CAUTION: This appliance is hot during operation and retains heat for some time after turning OFF. Always use oven mitts when handling hot materials and allow metal parts to cool before cleaning. Do not place anything on top of the appliance while it is operating or while it is hot.
SAVE THESE INSTRUCTIONS HOUSEHOLD USE ONLY
- All users of this appliance must read and understand this Instruction Manual before operating or cleaning this appliance.
- The cord to this appliance should be plugged into a 120V AC electrical outlet only.
- If this appliance begins to malfunction during use, turn the unit Off and immediately unplug the cord. Then remove the temperature control probe. Do not use or attempt to repair the malfunctioning appliance.
- Do not leave this appliance unattended during use.
- To prevent fire hazards; the grill plate must be placed in the proper position when plugged in.
- WARNING: To prevent personal injury or property damage, the drip pan must be in place during cooking.
Notes on the Plug
This appliance has a polarized plug (one blade is wider than the other). To reduce the risk of electric shock this plug will fit in a polarized outlet only one way. If the plug does not fit fully into the outlet, reverse the plug. If it still does not fit, contact a qualified electrician. Do not modify the plug in any way.
Notes on the Cord
A. A short power-supply cord (or detachable power-supply cord) is to be provided to reduce the risk resulting from becoming entangled in or tripping over a longer cord.
B. Longer detachable power-supply cords or extension cords are available and may be used if care is exercised in their use.
C. If a long detachable power-supply cord or extension cord is used:
- The marked electrical rating of the cord or extension cord should be at least as high as the electrical rating of the appliance;
- If the appliance is of the grounded type, the extension cord should be a grounding-type3-wire cord;
- The longer cord should be arranged so that it does not drape over the countertop or tabletop where it can be pulled on by children or tripped over unintentionally.
CAUTION: Always place NON-PLASTIC coasters or place mats between the appliance and the surface of the countertop or tabletop. Failure to do so may cause the surface to darken; permanent blemishes may occur, or stains can appear.
ELECTRIC POWER
If the electrical circuit is overloaded with other appliances, your appliance may not operate properly. It should be operated on a separate electrical circuit from other appliances.
TEMPERATURE CONTROL PROBE
- The temperature control probe is the nerve center and brain of the electric Grill. Treat it carefully. Dropping or banging it could change its calibration and make the temperature settings inaccurate.
- Rotate the dial to select the temperature as called for in the recipe.
- The indicator light on the temperature control probe will illuminate as soon as the dial is rotated. The light will go out once the selected temperature has been reached.
- Allow the Grill to cool before removing the temperature control probe.
- To clean the temperature control probe, simply wipe down with a soft, damp cloth. Make sure you dry it thoroughly before using again.
NOTE: The temperature control probe is not submersible.
CAUTION: Use the temperature control probe supplied with this Grill only. The use of any other temperature control probe may cause fire, electric shock, or injury.
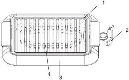
KNOW YOUR APPLIANCE

- Grill Plate
- Temperature Control Probe
- Base
- Drip Pan (not shown)
BEFORE USING FOR THE FIRST TIME
- Carefully unpack the Grill, remove all packaging materials.
- Place the non-stick Grill on a clean. flat and heat resistant working surface.
NOTE: Some countertop and table surfaces are not designed to withstand the prolonged heat generated by this Grill. We recommend placing a hot pad or trivet under the Grill beforehand to avoid possible damage to the surface. Be sure the sides and back of the Grill are at least 4 inches away from any walls, cabinets, or objects on the counter or table. - Before first use, see Hints for Care and Use of Non-stick Surface and Care &Cleaning Instructions sections of this Instruction Manual.
- Before cooking in the Grill for the first time, wash the non-stick Grill& Griddle in mild dish washing soap, wipe and allow to dry.
- Place the drip pan inside the grill base and place the grill plate over in a way that it locks in place between the gaps. Add water to the drip tray up to the max line.
- Turn the temperature control knob on probe to OFF position and attach securely in place.
- Coat the non-stick surface with vegetable shortening before heating. If necessary, remove excess oil with paper towel.
OPERATING INSTRUCTIONS
- Turn temperature control probe to the OFF position.
- Plug the temperature control probe securely into the Grill’s control probe socket.
- Plug cord into any standard 120V AC wall outlet.
IMPORTANT: ALWAYS PLUG CORD INTO GRILL FIRST, THEN INTO WALL OUTLET. - Preheat Grill for approximately 10 minutes before cooking. To preheat, turn the temperature control to the desired temperature. The indicator light on the temperature control probe will illuminate as soon as the dial is rotated. The light will go out once the selected temperature has been reached.
- Add food on according to the recipe. Adjust temperature control dial from 200º F to 425º F as necessary.
NOTE: During cooking, the light will go on and off indicating that the Grill is maintaining the proper temperature.
CAUTION: Grill surfaces are hot during use.
CAUTION: DO NOT USE COOKING SPRAYS. THEY CAN CAUSE A BUILD-UP ON THECOOKING PLATES AND MAY AFFECT THE NON-STICK PERFORMANCE OF THEPRODUCT. - When cooking has been completed, turn the temperature control to the OFF position. The indicator light on the temperature control probe will turn off.
- Unplug cord from wall outlet. Let the Grill cool completely.
- Remove temperature control probe from the Grill. Follow the Care &Cleaning Instructions described in this Instruction Manual.
USER MAINTENANCE INSTRUCTIONS
This appliance requires little maintenance. It contains no user serviceable parts. Do not try to repair it yourself. Any servicing requiring disassembly other than cleaning must be performed by a qualified appliance repair technician.
CARE & CLEANING INSTRUCTIONS
CAUTION: Do not immerse the cord, plug or temperature control probe in water or any other liquid.
CAUTION: To avoid accidental burns, allow your Grill to cool thoroughly before cleaning.
- When cooking is completed, turn unit Off and unplug cord from wall outlet. Allow the Grill to cool.
- Remove the temperature control probe from the Grill.
CAUTION: The probe may become hot after use. Allow to cool before handling. - If necessary, wipe the temperature control case and probe with a damp, soft cloth. Dry temperature control probe completely. Set aside.
CAUTION: The temperature control probe is not submersible. - Remove drip tray and empty its contents carefully. Wash the drip tray in soapy water; rinse and dry thoroughly.
CAUTION: the content in the drip tray may be hot. Allow the drip tray and the content to cool before removing it from the unit for cleaning. - To wash by hand, wash the grill plate with hot soapy water. Dry with a towel.
CAUTION: Probe and probe receptacle must be completely dry before use. - For stubborn food particles, loosen with a plastic cleaning pad. Avoid hard scouring on the non-stick finish as this may cause surface scratches. Do not use steel wool, scouring pads, or abrasive cleaners on any part of the Grill. Clean the grill after each use.
HINTS FOR CARE AND USE OF NON-STICK SURFACE
To avoid scratching the non-stick surface, do not stack objects on the grill cooking plate. CAUTION: DO NOT USE COOKING SPRAYS, THEY CAN CAUSE A BUILD-UP ON THE COOKING PLATES AND MAY AFFECT THE NON-STICK PERFORMANCE OF THE PRODUCT.
Use medium to low heat for best cooking results. Very high temperatures can cause discoloration and shorten the life span of any non-stick surface. If higher temperatures are necessary, preheat on medium heat for a few minutes. For best results and to preserve the non-stick coating, use nylon, plastic, wooden or rubber utensils, never cut food on the Grill.
Remove stubborn stains with a plastic scouring pad and mild dish washing liquid.
DO NOT USE STEEL TOOLS as they will damage the non-stick surface of the cooking plates.
Steps for Stain Removal and Proper Care of Your Non-stick Coating
- Identify stained areas on the cooking surface and sprinkle some baking soda on the stains.
- Moisten the baking soda to get a paste like texture by adding some water.
- Let the paste stand for a few minutes on the stains (not more than an hour).
- Rub with a soft damp cloth or lightly scrub with a plastic scouring pad, wipe clean and dry thoroughly.
NOTE: Do not rub vigorously when using a plastic scouring pad and NEVER use a metal scouring pad as this may damage the non-stick coating. - Repeat the cycle once again if necessary. The performance and non-stick property of the non-stick coating will not be affected due to stains.


















