HIRSCHMANN IT DAP 620-RW WiFi Range Extender

- Version:V1.0
Model:DAP620-RW
Contacting
Website:www.belden.com
Even if not specifically stated, the copyrighted trademark names in this manual shall not be deemed free of charge in the sense of the trademark and trade name protection act and thus freely available to anyone. © 2022 Belden Singapore Pte Ltd Both the manual and software are protected by copyright. All rights reserved. All or any part of this manual shall be prohibited from being reproduced, copied, translated or converted into any electronic media or machine-scannable form, except in the case that you make a copy of the software for your own use. The performance characteristics described herein shall be binding only upon the express consent of the parties at the time of signing the contract. This paper is produced by Belden within its capacity. Belden reserves the right to change the contents of this manual without prior notice. Belden does not guarantee the correctness or accuracy of the information in this manual. Belden shall not be liable for damages caused by the use of network components or related operating software. And the conditions of use specified in the license contract are referred to in this manual. You may access the latest version of this manual at the product website of Hirschmann IT: https://catalog.belden.com
Quick Start Guide
This Quick Start Guide assists you in quickly connecting to and configuring DAP. To learn more please refer to the DAP User Manual. DAP can be also managed by DAC platform, please refer to the DAC User Manual.
Note
- To keep DAP working in Cluster mode, please ensure there is no DHCP option 43 and 138 in the network. With DHCP option 43 or 138, the DAP comes up in DAC mode.
Typical topology

- All APs connect to a PoE switch and the PoE switch connect to a router which provides DHCP service for APs and Wi-Fi users.
- If AP receives option 43 or option 138 from the DHCP server specifying the management IP, the AP will boot up and entering to DAC mode. Else the AP will enter Cluster mode.
- Ps in one cluster should be in the same Layer 2 network. (Tip: You can firstly config one AP then power on others to join the cluster automatically.)
- If DAP couldn’t finish initialization, please check
- Ethernet cable status
- POE is enabled on the switch port that AP connected.
AP Initialization
Step 1: How to Access AP Web Page
By default, DAP will broadcast the WLAN ‘mywifi-xxxx’ (xxxx = the last two bytes of the AP MAC address). You can connect to ‘mywifi-xxxx’ and browse http://find.dragonflyap.com:8080 to access the AP web page.
Figure 2: AP Login Page
Recommend to access AP web Page by Chrome Browser for best user experience.
Step 2: About Login Accounts
Choose Administrator and default password is admin. Login AP web page, and you can access Figure 3. Select “Cluster” to cluster mode, or you can select “DAC” to DAC mode.
Figure 3: AP Wizard – Mode Selection
There are three pre-configured login accounts: Administrator, Viewer and GuestOperator. You may modify the account password, but the account name isn’t modifiable. Administrator can configure and check the AP status, Viewer can check the AP status ONLY, while GuestOperator can check the AP status and register accounts for portal authentication. By default, the password for all accounts is ‘admin’ and the wizard will guide you to modify the Administrator password upon AP login. More detailed configuration guide, please refer to DAP User Manual.
Step 3: Welcome Page
When initially logging into an AP from Figure 3, a configuration wizard will pop up. The following steps show how to use the setup wizard to modify the Administrator password and create a WLAN.

Step 4: Modify Administrator Password
The password must be composed of numbers and capital or lower-case letters of the English alphabet and with a length of 4-16 characters.
Note: The page below will be displayed to select the country or region.

Step 5: Create New WLAN
For example, create a WLAN, “DAP_MGMT”for network management purpose, select ‘Both (WPA&WPA2)’ security method and set the password to be ‘abc123!#’. By default, portal authentication is disabled when creating a WLAN. If you want to enable the portal page authentication, please refer to the User Manual for details.
Step 6: Confirmation Page
After you complete AP initialization with the Wizard, the WLAN “mywifi-xxxx” will be deleted. You can then connect to the “DAP_MGMT” WLAN to continue with other configuration tasks.
Installation Guide
The document describs the product package, hardware overview, installation steps and precautions. Please read the complete document before installation.
Summary of Installation Steps
- WLAN Planning. Usually, a comprehensive site survey is required before installation, such as installation location, brackets, cables, power source, etc.
- Unpack the AP box and check all contents
- Install the AP bracket on ceiling or wall
- Installing the AP
- Connecting required cables
- Power connection
- Verifying post-installation connectivity
- AP provisioning
Package Contents
| Item | Name | Qty | Unit |
| 1 | Access Point | 1 | Pcs |
| 2 | Manual | 1 | Pcs |
| 3 | Indoor mounting kit, Type W wall and ceiling mounting with screws. | 1 | Set |

Inform your sales representative of incorrect, missing, or damaged parts. If possible, retain the carton, including the original packing materials. Use these materials to repack and return the unit to the supplier if needed
Hardware Overview
Front View
The access point is equipped with hidden LED display that indicates different status with different color.
Back View

External Interfaces
| Interfaces | Specifications |
| 1 Gigabit Eth0 | 1x 10/100/1000BASE-T autosensing (RJ-45) port, Power over Ethernet (PoE). |
| 1 Gigabit Eth1 | 1x 10/100/1000BASE-T autosensing (RJ-45) port, Power over Ethernet (PoE). In case of only one WAN link, Eth0 would be more preferred. |
| Console | The console port is an RJ-45 female connector and can be used to connect to a terminal for direct local management. Note: Currently for use by Service & Support only. |
| USB | USB 2.0 host interface (Type C, output current 0.5A ) |
| DC Power Socket | DC 48V power jack, support powering AP through a designated AC-DC power adapter. |
| Reset | Factory reset. Press reset button for 5s, AP LEDs will |
| Security | The AP is equipped with a security lock slot for |
- Size and Weight
180mm (W)×180mm (D)×36mm(H) Weight 574g。 - Power
Max Power:<13W - Environmental
- Operating :
- Temperature: 0°C to +45°C (+32°F to +113°F)
- Humidity: 5% to 95% non-condensing
- Storage and transportation :
- Temperature: -40°C to +70°C(-40°F to +158°F)
Before You Begin
Before installing your access point, be sure that you have the following items:
- 8-conductor, CAT5 or better UTP cable of required length.
- One of the following power sources:
- ◼ IEEE 802.3af compliant Power over Ethernet (PoE) source (PoE switch or PoE injector).
- ◼ AC-DC adapter (sold separately),output voltage DC 48V, output current ≥0.35A
- A terminal or a notebook
- Tools: Cross screwdriver, impact drill (drill Φ6)
Identifying Specific Installation Locations
You can mount the AP on a ceiling rail or on a wall. You should first determine the location of the installation. The installation position is located at the center of the required coverage area and should be free from obstructions or obvious sources of interference.
- Minimize the number of obstructions (such as walls) between the AP and user terminals.
- Electronic equipment or devices (such as microwave ovens) which may produce radio frequency noise should be away from the installation position of the AP.
It is strictly prohibited to install around stagnant water, water seepage, leakage or condensation. Avoid cable condensation or water seepage along the cables connecting to the AP.
AP Installation
Follow the steps below for all new AP installations:
- Mark two drilling hole center marks on the wall at a proper location. Make sure they are of the same height to the ground and have a distance of 100mm between them, equivalent to that between the holes of the AP (see Figure .
- Drill two holes at the center marks about 6mm in diameter and 25mm in depth. This is approximately the same size as the wall anchors (see Figure 5).

- Insert two wall anchors and tap them into the holes (see Figure 6).
- Insert two screws into the wall anchors with 2mm length left remaining (see Figure 7).

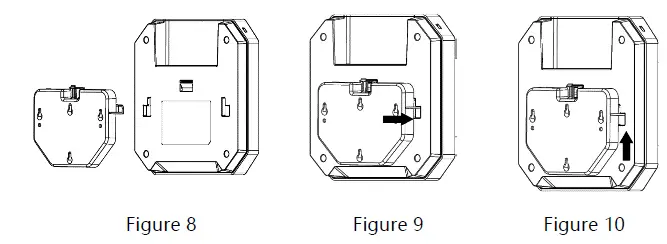
- Push the mounting bracket along the direction of the arrows until it locks in the slot (see Figure 8-10).

- Connect the cable to the port on the AP.
- Align the bottom holes of mounting bracket with the mounting screws (see Figure 11). After inserting push down on the AP until it is secure (see Figure 12). The installation is complete.

Ethernet Port Pinout
Connect the Ethernet port of the device using a network cable. Pin assignments for the device port connector are shown in Table 2.
| Connector | Pin | Signal Name | PoE |
![]()
| 1 | RJ45_DA+ | PoE- |
| 2 | RJ45_DA– | PoE- | |
| 3 | RJ45_DB+ | PoE+ | |
| 4 | RJ45_DC+ | PoE+ | |
| 5 | RJ45_DC– | PoE+ | |
| 6 | RJ45_DB– | PoE+ | |
| 7 | RJ45_DD+ | PoE- | |
| 8 | RJ45_DD– | PoE- |
Power
The access point supports direct DC power adapter (48V DC nominal, sold separately) and Power over Ethernet (PoE). The DC power connector port is located on the back of the device, as shown in Figure 3. The PoE allows the Ethernet port to draw power from an IEEE 802.3af compliant source.
LED Status
The running state of the equipment is confirmed by the LED indicator on the equipment (see Table 3).
| Red | Blue | Green | Status |
| ON | AP is powered, start up | ||
| Flash | Network abnormal (WAN link down) | ||
| Flash | Network normal, without SSID created. | ||
| ON | Network normal, single band working, either 2.4 GHz or 5GHz working. | ||
| ON | Network normal, 2.4GHz and 5GHz dual bands working. | ||
| Flash | Flash | OS is upgrading. | |
| Flash | Flash | Flash | Used for locating AP. |
Console Port Pinout
The serial console port allows you to connect the AP to a serial terminal or a laptop for direct local management. This port is an RJ-45 female connector with the pinouts described in Table 4. Currently for use by Service & Support only. For additional specifications on this product, please refer to the Data Sheet.
| Connector | Pin | Signal Name | Function |
![]() | 3 | TXD | Transmit |
| 4 | GND | Ground | |
| 5 | GND | Ground | |
| 6 | RXD | Receive | |
| Pins not listed must be not connected. | |||
FCC STATEMENT
This equipment has been tested and found to comply with the limits for a Class B digital device, pursuant to Part15 of the FCC Rules. These limits are designed to provide reasonable protection against harmful interference in a residential installation. This equipment generate, uses and can radiate radio frequency energy and, if not installed and used in accordance with the instructions, may cause harmful interference to radio communications.
However, there is no guarantee that interference will not occur in a particular installation. If this equipment does cause harmful interference to radio or television reception, which can be determined by turning the equipment off and on, the user is encouraged to try to correct the interference by one of the following measures:
- Reorient or relocate the receiving antenna.
- Increase the separation between the equipment and receiver.
- Connect the equipment into an outlet on a circuit different from that to which the receiver is connected.
- Consult the dealer or an experienced radio/TV technician for help.
This device complies with Part 15 of the FCC Rules. Operation is subject to the following two conditions:(1) This device may not cause harmful interference, and (2) this device must accept any interference received, including interference that may cause undesired operation.
FCC Caution: Any changes or modifications not expressly approved by the party responsible for compliance could void the user’s authority to operate this equipment.
RF exposure warning
This equipment complies with FCC radiation exposure limits set forth for an uncontrolled environment. This product may not be collocated or operated in conjunction with any other antenna or transmitter This equipment must be installed and operated in accordance with provided instructions and the antenna(s) used for this transmitter must be installed to provide a separation distance of at least 20 cm from all persons and must not be collocated or operating in conjunction with any other antenna or transmitter.
For EU
Belden Hirschmann Industries (Suzhou) Ltd.hereby declares that these models are compliant with the essential requirements and other provisions of Directive 2014/53/EU. For the complete CE DoC, please access the website below to get more information: https://www.doc.hirschmann.com Waste Electrical and Electronic Equipment (WEEE) Statement
ALE products are subject to separate collection and treatment in the EU Member States, Norway, and Switzerland when they are at end of life, and therefore are marked with the symbol shown. The treatment applied to these products in these countries shall be compliant with the applicable national laws which are under the implementing of Directive 2012/19/EU on Waste of Electrical and Electronic Equipment (WEEE).
European Union RoHS
ALE products are compliant with the EU Restriction of Hazardous Substances Directive 2011/65/EU (RoHS). EU RoHS restricts the use of specific hazardous materials in the manufacture of electrical and electronic equipment. The restricted materials under the Directive are Lead (including Solder used in printed circuit assemblies), Cadmium, Mercury, equivalent Chromium, and Bromine.
CE RF health information
RF Radiation Exposure Statement: This equipment complies with CE RF radiation exposure limits. This equipment should be installed and operated with a minimum distance of 20 cm between the equipment and a human’s body for 2.4 GHz and 5 GHz operations. This transmitter must not be co-located or operating in conjunction with any other antenna or transmitter.


























