RE1338-CCT-09LFR-G 9 Inch Multi Usage CCT Bar w/ IR Remote
User Manual
RE1338-CCT-09LFR-G 9 Inch Multi Usage CCT Bar w/ IR Remote
WARNING AND CAUTIONS
CAUTION
DO NOT puncture, damage, or dismantle the light or attempt to replace the battery.
Keep the LED light away from fire, erosive materials, corrosive and/or explosive gas, and chemical, medical, and electronic devices, including magnetized data devices and hot steaming areas as damage can occur.
Avoid dropping the LED light as damage to the PC cover or other electronic components can occur.
The battery works between 32°F (0°C) to 113°F (45°C). If the battery is hotter or colder, the light may malfunction.
Charge the LED light, which contains a lithium-ion battery, to its full capacity before operation or prolonged storage.
Do not hang over beds or on wallpaper.
WARNING
This product contains lithium batteries. Batteries may leak harmful liquids or ignitable materials or explode, causing injury and product damage.
CHARGING
Before first use, charge bar with USB-C cord (included) and a USB wall charger (not included) until battery indicator light changes from red to green.
BATTERY DURATION*
CONTINUOUS ON
~2.7 Hours
RECHARGE TIME
~6 Hours
Light can be plugged in for continuous use.
EASY INSTALLATION COMMAND® STRIPS FROM 3M
CCT Bar with Command® Small Picture Hanging Strips
Clean the wall surface with rubbing alcohol. Separate strips. Press two strips together until they click. Repeat with 2nd set of strips.
Remove one side of liners. Place each pair of strips as shown. Press firmly for 30 sec.
Remove remaining liners and press onto wall surface. Press each side firmly for 30 sec.
Mounting Base with Command® Small Refill Strips
Clean the wall surface with rubbing alcohol. Remove red liner. Press strip onto back of the mounting base.
Remove black liner.
Press mounting base to wall surface with tab towards you. Press firmly for 30 sec.
Command is trademark of 3M
IMPORTANT: Failure to follow instructions carefully may cause damage.
CAUTION: Do not hang over beds or on wallpaper. Mount again with Command® Small Refill Strips and Small Picture Hanging Strips.
Need to throw away old fixtures? Locate a local recycling center at call2recycle.org.
INDOOR USE ONLY
For more product and warranty information, go to: www.goodearthlighting.com
STRIP REMOVAL
Never pull the strip away from the surface! Always pull along the surface.
Stretch each strip slowly against the surface at least 6” to release.
SLOWLY
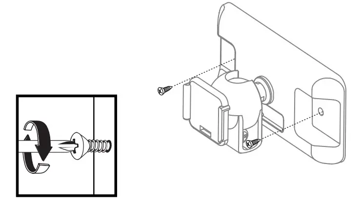
SCREW MOUNTING
Drive screws into the 2 pre-drilled holes in the mounting base.
MOUNTING BASE
Hold the mounting base while loosening or tightening the knob to rotate or lock bar in place
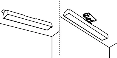
4 Ways to Mount
| Surface Mount | Wall Mount | Table Top | Portable |
![]() | ![]() | ![]() | ![]() |
Do not wall mount vertically with Command® Strips. Secure mounting base with screws only.
REMOTE CONTROL
Remove clear plastic tab before first use.
Remote works up to 20 feet.
FUNCTION
| ON/OFF Button Turns lights on/off | |
| Dimming Controls Adjusts the brightness | |
| Color Temperature Adjusts color temperature | |
| Timer Setting Sets how long light will be on before it automatically turns off |
BATTERY REPLACEMENT FOR REMOTE
The battery used in the remote control is a CR2025 button cell. When the battery needs to be replaced, open the battery tray by pushing in on the tray tab and pulling the tray out. The tray is marked with a “+.” Install the battery to match (with the “+” up).
Swallowing the batteries may lead to serious injury or death. If swallowed, go straight to a medical emergency room. Batteries may leak harmful liquids or ignitable materials or explode, causing injury and product damage. Do not mix old and new batteries, or different types of batteries. Replace all batteries at the same time. Remove batteries from product if unused for e xtended amount of time. Replaced batteries should be disposed of properly. Keep batteries out of children’s reach.
6-YEAR LIMITED WARRANTY
Good Earth Lighting®
– The manufacturer warrants this lighting fixture to be free from defects in materials and workmanship for a period of (6) years from the date of original purchase by the consumer. The fixture is not warrantied for use in a commercial or retail application. The warranty is limited to use in a residential environment. We will repair or replace (at our option) the unit in the original color and style if available, or in a similar color and style if the original item has been discontinued, without charge. Defective units must be properly packed and returned to the manufacturer with a letter of explanation and your original purchase receipt showing date of purchase. Call 1-800-291-8838 to obtain a return authorization number and an address where to ship your defective product.
Note: C.O.D. shipments will NOT be accepted. The liability of the manufacturer is in any case limited to replacement of the defective light fixture product. The manufacturer will not be liable for any other loss, damage, labor costs, or injury which is caused by the product. This limitation upon the liability of the manufacturer includes any loss, damage, labor costs, or injury which is (I) to person or property or otherwise; (II) incidental or consequential in nature; (III) based upon theories of warranty, contract, negligence, strict liability, tort, or otherwise; or (IV) directly, or indirectly related to the sale, use, or repair of the product. This warranty gives you specific rights, and you may also have other rights which vary from state to state.
FCC STATEMENT: This device complies with part 15 of the FCC Rules. Operation is subject to the following two conditions: (1) This device may not cause harmful interference, and (2) this device must accept any interference received, including interference that may cause undesired operation. Caution:
Changes or modifications of this product is not expressly approved by the party responsible for compliance could void the user’s authority to operate the equipment.
NOTE: This equipment has been tested and found to comply with the limits for a Class B digital device, pursuant to Part 15 of the FCC
Rules. These limits are designed to provide reasonable protection against harmful interference in a residential installation. This equipment generates, uses and can radiate radio frequency energy and, if not installed and used in accordance with the instructions, may cause harmful interference to radio
communications. However, there is no guarantee that interference will not occur in a particular installation. If this equipment does cause harmful interference to radio or television reception, which can be determined by turning the equipment off and on, the user is encouraged to try to correct the
interference by one or more of the following measures:
- Reorient or relocate the receiving antenna.
- Increase the separation between the equipment and receiver.
- Connect the equipment into an outlet on a circuit different from that to which the receiver is connected.
- Consult the dealer or an experienced radio/TV technician for help.
FCC responsible party name: Good Earth Lighting Inc. Address: 1400 E Business Center Drive, STE 108 Mount Prospect, IL 60056 USA. Telephone number: 1-800-291-8838
© 2022 Good Earth Lighting, Inc.
1400 East Business Center Drive, Ste. 108
Mount Prospect, IL 60056 REV08.22






















