Cambridge Audio SX-80 Floorstanding Speakers

SX-80 Floorstanding Speakers
Last updated: décembre 7, 2022 03:53. Revision #8174

Introduction
Last updated: janvier 19, 2023 01:58. Revision #8430
Thank you for purchasing these Cambridge Audio SX-80 floorstanding loudspeakers. We hope that you enjoy many years of listening pleasure from them. Your loudspeakers can only be as good as the system it is connected to. Please do not compromise on your amplifier or cabling. Naturally we particularly recommend amplification from the Cambridge Audio range, which has been designed to the same exacting standards as our loudspeakers. Your dealer can also supply excellent quality speaker cable to ensure your system realises its full potential.
Thank you for taking the time to read this manual; we do recommend you keep it for future reference.
© Copyright Cambridge Audio Ltd .
For upcoming news on future products, software updates and exclusive offers, make sure you register your product at http://www.cambridgeaudio.com/register
What’s included with the SX-80’s?
Last updated: janvier 19, 2023 01:58. Revision #8431

- 2 x SX-80 Floorstanding Speakers.
- Installation guide.
- 4 x plastic foot.
- 4 x steel spike.
- 4 x steel washer for spike.
- Foam bung.
- 4 x nuts for spike.
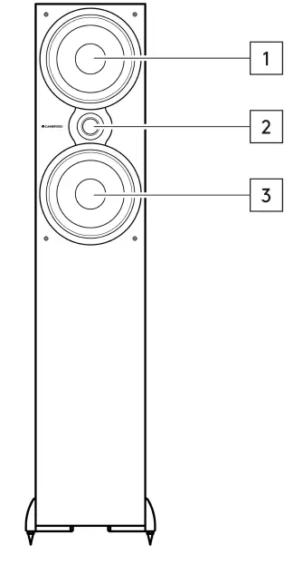
Front panel
Last updated: janvier 19, 2023 01:58. Revision #8432

- 6.5″ (165mm) woofer.
- 1″ (25mm) silk dome tweeter.
- 6.5″ (165mm) woofer.
Rear panel
Last updated: janvier 19, 2023 01:58. Revision #8433

- Bass port.
- +/- speaker connection terminals.
Installation instructions
Last updated: janvier 19, 2023 01:58. Revision #8434
- Firstly, using high quality speaker cable connect the SX-80 floorstanding speakers to the speaker terminals on your amplifier. Ensure that you pay close attention to match the polarity of each connection.

- If placed close to a wall you may benefit from using the included foam bass tuning bungs. These can be placed into the rear port of each speaker to reduce the low frequency output.

- Finally, when positioning, we would suggest that the distance between speakers and the listening position is equal. However, we would encourage experimentation until you find a solution that works for your space.

Technical specifications
Last updated: janvier 19, 2023 01:58. Revision #8435
- Sensitivity (SPL)
87dB - Frequency Response
40Hz – 20kHz - Impedance
8 Ohms - Drivers
2 x 6.5” (165mm) woofers.
1 x 1” (25mm) silk dome tweeter. - Recommended Amplifier Power
10 – 100 Watts - Porting
1 Rear - Speaker Dimensions (H x W x D)
950 x 200 x 276mm. - Weight
13.1kg (28.8lbs)
Frequently asked questions
Last updated: janvier 19, 2023 01:58. Revision #8436
What is meant by speaker sensitivity?
Speaker sensitivity is the level produced by the speaker at one meter, when supplied with one watt of power from an amplifier. It’s a way of describing how well the speaker produces acoustic energy, based on a given input. The level is measured in dB SPL – this shorthand for ‘sound pressure level’ – sound is basically fluctuations in air pressure, so any time you see SPL, this means ‘sound in the real world’. So, let’s say we have a speaker with an 87dB sensitivity, and a speaker with a 90dB sensitivity – the 90dB speaker is going to be considerably louder, as every 3dB added represents a doubling of power.
What is a crossover?
Most speakers will have multiple drivers. A driver is sometimes called a transducer, which is a device that turns one type of energy into another – in this case, electrical energy to sound energy. In a loudspeaker, it is often the case that we might want multiple drivers – one to handle low-end, one to handle the mid-range, and one to handle the treble. This latter driver is often called a tweeter. To get the benefit of this arrangement, we need to split the signal into different frequency components. The circuit that does this is called a crossover.
What is impedance?
You will often see impedance mentioned when researching speakers, and amplifiers. Impedance is basically resistance measured at a given frequency, given as a value in Ohms (Ω), and is incredibly important to consider when setting up an audio system as it determines the ‘load’ placed on an amplifier by the speakers.
For example, let’s say we have an amplifier that is rated to deliver 100W into an 8Ω speaker load. If we were to then use speakers with an impedance of 4Ω with the same amplifier, the amp would then need to supply 200W as a halving of the impedance results in a doubling of the required power due to the reduction of the load on the amplifier.
In a situation such as this, if the amp can’t supply the required power for a lower impedance, then it can result in overheating, and damage to the amplifier and speakers.
For this reason, it is important to pay attention to amplifier specifications, and suggested impedance ratings.
Troubleshooting
Last updated: janvier 19, 2023 01:58. Revision #8437
No sound through one or both channels.
- Check that the amplifier is turned on.
- Ensure that the correct input source is selected on the amplifier.
- Confirm that all connections between the amplifier and loudspeakers are secure.
- Check that the connections between the source equipment and amplifier are secure.
- Check the polarity of the loudspeaker connections.
- Check that the volume control is set correctly on the amplifier.
There is distorted or inconsistent sound.
- Confirm that all connections between the amplifier and loudspeakers are secure.
- Check the polarity of the loudspeaker connections.
- Check that the connections between the source equipment and amplifier are secure.






















