IKEA 404.964.14 KÖLDGRADER Fridge Freezer

Product Information
This is a refrigerator with a gross capacity of XXX liters. It has a freezer with a net capacity of XX liters and a freezing capacity of X kg/24h. It is designed to be used in households and is equipped with an isobutane refrigerant (R600a), which is environmentally friendly. It has an internal lighting system and a control panel for adjusting the temperature. The appliance is manufactured in Hungary and is certified for safety and quality standards.
Safety Instructions
Before installing and using the appliance, read the instructions carefully to avoid any injuries or damage. The appliance must be installed by a qualified person. Do not use multi-plug adapters or extension cords, as it may cause electric shock or fire. Avoid damaging the refrigerant circuit that contains flammable gas. Do not touch any electrical part with wet hands, as it may result in an electric shock.
Product Usage
Installation
- Follow the installation instructions carefully provided in the manual to avoid any risk of instability of the appliance. Ensure that the supply cord is not damaged while positioning the appliance. Fix the appliance in accordance with installation instruction document to avoid any risk of instability of the appliance.
Control Panel
- The control panel is located on the front of the appliance. It allows you to adjust the temperature of both the refrigerator and freezer compartments. Follow the instructions provided in the manual to adjust the temperature according to your needs.
First Use
- Before using the appliance, follow the inspection checklist provided in the manual. Check if the tube is inside the evaporative tray. If it is not, put it inside the evaporative tray. Make sure that gasket seals all around the door when it is closed.
Daily Use:
- Use the appliance according to your needs. Do not overload it beyond its capacity. Avoid keeping the door open for a long time, as it may affect the cooling efficiency. Clean the interior and exterior of the appliance regularly with a damp cloth to maintain its hygiene.
Hints and Tips
- Place the appliance in a well-ventilated area with an ambient temperature between 10°C to 43°C for optimal performance. Do not place the appliance near any heat source or in direct sunlight. Always keep the instructions in a safe and accessible location for future reference.
Troubleshooting
- If you face any issues while using the appliance, refer to the troubleshooting guide provided in the manual. If the issue persists, contact the IKEA appointed After Sales Service Provider whose contact details are provided in the last page of the manual.
Care and Cleaning
- Clean the interior and exterior of the appliance with a damp cloth and mild detergent. Do not use abrasive cleaners or sharp objects that may damage the surface.
Please refer to the last page of this manual for the full list of IKEA appointed After Sales Service Provider and relative national phone numbers.
Safety information
Before the installation and use of the appliance, carefully read the supplied instructions. The manufacturer is not responsible for any injuries or damage that are the result of incorrect installation or usage. Always keep the instructions in a safe and accessible location for future reference.
Children and vulnerable people safety
- This appliance can be used by children aged from 8 years and above and persons with reduced physical, sensory or mental capabilities or lack of experience and knowledge if they have been given supervision or instruction concerning the use of the appliance in a safe way and understand the hazards involved.
- Children aged from 3 to 8 years are allowed to load and unload the appliance provided that they have been properly instructed.
- This appliance may be used by persons with very extensive and complex disabilities provided that they have been properly instructed.
- Children of less than 3 years of age should be kept away from the appliance unless continuously supervised.
- Children should be supervised to ensure that they do not play with the appliance.
- Children shall not carry out cleaning and user maintenance of the appliance without supervision.
- Keep all packaging away from children and dispose of it appropriately.
General Safety
- This appliance is for storing food and baverages only.
- This appliance is designed for single household domestic use in an indoor environment.
- This appliance may be used in, offices, hotel guest rooms, bed & breakfast guest rooms, farm guest houses and other similar accommodation where such use does not exceed (average) domestic usage levels.
- To avoid contamination of food respect the following instructions:
- do not open the door for long periods;
- clean regularly surfaces that can come in contact with food and accessible drainage systems;
- store raw meat and fish in suitable containers in the refrigerator, so that it is not in contact with or drip onto other food.
- WARNING: Keep ventilation openings, in the appliance enclosure or in the built-in structure, clear of obstruction.
- WARNING: Do not use mechanical devices or other means to accelerate the defrosting process, other than those recommended by the manufacturer.
- WARNING: Do not damage the refrigerant circuit.
- WARNING: Do not use electrical appliances inside the food storage compartments of the appliance, unless they are of the type recommended by the manufacturer.
- Do not use water spray and steam to clean the appliance.
- Clean the appliance with a moist soft cloth. Only use neutral detergents. Do not use abrasive products, abrasive cleaning pads, solvents or metal objects.
- When the appliance is empty for long period, switch it off, defrost, clean, dry and leave the door open to prevent mould from developing within the appliance.
- Do not store explosive substances such as aerosol cans with a flammable propellant in this appliance.
- If the supply cord is damaged, it must be replaced by the manufacturer, its Authorised Service Centre or similarly qualified persons in order to avoid a hazard.
Installation
Warning! Only a qualified person must install this appliance.
- Remove all the packaging.
- Do not install or use a damaged appliance.
- Do not use the appliance before installing it in the built-in structure due to safety manner.
- Follow the installation instructions supplied with the appliance.
- Always take care when moving the appliance as it is heavy. Always use safety gloves and enclosed footwear.
- Make sure the air can circulate around the appliance.
- At first installation or after reversing the door wait at least 4 hours before connecting the appliance to the power supply. This is to allow the oil to flow back in the compressor.
- Before carrying out any operations on the appliance (e.g. reversing the door), remove the plug from the power socket.
- Do not install the appliance close to radiators or cookers, ovens or hobs.
- Do not expose the appliance to the rain.
- Do not install the appliance where there is direct sunlight.
- Do not install this appliance in areas that are too humid or too cold.
- When you move the appliance, lift it by the front edge to avoid scratching the floor.
- The appliance contains a bag of desiccant. This is not a toy. This is not food. Please dispose of it immediately.
Electrical connection
- Warning! Risk of fire and electric shock.
- Warning! When positioning the appliance, ensure the supply cord is not trapped or damaged.
- Warning! Do not use multi-plug adapters and extension cables.
- The appliance must be earthed.
- Make sure that the parameters on the rating plate are compatible with the electrical ratings of the mains power supply.
- Always use a correctly installed shockproof socket.
- Make sure not to cause damage to the electrical components (e.g. mains plug, mains cable, compressor). Contact the Authorised Service Centre or an electrician to change the electrical components.
- The mains cable must stay below the level of the mains plug.
- Connect the mains plug to the mains socket only at the end of the installation. Make sure that there is access to the mains plug after the installation.
- Do not pull the mains cable to disconnect the appliance. Always pull the mains plug.
Use
- Warning! Risk of injury, burns, electric shock or fire.
- The appliance contains flammable gas, isobutane (R600a), a natural gas with a high level of environmental compatibility. Be careful not to cause damage to the refrigerant circuit containing isobutane.
- Do not change the specification of this appliance.
- Any use of the built-in product as free-standing is strictly prohibited.
- Do not put electrical appliances (e.g. ice cream makers) in the appliance unless they are stated applicable by the manufacturer.
- If damage occurs to the refrigerant circuit, make sure that there are no flames and sources of ignition in the room. Ventilate the room.
- Do not let hot items to touch the plastic parts of the appliance.
- Do not put soft drinks in the freezer compartment. This will create pressure on the drink container.
- Do not store flammable gas and liquid in the appliance.
- Do not put flammable products or items that are wet with flammable products in, near or on the appliance.
- Do not touch the compressor or the condenser. They are hot.
- Do not remove or touch items from the freezer compartment if your hands are wet or damp.
- Do not freeze again food that has been thawed.
- Follow the storage instructions on the packaging of frozen food.
- Wrap the food in any food contact material before putting it in the freezer compartment.
Internal lighting
Warning! Risk of electric shock.
- This product contains a light source of energy efficiency class F.
- Concerning the lamp(s) inside this product and spare part lamps sold separately: These lamps are intended to withstand extreme physical conditions in household appliances, such as temperature, vibration, humidity, or are intended to signal information about the operational status of the appliance. They are not intended to be used in other applications and are not suitable for household room illumination.
Care and cleaning
Warning! Risk of injury or damage to the appliance.
- Before maintenance, deactivate the appliance and disconnect the mains plug from the mains socket.
- This appliance contains hydrocarbons in the cooling unit. Only a qualified person must do the maintenance and the recharging of the unit.
- Regularly examine the drain of the appliance and if necessary, clean it. If the drain is blocked, defrosted water collects in the bottom of the appliance.
Service
- To repair the appliance contact the Authorised Service Centre. Use original spare parts only.
- Please note that self-repair or non-professional repair can have safety consequences and might void the guarantee.
- The following spare parts will be available for 7 years after the model has been discontinued: thermostats, temperature sensors, printed circuit boards, light sources, door handles, door hinges, trays and baskets. Please note that some of these spare parts are only available to professional repairers, and that not all spare parts are relevant for all models.
- Door gaskets will be available for 10 years after the model has been discontinued.
Disposal
Warning! Risk of injury or suffocation.
- Disconnect the appliance from the mains supply.
- Cut off the mains cable and discard it.
- Remove the door to prevent children and pets to be closed inside of the appliance.
- The refrigerant circuit and the insulation materials of this appliance are ozone-friendly.
- The insulation foam contains flammable gas. Contact your municipal authority for information on how to discard the appliance correctly.
- Do not cause damage to the part of the cooling unit that is near the heat exchanger.
Installation
- Warning! Refer to Safety chapters.
- Warning! Refer to installation instruction document to install your appliance.
- Warning! Fix the appliance in accordance with installation instruction document to avoid a risk of instability of the appliance.
Inspection checklist
| To check | If the answer is YES | If the answer is NO |
| Make sure gasket seals all around the door when the door is closed. |
| Refer to the assembly instruction – door alignment. |
| Check if there is no collision between parts/furniture while opening and closing the door. | No
| Refer to the assembly instruction – door alignment. |
| Install the appliance in the built-in structure. | Follow the assembly instruction for the proper installation. | |
| Make sure that at first installa‐ tion or after reversing the door the appliance stands in vertical position for at least 4 hours before it is connected to the power supply. | No action
| Wait 4 hours before connecting the appliance to the power supply. |
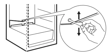
Evaporative tray
Before using the appliance make sure that melting water outlet is connected to the evaporative tray above the compressor.
Dimensions
| Overall dimensions ¹ | ||
| H1 | mm | 1884 |
| W1* | mm | 548 |
| D1 | mm | 549 |
- the height, width and depth of the appliance without the handle
- including the width of the bottom hinges (8 mm)
| Space required in use ² | ||
| H2 (A+B) | mm | 1936 |
| W2* | mm | 548 |
| Space required in use ² | ||
| D2 | mm | 551 |
| A | mm | 1894 |
| B | mm | 36 |
- the height, width and depth of the appliance including the handle, plus the space necessary for free circulation of the cooling air
- including the width of the bottom hinges (8 mm)
| Overall space required in use ³ | ||
| H3 (A+B) | mm | 1936 |
| W3* | mm | 548 |
| D3 | mm | 1071 |
- the height, width and depth of the appliance including the handle, plus the space necessary for free circulation of the cooling air, plus the space necessary to allow door opening to the minimum angle permitting removal of all internal equipment
- including the width of the bottom hinges (8 mm)
Location
- To ensure appliance’s best functionality, you should not install the appliance in the nearby of the heat source (oven, stoves, radiators, cookers or hobs) or in a place with direct sunlight. Make sure that air can circulate freely around the back of the cabinet.
- This appliance should be installed in a dry, well ventilated indoor position.
- This appliance is intended to be used at ambient temperature ranging from 10°C to 43°C.
- The correct operation of the appliance can only be guaranteed within the specified temperature range.
- If you have any doubts regarding where to install the appliance, please turn to the vendor, to our customer service or to the nearest Authorised Service Centre.
- It must be possible to disconnect the appliance from the mains power supply. The plug must therefore be easily accessible after installation.
Electrical connection
- Before plugging in, ensure that the voltage and frequency shown on the rating plate correspond to your domestic power supply.
- The appliance must be earthed. The power supply cable plug is provided with a contact for this purpose. If the domestic power supply socket is not earthed, connect the appliance to a separate earth in compliance with current regulations, consulting a qualified electrician.
- The manufacturer declines all responsibility if the above safety precautions are not observed.
- This appliance complies with the E.E.C. Directives.
Ventilation requirements
- The airflow behind the appliance must be sufficient.

- Caution! Refer to the installation instructions for the installation.
Door reversibility
- Please refer to the separate document with instructions on installation and door reversal.
- Caution! At every stage of reversing the door protect the floor from scratching with a durable material.
Product Description
- Fan-cooling with LED lamp
- Control panel
- Door balconies
- Bottle balcony
- Vegetable drawer
- Freezer drawers
- Freezing drawer
- Sliding shelf with containers
- Rating plate
- Extra Zone
- Extendable half-shelf 12 Glass shelves
- Least cold zone
- Intermediate temperature zone
- Coldest zone
Control panel
- Display
- Freezer temperature warmer button
- Freezer temperature colder button
- OK button
- Function button
- Fridge temperature warmer button
- Fridge temperature colder button
- ON/OFF button
It is possible to change predefined sound of buttons by pressing together Function and temperature colder button for a few seconds. Change is reversible.
Display
- A. Fridge compartment indicator
- B. Fridge temperature indicator and timer indicator
- C. Fridge Off indicator
- D. Shopping Function indicator
- E. Vacation Function indicator
- F. Fast Freezing Function indicator
- G. Freezer temperature indicator
- H. Freezer compartment indicator
- I. Alarm indicator
- J. Child Lock Function indicator
- K. Bottle Chill Function indicator
- L. Fan-cooling Function indicator
Switching on
- Connect the mains plug to the power socket.
- Press the ON/OFF button if the display is off. The temperature indicators show the set default temperature.
- To select a different set temperature refer to Temperature regulation.
If “DEMO” appears on the display, the appliance is in demonstration mode. Refer to “Troubleshooting”.
Switching off
- Press ON/OFF button for 3 seconds. The display switches off.
- To disconnect the appliance from the power, disconnect the mains plug from the power socket.
Switching on the fridge
- Press one of the fridge temperature buttons.
Or:
- Press the 5 Function button until the fridge Off icon flashes.
- Press the 4 OK button to confirm.
- The fridge Off indicator goes off.
- To select a different set temperature refer to Temperature regulation.
Switching off the fridge
- It is possible to switch off only the fridge compartment maintaining the freezer on.
- Press the 5 Function button until the fridge compartment icon appears.
- The fridge Off indicator and the fridge compartment indicator flash.
- The fridge temperature indicator shows dashes.
- Press the 4 OK button to confirm. The fridge Off indicator is shown and the fridge compartment is switched off.
Temperature regulation
- Set the temperature of the appliance by pressing the temperature regulators.
The recommended set temperature is:
- +4°C for the fridge
- -18°C for the freezer
- The temperature range may vary between -15°C and -24°C for freezer and between 2°C and 8°C for fridge.
- The temperature indicators show the set temperature.
- The set temperature will be reached within 24 hours.
- After a power failure the set temperature remains stored.
Shopping Function![]()
- If you need to insert in the fridge compartment a large amount of warm food, for example after doing the grocery shopping, we suggest activating the
- Shopping Function to chill the products more rapidly and to avoid warming the other food which is already in the refrigerator.
- Press 5 Function button until the Shopping icon appears.
- The Shopping indicator flashes.
- Press 4 OK button to confirm.
- The Shopping indicator is shown. The fan activates automatically for the function duration.
- The Shopping Function stops automatically after approximately 6 hours.
- You can deactivate the Shopping Function before its automatic end by repeating the procedure or by selecting a different fridge set temperature.
Vacation Function![]()
- This function allows you to keep the fridge compartment empty during a long holiday period reducing the formation of bad odours while the freezer compartment can work normally.
- The fridge compartment must be empty with Vacation Function on.
- Press 5 Function button until the Vacation icon appears. The Vacation indicator flashes. The fridge temperature indicator shows the set temperature.
- Press 4 OK button to confirm. The Vacation indicator is shown. The function switches off after selecting a different fridge temperature
Fast Freezing Function![]()
- The Fast Freezing Function is used to perform pre-freezing and fast freezing in sequence of Freezer compartment. This function accelerates the freezing of fresh food and, at the same time, protects foodstuffs already stored from undesirable warming.
- To freeze fresh food activate the Fast Freezing Function at least 24 hours before placing the food to complete pre-freezing.
- To activate this function press the 5
- Function button until the Fast Freezing icon appears.
- The Fast Freezing indicator flashes.
- Press 4 OK button to confirm.
- The Fast Freezing indicator is shown.
- The Fast Freezing Function stops automatically after 52 hours.
- You can deactivate the Fast Freezing
- Function before its automatic end by repeating the procedure until the Fast Freezing indicator turns off or by selecting a different set temperature.
Child Lock Function![]()
- Activate the Child Lock Function to lock the buttons from the unintentional operation.
- Press 5 Function button until the Child Lock icon appears.
- The Child Lock indicator flashes.
- Press 4 OK button to confirm.
- The Child Lock indicator is shown.
- To deactivate the Child Lock Function, repeat the procedure until the Child Lock indicator disappears.
Bottle Chill Function![]()
The Bottle Chill Function can be used to set an acoustic alarm at the preferred time, useful for example when a recipe requires to cool down food products for a certain period of time. It is also useful when a reminder is needed in order not to forget the bottles or cans placed in the freezer for fast cooling.
- Press 5 Function button until the Bottle Chill icon appears.
- The Bottle Chill indicator flashes.
- The Timer shows the set value (30 minutes) for a few seconds.
- Press the 2 , 3 temperature buttons to change the Timer set value from 1 to 90 minutes.
- Press 4 OK button to confirm.
- The Bottle Chill indicator is shown.
- The Timer starts to flash (min).
- At the end of the countdown the “0 min” indicator flashes and an audible alarm sounds. At that time, remove the products that were put into the appliance to cool down, and press the 4 OK button to switch off the sound and terminate the function.
- To switch off the function at any time during the countdown, repeat the procedure until the Bottle Chill indicator disappears.
- It is possible to change the time at any time during the countdown and at the end by pressing the 2 and 3 temperature buttons.
Fan-cooling Function
- The refrigerator compartment is equipped with a fan that allows rapid cooling of foods and keeps more uniform temperature in the compartment.
- This fan activates automatically when needed or manually.
To switch on the function:
- Press 5 Function button until the Fancooling indicator appears.
- The Fan-cooling indicator flashes.
- Press 4 OK button to confirm.
- The Fan-cooling indicator is shown.
- To switch off this function repeat the procedure until the Fan-cooling indicator disappears.
- If the function is activated automatically the Fan-cooling indicator is not shown (refer to “Daily use”).
- The activation of the Fan-cooling Function increases energy consumption.
- The fan stops when the door is open and restarts immediately after the door closes.
High-temperature alarm
- When there is a temperature increase in the freezer compartment (for example due to an earlier power failure), the alarm and freezer temperature indicators flash and the sound is on.
To deactivate the alarm:
- Press any button.
- The sound switches off.
- The freezer temperature indicator shows the highest temperature reached for a few seconds, then the display shows the set temperature again.
- The alarm indicator continues to flash until normal conditions are restored.
- If you do not press any button, the sound switches off automatically after around one hour to avoid disturbing you.
Door open alarm
- If the fridge door is left open for approximately 5 minutes, the sound is on, and the alarm indicator flashes.
- The alarm stops after closing the door.
- During the alarm, the sound can be muted by pressing any button.
- If you do not press any button, the sound switches off automatically after around one hour to avoid disturbing you.
First use
Cleaning the interior
- Before using the appliance for the first time, the interior and all internal accessories should be washed with lukewarm water and some neutral soap to remove the typical smell of a brand-new product, then dried thoroughly.
- Caution! Do not use detergents, abrasive powders, chlorine or oilbased cleaners as they will damage the finish.
- Caution! The accessories and parts of the appliance are not suitable for washing in a dishwasher.
Daily Use
Accessories
- Egg tray

- Ice tray

- Freezer blocks

- Tube cleaner

- Caution! Do not throw the cleaner away as it will be needed for future use.
Positioning the door balconies
- To permit storage of food packages of various sizes, the door balconies can be placed at different heights.
- To make these adjustments proceed as follows: gradually pull upwards the balcony until it comes free, then reposition as desired.
Movable shelves
- The walls of the refrigerator are equipped with a series of runners so that the shelves can be positioned as desired.
- This appliance is also equipped with a shelf consisting of two parts. The front half of the shelf can be placed under the second half to make better use of space.
To fold the shelf
- Take out the front half gently.
- Slide it into the lower rail and under the second half.
Caution! Do not move the glass shelves above the vegetable drawer to ensure correct air circulation.
Humidity control
- The glass shelf incorporates a device with slits (adjustable by means of a sliding lever), which makes it possible to regulate the humidity in the vegetable drawer(s).
- Do not place any food products on the humidity control device.

- When the ventilation slots are closed: the natural moisture content of the food in the fruit and vegetable compartments is preserved for longer.
- When the ventilation slots are opened: more air circulation results in a lower air moisture content in the fruit and vegetable compartments.
Vegetable drawer
- The drawer is suitable for storing fruit and vegetables.
- To remove the drawer (e.g. for cleaning):
- Pull out the drawer and lift it up.

- Push the rails inside the cabinet to avoid damage to the appliance when closing the door.

To reassemble:
- Pull out the rails.

- Place the rear part of the drawer (1) on the rails.

- Keep the front of the drawer (2) lifted up while pushing the drawer in.
- Press the front part of the drawer downwards.
- Pull out the drawer again and check if it is placed correctly on both rear and front hooks.
Sliding shelf
Top of the vegetable drawer is equipped with sliding shelf that houses two removable bins, it can be repositioned according to individual preference for better accessibility. Containers are secured with individual lids to isolate unwanted odours.
Removing Extra Zone
To remove the Extra Zone from the fridge cabinet follow the steps below:
- Pull out the vegetable drawer from the refrigerator.

- Lift the Extra Zone compartment and pull out the glass cover with humidity control from underneath it.

- Hold the drawer together with the glass cover of the Extra Zone compartment and pull them towards yourself.

- Tilt the module downwards to remove it from the refrigerator.

Fan-cooling
This device activates automatically when needed.
- It is also possible to switch on the device manually when needed (refer to “Fan-cooling Function”).
- The fan operates only when the door is closed.
- If the function is activated automatically, you cannot switch it off. The fan will deactivate itself.
Freezing fresh food
- The freezer compartment is suitable for freezing fresh food and storing frozen and deep-frozen food for a long time.
- To freeze fresh food activate the Fast Freezing function at least 24 hours before placing the food to be frozen in the freezer compartment.
- Store the fresh food evenly distributed in the first compartment or drawer from the top.
- The maximum amount of food that can be frozen without adding other fresh food during 24 hours is specified on the rating plate (a label located inside the appliance).
- When the freezing process is complete, the appliance automatically returns to the previous temperature setting (see “Fast Freezing Function”).
- For more information refer to “Hints for freezing”.
Storage of frozen food
- When activating an appliance for the first time or after a period out of use, before putting the products in the compartment let the appliance run at least 3 hours with the
- Fast Freezing function switched on.
- The freezer drawers ensure that it is quick and easy to find the food package you want. If large quantities of food are to be stored, remove all drawers and place the food on shelves.
- Keep the food no closer than 15 mm from the door.
- Caution! In the event of accidental defrosting, for example due to a power failure, if the power has been off for longer than the value shown on rating plate under “rising time”, the defrosted food must be consumed quickly or cooked immediately then cooled and then re-frozen. Refer to “High temperature alarm”.
Thawing
- Deep-frozen or frozen food, prior to being consumed, can be thawed in the refrigerator or inside a plastic bag under cold water.
- This operation depends on the time available and on the type of food. Small pieces may even be cooked still frozen.
Ice-cube production
- This appliance is equipped with one or more trays for the production of ice-cubes.
Do not use metallic instruments to remove the trays from the freezer.
- Fill these trays with water.
- Put the ice trays in the freezer compartment.
Freezer blocks
- This appliance is equipped with freezer blocks which increase storage time in the event of a power cut or breakdown.
- To ensure the best performance of the freezer blocks, place them in the front top area of the appliance.
- Caution! Do not open or drink content of the freezer blocks.
Hints and tips
Hints for energy saving
- Freezer: The internal configuration of the appliance is the one that ensures the most efficient use of energy.
- Fridge: Most efficient use of energy is ensured in the configuration with the drawers in the bottom part of the appliance and shelves evenly distributed. Position of the door bins does not affect energy consumption.
- Do not remove the freezer blocks from the freezer basket.
- Do not open the door frequently or leave it open longer than necessary.
- Freezer: The colder the temperature setting, the higher the energy consumption.
- Fridge: Do not set too high temperature to save energy unless it is required by the characteristics of the food.
- If the ambient temperature is high and the temperature control is set to low temperature and the appliance is fully loaded, the compressor may run continuously, causing frost or ice formation on the evaporator. In this case, set the temperature control toward higher temperature to allow automatic defrosting and to save energy this way.
- Ensure a good ventilation. Do not cover the ventilation grilles or holes.
- Make sure that food products inside the appliance allow air circulation through dedicated holes in the rear interior of the appliance.
Hints for freezing
Activate Fast Freezing function at least 24 hours before placing the food inside the freezer compartment.
- Before freezing wrap and seal fresh food in: aluminium foil, plastic film or bags, airtight containers with lid.
- For more efficient freezing and thawing divide food into small portions.
- It is recommended to put labels and dates on all your frozen food. This will help to identify foods and to know when they should be used before their deterioration.
- The food should be fresh when being frozen to preserve good quality. Especially fruits and vegetables should be frozen after the harvest to preserve all of their nutrients.
- Do not freeze bottles or cans with liquids, in particular drinks containing carbon dioxide – they may explode during freezing.
- Do not put hot food in the freezer compartment. Cool it down at room temperature before placing it inside the compartment.
- To avoid increase in temperature of already frozen food, do not place fresh unfrozen food directly next to it. Place food at room temperature in the part of the freezer compartment where there is no frozen food.
- Do not eat ice cubes, water ices or ice lollies immediately after taking them out of the freezer. Risk of frostbites.
- Do not re-freeze defrosted food. If the food has defrosted, cook it, cool it down and then freeze it.
- Good temperature setting that ensures preservation of frozen food products is a temperature less than or equal to -18°C. Higher temperature setting inside the appliance may lead to shorter shelf life.
- The whole freezer compartment is suitable for storage of frozen food products.
- Leave enough space around the food to allow air to circulate freely.
- For adequate storage refer to food packaging label to see the shelf life of food.
- It is important to wrap the food in such a way that prevents water, humidity or condensation from getting inside.
Shopping tips
- After grocery shopping:
- Ensure that the packaging is not damaged – the food could be deteriorated. If the package is swollen or wet, it might have not been stored in the optimal conditions and defrosting may have already started.
- To limit the defrosting process buy frozen goods at the end of your grocery shopping and transport them in a thermal and insulated cool bag.
- Place the frozen foods immediately in the freezer after coming back from the shop.
- If food has defrosted even partially, do not re-freeze it. Consume it as soon as possible.
- Respect the expiry date and the storage information on the package.
Hints for storage of frozen food
The freezer compartment is the one marked with.![]()
Shelf life for the freezer compartment
| Type of food | Shelf life (months) |
| Bread | 3 |
| Fruits (except citrus) | 6 – 12 |
| Vegetables | 8 – 10 |
| Leftovers without meat | 1 – 2 |
| Type of food | Shelf life (months) |
| Dairy food: | |
| Butter Soft cheese (e.g. mozzarella) Hard cheese (e.g. parmesan, cheddar) | 6 – 9 3 – 4 6 |
| Seafood: | |
| Fatty fish (e.g. salmon, mackerel) | 2 – 3 |
| Lean fish (e.g. cod, flounder) | 4 – 6 |
| Shrimps | 12 |
| Shucked clams and mussels | 3 – 4 |
| Cooked fish | 1 – 2 |
| Meat: | |
| Poultry | 9 – 12 |
| Beef | 6 – 12 |
| Pork | 4 – 6 |
| Lamb | 6 – 9 |
| Sausage | 1 – 2 |
| Ham | 1 – 2 |
| Leftovers with meat | 2 – 3 |
Hints for fresh food refrigeration
- Good temperature setting that ensures preservation of fresh food is a temperature less than or equal to +4°C. Higher temperature setting inside the appliance may lead to shorter shelf life of food.
- Cover the food with packaging to preserve its freshness and aroma.
- Always use closed containers for liquids and for food, to avoid flavours or odours in the compartment.
- To avoid the cross-contamination between cooked and raw food, cover the cooked food and separate it from the raw one.
- It is recommended to defrost the food inside the fridge.
- Do not insert hot food inside the appliance. Make sure it has cooled down at room temperature before inserting it.
- To prevent food waste the new stock of food should always be placed behind the old one.
- Fresh food compartment is the one marked (on the rating plate) with
- Meat (all types): wrap in a suitable packaging and place it on the glass shelf above the vegetable drawer. Store meat for at most 1-2 days.
- Fruit and vegetables: clean thoroughly (eliminate the soil) and place in a special drawer (vegetable drawer).
- It is advisable not to keep the exotic fruits like bananas, mangos, papayas etc. in the refrigerator.
- Vegetables like tomatoes, potatoes, onions, and garlic should not be kept in the refrigerator.
- Butter and cheese: place in an airtight container or wrap in an aluminium foil or a polythene bag to exclude as much air as possible.
- Bottles: close them with a cap and place them on the door bottle shelf, or (if available) on the bottle rack.
- In order to accelerate cooling down of the goods, it is advisable to turn on the fan. The activation of Fan-cooling allows greater homogenization of internal temperatures.
- Always refer to the expiry date of the products to know how long to keep them.
Care and cleaning
Warning! Refer to Safety chapters.
Periodic cleaning
The equipment has to be cleaned regularly:
- Clean the inside and accessories with lukewarm water and some neutral soap.
- Regularly check the door seals and wipe them clean to ensure they are clean and free from debris.
- Rinse and dry thoroughly.
Defrosting of the refrigerator
- during normal use. The defrost water drains out through a trough into a special container at the back of the appliance, over the motor compressor, where it evaporates.
- It is important to periodically clean the defrost water drain hole in the middle of the refrigerator compartment channel to prevent the water overflowing and dripping onto the food inside.
- For this purpose use the tube cleaner provided in the accessory bag.
Defrosting of the freezer
- The freezer compartment is frost free. This means that there is no build up of frost when it is in operation, neither on the internal walls, nor on the foods.
Period of non-operation
- When the appliance is not in use for long period, take the following precautions:
- Disconnect the appliance from electricity supply.
- Remove all food.
- Clean the appliance and all accessories.
- Leave the doors open to prevent unpleasant smells.
Troubleshooting
Warning! Refer to Safety chapters.
What to do if…
| Problem | Possible cause | Solution |
| The appliance does not oper‐ ate. | The appliance is switched off. | Switch on the appliance. |
| The appliance does not oper‐ ate. | The mains plug is not con‐ nected to the mains socket correctly. | Connect the mains plug to the mains socket correctly. |
| The appliance does not oper‐ ate. | There is no voltage in the mains socket. | Connect a different electrical appliance to the mains sock‐ et. Contact a qualified electri‐ cian. |
| The appliance is noisy. | The appliance is not suppor‐ ted properly. | Check if the appliance stands stable. |
| The following noises can be heard: bubbling, whirring, hissing, cracking or clicking. | This is normal. Refer to “Noises” chapter. | |
| Acoustic or visual alarm is on. | The cabinet has been recent‐ ly switched on. | Refer to “Door Open Alarm” or “High Temperature Alarm”. |
| Acoustic or visual alarm is on. | The temperature in the appli‐ ance is too high. | Refer to “Door Open Alarm” or “High Temperature Alarm”. |
| Acoustic or visual alarm is on. | The door is left open. | Close the door. |
| The compressor operates continually. | Temperature is set incorrect‐ ly. | Refer to “Control Panel” chapter. |
| The compressor operates continually. | Many food products were put in at the same time. | Wait a few hours and then check the temperature again. |
| The compressor operates continually. | The room temperature is too high. | Refer to “Installation” chap‐ ter. |
| The compressor operates continually. | Food products placed in the appliance were too warm. | Allow food products to cool to room temperature before storing. |
| The compressor operates continually. | The door is not closed cor‐ rectly. | Refer to “Closing the door” section. |
| The compressor operates continually. | The Fast Freezing function is switched on. | Refer to “Fast Freezing func‐ tion” section. |
| The compressor operates continually. | The Shopping function is switched on. | Refer to “Shopping function” section. |
| Problem | Possible cause | Solution |
| The compressor does not start immediately after press‐ ing the “Fast Freezing” or “Shopping”, or after chang‐ ing the temperature. | The compressor starts after a period of time. | This is normal, no error has occurred. |
| Door is misaligned or inter‐ feres with ventilation grill. | The appliance is not levelled. | Refer to installation instruc‐ tions. |
| Door does not open easily. | You attempted to re-open the door immediately after clos‐ ing. | Wait a few seconds between closing and re-opening of the door. |
| The lamp does not work. | The lamp is in stand-by mode. | Close and open the door. |
| The lamp does not work. | The lamp is defective. | Contact the nearest Author‐ ized Service Centre. |
| There is too much frost and ice. | The door is not closed cor‐ rectly. | Refer to “Closing the door” section. |
| There is too much frost and ice. | The gasket is deformed or dirty. | Refer to “Closing the door” section. |
| There is too much frost and ice. | Food products are not wrap‐ ped properly. | Wrap the food products bet‐ ter. |
| There is too much frost and ice. | Temperature is set incorrect‐ ly. | Refer to “Control Panel” chapter. |
| There is too much frost and ice. | Appliance is fully loaded and is set to the lowest tempera‐ ture. | Set a higher temperature. Re‐ fer to “Control Panel” chap‐ ter. |
| There is too much frost and ice. | Temperature set in the appli‐ ance is too low and the ambi‐ ent temperature is too high. | Set a higher temperature. Re‐ fer to “Control Panel” chapter and “Location” section. |
| Water flows on the rear plate of the refrigerator. | During the automatic de‐ frosting process, frost melts on the rear plate. | This is correct. |
| There is too much condensed water on the rear wall of the refrigerator. | Door was opened too fre‐ quently. | Open the door only when necessary. |
| There is too much condensed water on the rear wall of the refrigerator. | Door was not closed com‐ pletely. | Make sure the door is closed completely. |
| Problem | Possible cause | Solution |
| There is too much condensed water on the rear wall of the refrigerator. | Stored food was not wrap‐ ped. | Wrap food in suitable pack‐ aging before storing it in the appliance. |
| Water flows inside the refrig‐ erator. | Food products prevent the water from flowing into the water collector. | Make sure that food products do not touch the rear plate. |
| Water flows inside the refrig‐ erator. | The water outlet is clogged. | Clean the water outlet. |
| Water flows on the floor. | The melting water outlet is not connected to the evapo‐ rative tray above the com‐ pressor. | Attach the melting water out‐ let to the evaporative tray. |
| Water flows on the floor. | Door was left open for a long time. | Open the door only when necessary. |
| Water flows on the floor. | The gasket is deformed or damaged. | Contact the Authorised Serv‐ ice Centre. |
| Temperature cannot be set. | The “Fast Freezing function” or “Shopping function” is switched on. | Switch off “Fast Freezing function” or “Shopping func‐ tion” manually, or wait until the function deactivates au‐ tomatically to set the temper‐ ature. Refer to “Fast Freezing function” or “Shopping func‐ tion” section. |
| The temperature in the appli‐ ance is too low/too high. | The temperature is not set correctly. | Set a higher/lower tempera‐ ture. |
| The temperature in the appli‐ ance is too low/too high. | The door is not closed cor‐ rectly. | Refer to “Closing the door” section. |
| The temperature in the appli‐ ance is too low/too high. | The food products’ tempera‐ ture is too high. | Let the food products tem‐ perature decrease to room temperature before storage. |
| The temperature in the appli‐ ance is too low/too high. | Many food products are stor‐ ed at the same time. | Store less food products at the same time. |
| The temperature in the appli‐ ance is too low/too high. | The door has been opened often. | Open the door only if neces‐ sary. |
| The temperature in the appli‐ ance is too low/too high. | The Fast Freezing function is switched on. | Refer to “Fast Freezing func‐ tion” section. |
| Problem | Possible cause | Solution |
| The temperature in the appli‐ ance is too low/too high. | The Shopping function is switched on. | Refer to “Shopping function” section. |
| The temperature in the appli‐ ance is too low/too high. | There is no cold air circula‐ tion in the appliance. | Make sure that there is cold air circulation in the appli‐ ance. Refer to “Hints and Tips” chapter. |
| DEMO appears on the dis‐ play. | The appliance is in demon‐ stration mode. | Keep the OK key pressed for approximately 10 seconds until a long sound is heard and the display turns off for a short time. |
| A symbol is shown instead of numbers on the temperature display. | Temperature sensor problem. | Contact the nearest Author‐ ized Service Centre (the cool‐ ing system will continue to keep food products cold, but temperature adjustment will not be possible). |
- If the advice does not lead to the desired result, call the nearest Authorized Service Centre.
Replacing the lamp
- The appliance is equipped with a longlife LED interior light.
- Only service is allowed to replace the lighting device. Contact your Authorised Service Centre.
Closing the door
- Clean the door gaskets.
- If necessary, adjust the door. Refer to the assembly instructions.
- If necessary, replace the defective door gaskets. Contact the Authorised Service Centre.
Noises
Technical data
| Product category | |
| Product Type | Refrigerator – Freezer |
| Installation Type | Built-in only |
| Product dimensions | |
| Height | 1884 mm |
| Width | 548 mm |
| Depth | 549 mm |
| Net volume | |
| Fresh food compartment (Fridge) | 213 l |
| 4 Star compartment (Freezer) | 61 l |
| Defrost system | |
| Fresh food compartment (Fridge) | auto |
| 4 Star compartment (Freezer) | auto |
| Star rating | ![]() |
| Rising time | 9,5 h |
| Freezing capacity | 2,5 kg/12h |
| Annual energy consumption | 213 kWh/y |
| Airborne acoustical noise emissions | 36 dB (A) |
| Energy efficiency class | E |
| Voltage | 230 – 240 V |
| Frequency | 50 Hz |
The technical information (including the serial number) is situated in the rating plate on the internal left side of the appliance and in the energy label.
Information for test institutes
- Installation and preparation of the appliance for any EcoDesign verification shall be compliant with EN 62552. Ventilation requirements, recess dimensions and minimum rear clearances shall be as stated in this User Manual at Chapter 3. Please contact the manufacturer for any other further information, including loading plans.
Environmental concerns
Recycle materials with the symbol . Put the packaging in relevant containers to recycle it. Help protect the environment and human health by recycling waste of electrical and electronic appliances. Do not dispose of appliances marked with the symbol with the household waste. Return the product to your local recycling facility or contact your municipal office.
For Switzerland:
- Where should you take your old equipment?
- Anywhere that sells new equipment or hand it in to official SENS collection points or official SENS recycling firms.
- The list of official SENS collection points can be found at www.erecycling.ch
IKEA guarantee
How long is the IKEA guarantee valid?
- This guarantee is valid for 5 years from the original date of purchase of your appliance at IKEA. The original sales receipt is required as proof of purchase. If service work is carried out under guarantee, this will not extend the guarantee period for the appliance.
Who will execute the service?
- IKEA service provider will provide the service through its own service operations or authorized service partner network.
What does this guarantee cover?
- The guarantee covers faults of the appliance, which have been caused by faulty construction or material faults from the date of purchase from IKEA. This guarantee applies to domestic use only. The exceptions are specified under the headline “What is not covered under this guarantee?” Within the guarantee period, the costs to remedy the fault e.g. repairs, parts, labour and travel will be covered, provided that the appliance is accessible for repair without special expenditure. On these conditions the EU guidelines (Nr. 99/44/EG) and the respective local regulations are applicable. Replaced parts become the property of IKEA.
What will IKEA do to correct the problem?
- IKEA appointed service provider will examine the product and decide, at its sole discretion, if it is covered under this guarantee. If considered covered, IKEA service provider or its authorized service partner through its own service operations, will then, at its sole discretion, either repair the defective product or replace it with the same or a comparable product.
What is not covered under this guarantee?
- Normal wear and tear.
- Deliberate or negligent damage, damage caused by failure to observe operating instructions, incorrect installation or by connection to the wrong voltage, damage caused by chemical or electro-chemical reaction, rust, corrosion or water damage including but not limited to damage caused by excessive lime in the water supply, damage caused by abnormal environmental conditions.
- Consumable parts including batteries and lamps.
- Non-functional and decorative parts which do not affect normal use of the appliance, including any scratches and possible color differences.
- Accidental damage caused by foreign objects or substances and cleaning or unblocking of filters, drainage systems or soap drawers.
- Damage to the following parts: ceramic glass, accessories, crockery and cutlery baskets, feed and drainage pipes, seals, lamps and lamp covers, screens, knobs, casings and parts of casings. Unless such damages can be proved to have been caused by production faults.
- Cases where no fault could be found during a technician’s visit.
- Repairs not carried out by our appointed service providers and/or an authorized service contractual partner or where non-original parts have been used.
- Repairs caused by installation which is faulty or not according to specification.
- The use of the appliance in a non-domestic environment i.e. professional use.
- Transportation damages. If a customer transports the product to their home or other address, IKEA is not liable for any damage that may occur during transport. However, if IKEA delivers the product to the customer’s delivery address, then damage to the product that occurs during this delivery will be covered by this guarantee.
- Cost for carrying out the initial installation of the IKEA appliance. However, if an IKEA service provider or its authorized service partner repairs or replaces the appliance under the terms of this guarantee, the service provider or its authorized service partner will re-install the repaired appliance or install the replacement, if necessary.
- This restriction do not apply to fault-free work carried out by a qualified specialist using our original parts in order to adapt the appliance to the technical safety specifications of another EU country.
How country law applies
- The IKEA guarantee gives you specific legal rights, which covers or exceed local demands. However these conditions do not limit in any way consumer rights described in the local legislation.
Area of validity
- For appliances which are purchased in one EU country and taken to another EU country, the services will be provided in the framework of the guarantee conditions normal in the new country. An obligation to carry out services in the framework of the guarantee exists only if the appliance complies and is installed in accordance with:
- the technical specifications of the country in which the guarantee claim is made;
- the Assembly Instructions and User Manual Safety Information;
The dedicated After Sales Service for IKEA appliances:
- Please do not hesitate to contact IKEA After Sales Service to:
- make a service request under this guarantee;
- ask for clarification on installation of the IKEA appliance in the dedicated IKEA kitchen furniture. The service won’t provide clarifications related to:
- the overall IKEA kitchen installation;
- connections to electricity (if machine comes without plug and cable), to water and to gas since they have to be executed by an authorized service engineer.
- ask for clarification on user manual contents and specifications of the IKEA appliance.
To ensure that we provide you with the best assistance, please read carefully the Assembly Instructions and/or the User Manual section of this booklet before contacting us.
How to reach us if you need our service
- Please refer to the last page of this manual for the full list of IKEA appointed contacts and relative national phone numbers.
- In order to provide you with a quicker service, we recommend that you use the specific phone numbers listed at the end of this manual. Always refer to the numbers listed in the booklet of the specific appliance you need an assistance for. Before calling us, assure that you have to hand the IKEA article number (8 digit code) and the Serial Number (8 digit code that can be found on the rating plate) for the appliance of which you need our assistance.
- SAVE THE SALES RECEIPT! It is your proof of purchase and required for the guarantee to apply. Note that the receipt reports also the IKEA article name and number (8 digit code) for each of the appliances you have purchased.
Do you need extra help?
- For any additional questions not related to After Sales of your appliances, please contact our nearest IKEA store call centre. We recommend you read the appliance documentation carefully before contacting us.
- © Inter IKEA Systems B.V. 202121552
- AA-2242428-2







































