AGM Sting IR Series Thermal Imaging Monocular

General Information
The Sting IR is a thermal imaging monocular that allows users to see in complete darkness and through smoke, dust, and fog. It is designed for outdoor activities such as hunting, camping, and wildlife observation, as well as for security and surveillance purposes. The standard components of the Sting IR include the thermal imaging monocular, a rechargeable lithiumion battery pack, a battery charger, a USB cable, a neck strap, and a carrying case.
The key features of the Sting IR include:
- 320 x 240 resolution thermal sensor
- 8x digital zoom
- Video output for recording or streaming
- Waterproof, shockproof, and fog-proof design
- Long battery life (up to 5 hours of continuous use)
Operating Instructions
Before using the Sting IR, ensure that it is fully charged by connecting it to the included battery charger using the USB cable. Once fully charged, turn on the Sting IR by pressing and holding the power button for 3 seconds. The home screen will appear, displaying the thermal image in real-time. To adjust the zoom level, use the arrow buttons on the side of the StingIR. To access the menu, press the menu button on the side. From there, you can adjust settings such as color mode, brightness, and contrast.
Maintenance
To ensure optimal performance, clean the lens and exterior of the StingIR regularly with a microfiber cloth. Avoid exposing the StingIR to extreme temperatures or humidity, and do not disassemble or attempt to repair the device yourself.
Warranty Information
The Sting IR comes with a limited 2-year warranty from AGM Global Vision. Register your product online to receive warranty support in case of any defects or malfunctions.
Specifications
- Resolution: 320 x 240
- Zoom: 8x digital zoom
- Battery Life: Up to 5 hours of continuous use
- Waterproof Rating: IP67
- Operating Temperature: -20°C to +50°C
- Weight: 320g (including battery)
For any additional information or questions, contact AGM Global Vision customer support.
© 2021 AGM Global Vision, LLC. All rights reserved.
This documentation is subject to change without notice.
No parts of this manual, in whole or in part, may be copied, photocopied, translated, or transmitted by any electronic medium or in machine-readable form without the prior written permission of AGM Global Vision, LLC. If you have questions that are not covered in this manual, or need service, contact AGM Global Vision customer support for additional information prior to returning a product.
AGM Global Vision, LLC
173 West Main Street
PO Box 962
Springerville, AZ 85938
Tel. 928.333.4300
[email protected]
www.agmglobalvision.com
EXPORT INFORMATION
Buyer acknowledges that all products supplied by AGM Global Vision, LLC are subject to U.S. export control laws, including, but not limited to, the Export Administration Regulations, the International Economic Emergency Powers Act, and various U.S. embargoes and sanctions. AGM Global Vision products may not be exported, re-exported, or transferred contrary to U.S. export control laws. In particular, AGM Global Vision products may not be exported, re-exported, or transferred to prohibited countries, individuals, organizations, or entities, including but not limited to those individuals and entities listed on the List of Specially Designated Nationals and Blocked Persons administered or maintained by the U.S. Office of Foreign Assets Control (“OFAC”), the various lists maintained by the Bureau of Industry and Security of the Department of Commerce, and the U.S. State Department and Buyer represents and warrants that neither Buyer nor any of its officers, directors, or employees are on such lists. Distribution or resale by Buyer to such countries, individuals, organizations, or entities is expressly prohibited. Buyer has and will maintain a positive process to ensure compliance with this Section.
FCC INFORMATION
Please take attention that changes or modification not expressly approved by the party responsible for compliance could void the user’s authority to operate the equipment. This equipment complies with FCC/IC RSS-102 radiation exposure limits set forth for an uncontrolled environment.
FCC compliance: This product has been tested and found to comply with the limits for a Class B digital device, pursuant to Part 15 of the FCC Rules. These limits are designed to provide reasonable protection against harmful interference in a residential installation. This product generates, uses, and can radiate radio frequency energy and, if not installed and used in accordance with the instructions, may cause harmful interference to radio communications. However, there is no guarantee that interference will not occur in a particular installation. If this product does cause harmful interference to radio or television reception, which can be determined by turning the equipment off and on, the user is encouraged to try to correct the interference by one or more of the following measures:
- Reorient or relocate the receiving antenna.
- Increase the separation between the equipment and receiver.
- Connect the equipment into an outlet on a circuit different from that to which the receiver is connected.
- Consult the dealer or an experienced radio/TV technician for help.
FCC Conditions
This device complies with part 15 of the FCC Rules. Operation is subject to the following two conditions:
- This device may not cause harmful interference.
- This device must accept any interference received, including interference that may cause undesired operation.
EU CONFORMITY STATEMENT
This product and – if applicable – the supplied accessories too are marked with “CE” and comply therefore with the applicable harmonized European standards listed under the EMC Directive 2014/30/EU, the RoHS Directive 2011/65/EU 2012/19/EU (WEEE directive): Products marked with this symbol cannot be disposed of as unsorted municipal waste in the European Union. For proper recycling, return this product to your local supplier upon the purchase of equivalent new equipment, or dispose of it at designated collection points. For more information see: www.recyclethis.info
2006/66/EC (battery directive): This product contains a battery that cannot be disposed of as unsorted municipal waste in the European Union. See the product documentation for specific battery information. The battery is marked with this symbol, which may include lettering to indicate cadmium (Cd), lead (Pb), or mercury (Hg). For proper recycling, return the battery to your supplier or to a designated collection point. For more information see: www.recyclethis.info
INDUSTRY CANADA ICES-003 COMPLIANCE
This device meets the CAN ICES-3 (A)/NMB-3(A) standards requirements
SAFETY SUMMARY
- Read and follow all instructions
- Read all warnings
- Only use the attachments/accessories specified by the manufacturer
- All service must be provided by the manufacturer
WARNING:
This product contains natural rubber latex, which may cause potentially fatal allergic reactions! If you are allergic to latex, it is important that you strictly avoid exposure to products that contain it.
WARNINGS AND CAUTIONS:
- All electronic operation should be in strict compliance with the electrical safety regulations, fire prevention regulations and other related regulations in your local region.
- Please use the power adapter, which is provided by a proven manufacturer. The power consumption cannot be less than the required value.
- Do not connect several devices to one power adapter as adapter overload may cause over-heat or fire hazard.
- Do not drop the device or subject it to physical shock, and do not expose it to high electromagnetism radiation. Avoid the device installation on vibrations surface or places subject to shock (ignorance can cause equipment damage).
- Do not place the device in extremely hot (refer to the specification of the device for the detailed operating temperature), cold, dusty or damp locations, and do not expose it to high electromagnetic radiation.
- The device cover for indoor use should be kept from rain and moisture.
- Exposing the device to direct sun light, low ventilation or heat source such as heater or radiator is forbidden (ignorance can cause fire danger).
- Do not aim the device at the sun or extra bright places. A blooming or smear may occur otherwise (which is not a malfunction however), and affecting the endurance of sensor at the same time.
- For long-term storage of the battery, make sure you fully charge it every 6 months, to ensure the battery quality. Otherwise, you may damage the battery.
NOTES:
The detector spectral band provides better visibility through smoke, dust, rain, smog, etc.
Infrared radiation does not travel through glass. As a result, the monocular does not detect objects if they are behind glass windows or other barriers..
GENERAL INSTRUCTION
SYSTEM DESCRIPTION
The AGM Sting IR miniature handheld observational thermal monocular is equipped with 384×288 or 640×480 12μm high-sensitivity infrared detector and high-resolution OLED display. It supports functions of observation, digital compass, inclinometer, and so on. The high sensitivity built-in thermal detector provides you with clear view even in total darkness. The AGM Sting IR is a full-featured unit, weighing less than 7 ounces/200 grams. The monocular can be used as a handheld device, or mounted on the head harness or helmets for hands-free operations. The monocular is suitable for security enforcement, outdoor hunting, wilderness exploration, search and rescue and other fields.
MAIN PARTS
| ITEM | DESCRIPTION |
| 1 | Body |
| 2 | Focus Ring |
| 3 | Lens Cap |
| 4 | Battery Cover |
| 5 | Up Button |
| 6 | Menu Button |
| 7 | Down Button |
| 8 | Type-C Interface |
| 9 | Focus Knob |
| 10 | Helmet Adapter Bracket/ Picatinny Rail Adapter Mounting Interface |
| 11 | Eye Cup |
STANDARD COMPONENTS
The standard components are shown in Figure 1-2
and listed in Table 1-2. The ITEM NO. column indicates the number used to identify items in Figure 1-2.
STANDARD COMPONENTS
| ITEM | DESCRIPTION | QUANTITY |
| 1 | Monocular | 1 |
| 2 | Helmet adapter bracket | 1 |
| 3 | 18650 battery cap | 1 |
| 4 | Type-C cable | 1 |
| 5 | Operation manual | 1 |
| 6 | Packing case | 1 |
KEY FEATURES
- 12μm high-sensitivity detector
- 384×288 or 640×480 resolution
- Head- or helmet-mountable for hands-free usage
- Compact, sturdy design
- High-resolution OLED display
- Multiple thermal image palettes
- Device supports up to 8× digital zoom
- Powered by one CR123A/RCR123 or 18650
- Lithium battery
- Up to 5 hours continuous running
- Digital compass and inclinometer
- Type-C interface
- Limited 3-year warranty
OPERATING INFORMATION
BASIC OPERATIONS
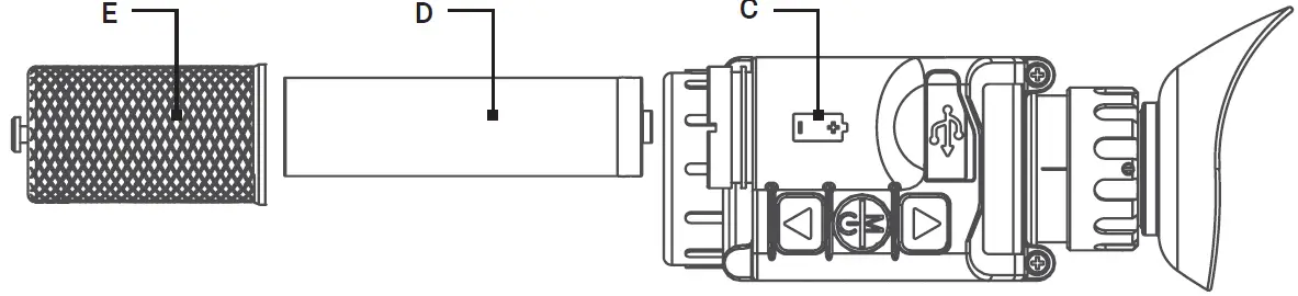
INSTALLING THE BATTERY
Sting IR supports three kinds of batteries: CR123 (rechargeable lithium battery), CR123A (non rechargeable lithium battery), and 18650 (rechargeable lithium battery). When using the 18650 battery, you need to replace the existing battery cap with the 18650 battery cap.
INSTALL A CR123 BATTERY
To install a CR123(B) or CR123A battery, unscrew the battery cap(A) first, put the battery into the battery compartment in the correct polarity(C), and tighten the battery cap.
INSTALL A 18650 BATTERY
Before using the 18650 battery, you need to replace the CR123 battery cap(A) with the 18650 battery cap(E). The replacement steps are as follows:
- Unscrew the CR123 battery cap(A) and remove the silicone ring fixing the battery cap.
- Put the silicone ring fixing the 18650 battery cap(E) on the battery cartridge, and adjust the silicone ring to abut the shell.
- Install the 18650 battery(D) and tighten the 18650 battery cap.
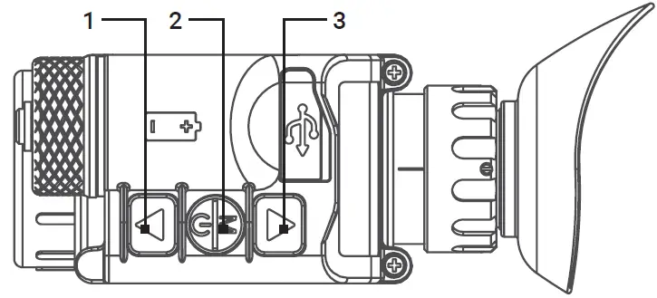
CONTROL BUTTONS
CONTROL BUTTONS
CONTROL BUTTON FUNCTIONS
| ITEM 1 | BUTTON | FUNCTIONS |
| UP | Short press: Turns on digital zoom / Returns to the previous option / Increases the value. Long press: corrects the shutter. | |
| 2 | MENU | Short press: Displays the menu/confirms the option. Long press: Powers on/off the device. |
| 3 | DOWN | Short press: Adjusts the image polarity / Moves to the next option / Decreases the value. |
POWER ON AND OFF
Power On
Hold the Menu button for 2 seconds to power on the device. An image will appear on the display.
Power Off
When the device is turned on, hold Menu button for 2 seconds to power off the device.
HELMET-MOUNTED USE
For helmet-mounted use, after installing the battery, you need to install the helmet adapter bracket. The installation steps are as follows:
USED ON A HELMET
- Take out the helmet adapter bracket, and fix the screw on the adapter bracket into the middle screw hole of the night vision device mounting interface.
- Install the device with the helmet adapter bracket available on the tipper car bracket (self provided).
- Install the tipper car bracket and the device on the helmet (self-provided).
CAUTION:
In helmet-mounted use, you need to operate the menu in the device to flip the screen.
HOME SCREEN OPERATIONS
HOME SCREEN DISPLAY
The information displayed on the home screen of StingIR includes the infrared image, battery level, azimuth information, pitch angle information, roll angle information, digital zoom multiple, image polarity, reticle (displayed after being set in the menu), and PIP (displayed after being set in the menu).
HOME SCREEN
HOME SCREEN DISPLAY
ITEM 1 | ICON | DESCRIPTION |
| Azimuth Compass | Displays W, NW, N, NE, E, SE, S, and SW azimuths and angles. 0 indicates the direction of true north and the value increases eastward. | |
| 2 | Battery | Displays four bars when the battery is fully charged and turns red when the battery level is less than 10%. |
| 3 | Reticle | Is not displayed by default and can be displayed after being set in the menu. |
| 4 | Pitch Angle | -90° — 90° |
| 5 | Roll Angle | -90° — 90° |
| 6 | Pip Digital Zoom | Can be displayed after being set in the menu. The default mode is fullscreen digital zoom. |
| 7 | Image Polarity | Can be White Hot, Black Hot, Orange Hot, or Rainbow. |
| 8 | Digital Zoom Multiple | Can be 1.0–8.0× |
DIGITAL ZOOM
In the home screen, short press the Up button to display the digital zoom image. The device defaults to full-screen digital zoom. AGM StingIR-384 supports 1.0–4.0× digital zoom, and you can short press the Up button to switch digital zoom multiples. AGM StingIR-640 supports 1.0–8.0× digital zoom, and you can short press the Up button to switch digital zoom multiples.
POLARITY SWITCHING
In the home screen, short press the Down button to switch image polarities among WhiteHot, BlackHot, OrangeHot, and Rainbow cyclically.
MANUAL IMAGE CORRECTION
In the home screen, when the infrared image is blurred, degraded, or uneven, manual shutter correction is required. Long press the Up button for 3s to manually correct the shutter. You can hear the shutter click during the correction. The correction time is less than 1s.
In the home screen, short press the Menu button to enter the main menu. In the main menu, you can set the image, adjust parameters, select application scenarios and view the device status.
The menu contains five items: IMAGE, APPLICATION SCENARIO, DISPLAY, SETTINGS, and DEVICE STATUS. Short press the Down or Up button to switch options and short press the Menu button to enter or confirm the option.
IMAGE
Image allows setting the brightness and contrast of the image to 1–10, and the default value is 5.
IMAGE SCREEN
APPLICATION SCENARIO
Application Scenario can be Default, Outdoor, Arctic, or Rainforest. Specifically, Default is the initial mode; Outdoor is mainly suitable for environments with fewer outdoor thermal targets to highlight thermal targets; Arctic is suitable for scenes with low ambient temperature, like winter; Rainforest is suitable for scenes with high ambient temperature and high humidity.
APPLICATION SCENARIO SCREEN
DISPLAY
Display allows setting options like Compass, Menu Flip, Digital Zoom, and Reticle Display. Compass allows setting the compass information and whether to display the pitch angle and roll angle. By default, they are displayed. Menu Flip allows setting the display status of the menu. When changing the direction of use, you can switch the menu direction by turning on menu flip to ensure that it is consistent with the direction of use. Digital Zoom allows setting the display mode of the digital zoom. The default is Full-screen, and PIP can be selected. When PIP is selected, it will be superimposed on the bottom of the display. Reticle Display allows displaying or hiding the reticle. When the reticle is displayed, the color and position of the reticle can be set. Reticle Color can be set to White, Black, or Green. Reticle Move can be set to Default, Horizontal, or Vertical. If Default is selected, the position of the reticle will be reset to the center of the image. If Horizontal or Vertical is selected, the reticle will move horizontally or vertically. The move value ranges from –100 to 100, and each move value represents a pixel.
SETTINGS
Settings allows calibrating the device, restoring factory settings, etc., and provides Azimuth Calibration, Pitch Calibration, Analog Video, Shutter Interval, and Factory Reset.
AZIMUTH CALIBRATION DIAGRAM
Azimuth Calibration allows calibrating the azimuth. You are recommended to perform an azimuth calibration when using the device for the first time or in a different place. After entering Azimuth Calibration, you can view the calibration instructions. Specifically, horizontally rotate the device 360° around itself, click Start to start the rotation, and click OK after the rotation is complete. Pitch Calibration allows calibrating the device vertically. Since the pitch angle is less affected by the change of geographic locations, and you do not need to calibrate it frequently. After entering Pitch Calibration, you can view the calibration instructions. Specifically, vertically rotate the device 90° upward and then 90° downward around itself. Click Start to start the rotation, and click OK after the rotation is complete.
PITCH CALIBRATION DIAGRAM
Battery voltage option provides two power supply voltages of 3.0 v and 3.7 v. The user needs to select the battery voltage according to the actual situation of using the battery voltage.
NOTE:
The factory default of “battery voltage” is 3.7 v.
Analog Video allows turning on/off the output of analog video. To watch analog video through the Type-C interface connected to the cable, you need to turn on Analog Video in the menu in advance.
NOTE:
Analog Video is turned off by default. It is recommended to turn off this option when you are not watching analog video to reduce power consumption and prolong the battery life.
Shutter Interval allows setting the automatic shutter correction time. The maximum value is 10 minutes by default. When it is set to 0, automatic shutter correction is turned off and manual shutter correction is turned on. Factory Reset allows restoring factory settings. If required, you can select this option and click OK to restore the device data to factory defaults.
DEVICE STATUS
Device Status mainly displays the service time and the serial number of the device.
NOTE: The factory reset will not clear the service time of the device.
MAINTENANCE OF THE PRODUCT
CLEANING PROCEDURES
- Gently brush off any dirt from the body of the device using a clean, soft cloth.
- Moisten the cloth with fresh water and gently wipe down the external surfaces (except lenses).
- Dry any wet surfaces (except lenses) using another dry, clean, soft cloth.
- Using a lens brush, carefully remove all loose dirt from the lenses.
- Dampen a cotton swab with ethanol and slowly, gently wipe down the lenses. Clean the glass surfaces using circular movements, starting from the center of the lens and moving out towards the edge, without touching the lens holder. Change the cotton swab after each circular stroke. Repeat this step until the glass surfaces are clean.
- Clean the accessories with a soft brush (or cloth) dampened with soap and water.
PREPARING FOR EXTENDED STORAGE
CAUTION:
Thoroughly dry each item before placing them into the storage case.
To prepare the monocular for extended storage:
- Clean the monocular and accessories.
- Place all items into the storage case.
TROUBLESHOOTING
Table 3-1 lists the most common malfunctions that may occur with your equipment. Perform the tests, inspections, and corrective actions in the order they appear in the table. This table does not list all the malfunctions that may occur with your device, or all of the tests, inspections, and corrective actions that may be necessary to fix them. If the equipment malfunction is not corrected by the suggested actions, or a problem occurs that is not listed in this table, please contact AGM Global Vision’s Customer Support center or your retailer.
TROUBLESHOOTING
| FAULT | TEST OR CHECK | TROUBLESHOOTING |
| Unable to screw or open the cover of the battery holder | (a) Check whether the battery is installed in the correct direction. (b) Check whether there are sundries or scraps around the knob of the battery cover. (c) Check whether the battery cover is damaged, worn or deformed. (d) Check whether the battery holder is damaged or deformed. | (a) Reinstall the battery. (b) Clean the threads of the battery cover and battery holder. (c) Perform the higher level maintenance. (d) Perform the higher level maintenance. |
| Unable to power on | (a) Check whether the battery is installed, whether its direction is correct, and whether its power is sufficient. (b) Check whether the On/ Off button can be pressed normally. | (a) Replace the old battery with a new one and install it correctly according to the instructions in Chapter 2. (b) Perform the higher level maintenance. |
| Unable to display the image | (a) Check whether the lens hood is removed and whether the focal length is appropriate. (b) Check whether the objective lens is blocked during operation. (c) Check whether the lens is damaged. (d) Long press the UP button to perform manual shutter correction. | (a) Remove the lens hood and adjust the objective lens focusing knob. (b) Remove the barriers. (c) Perform the higher level maintenance. (d) Perform the higher level maintenance if the fault persists. |
| After power on, it displays “The battery is running low, please replace the battery” | (a) Check whether the battery power is too low. (b) Confirm that the battery voltage is consistent with the device Settings. | (a) Replace the battery. (b) Operation menu “Settings” -> “Battery Voltage”, set the voltage to be consistent with the actual battery voltage. |
PRODUCT WARRANTY INFORMATION
WARRANTY INFORMATION AND REGISTRATION
WARRANTY INFORMATION
This product is guaranteed to be free from manufacturing defects in material and workmanship under normal use for a period of three (3) years from the date of purchase. In the event that a defect covered by the warranty below occurs during the applicable period stated above, AGM Global Vision, at its discretion, will either repair or replace the product; such action on the part of AGM Global Vision shall be the full extent of AGM Global Vision’s liability, and the Customer’s sole and exclusive reparation. This warranty does not cover a product if it has been (a) used in ways other than its normal and customary manner; (b) subjected to misuse; (c) subjected to alterations, modifications or repairs by the Customer or by any party other than AGM Global Vision without prior written consent of AGM Global Vision; (d) is the result of a special order or categorized as “close-out” merchandise or merchandise sold “as-is” by either AGM Global Vision or the AGM Global Vision dealer; or (e) merchandise that has been discontinued by the manufacturer and either parts or replacement units are not available due to reasons beyond the control of AGM Global Vision. AGM Global Vision shall not be responsible for any defects or damage that in AGM Global Vision’s view are a result from the mishandling, abuse, misuse, improper storage or improper operation of the device, including use in conjunction with equipment that is electrically or mechanically incompatible with, or of inferior quality to, the product, as well as failure to maintain the environmental conditions specified by the manufacturer. This warranty is extended only to the original purchaser. Any breach of this warranty shall be enforced unless the customer notifies AGM Global Vision at the address noted below within the applicable warranty period. The customer understands and agrees that except for the foregoing warranty, no other warranties written or oral, statutory, expressed or implied, including any implied warranty of merchantability or fitness for a particular purpose, shall apply to the product. All such implied warranties are hereby and expressly disclaimed.
LIMITATION OF LIABILITY
AGM Global Vision will not be liable for any claims, actions, suits, proceedings, costs, expenses, damages, or liabilities arising out of the use of this product. Operation and use of the product are the sole responsibility of the Customer. AGM Global Vision’s sole undertaking is limited to providing the products and services outlined herein in accordance with the terms and conditions of this Agreement. The provision of products sold and services performed by AGM Global Vision to the Customer shall not be interpreted, construed, or regarded, either expressly or implied, as being for the benefit of or creating any obligation toward any third party of legal entity outside AGM Global Vision and the Customer; AGM Global Vision’s obligations under this Agreement extend solely to the Customer. AGM Global Vision’s liability hereunder for damages, regardless of the form or action, shall not exceed the fees or other charges paid to AGM Global Vision by the customer or customer’s dealer. AGM Global Vision shall not, in any event, be liable for special, indirect, incidental, or consequential damages, including, but not limited to, lost income, lost revenue, or lost profit, whether such damages were foreseeable or not at the time of purchase, and whether or not such damages arise out of a breach of warranty, a breach of agreement, negligence, strict liability, or any other theory of liability.
PRODUCT REGISTRATION
In order to validate the warranty on your product, the customer must complete and submit AGM Global Vision PRODUCT REGISTRATION FORM on our website (www.agmglobalvision.com/customer-support).
OBTAINING WARRANTY SERVICE
To obtain warranty service on your unit, the End-user (Customer) must notify the AGM Global Vision service department via e-mail. Send any requests to [email protected] to receive a Return Merchandise Authorization number (RMA). When returning any device, please take the product to your retailer, or send the product, postage paid and with a copy of your sales receipt, to AGM Global Vision’s service center at the address listed above. All merchandise must be fully insured with the correct postage; AGM Global Vision will not be responsible for improper postage or merchandise that becomes lost or damaged during shipment. When sending product back, please clearly write the RMA# on the outside of the shipping box. Please include a letter that indicates your RMA#, the Customer’s Name, a Return Address, reason for the return, contact information (valid telephone numbers and/or an e-mail address), and proof of purchase that will help us to establish the valid start date of the warranty. Product merchandise returns that do not have an RMA# listed may be refused, or a significant delay in processing may occur. Estimated Warranty service time is 10-20 business days. The End-user/Customer is responsible for postage to AGM Global Vision for warranty service. AGM Global Vision will cover return postage/shipping after warranty repair to the End-user/Customer only if the product is covered by the aforementioned warranty. AGM Global Vision will return the product after warranty service by domestic UPS Ground service and/or domestic mail. Should any other requested, required, or international shipping methods be necessary, the postage/shipping fee will be the responsibility of the End-user/Customer.
For service, repair or replacement, please contact:
AGM Global Vision, LLC
173 West Main Street
PO Box 962
Springerville, AZ 85938
Tel. 928.333.4300
[email protected]
www.agmglobalvision.com
SPECIFICATIONS OF THE PRODUCT
| StingIR-384 | StingIR-640 | |
| Detector Type | 12 μm Uncooled VOx Microbolometer | 12 μm Uncooled VOx Microbolometer |
| Resolution | 384×288 | 640×480 |
| Refresh Rate | 50 Hz | 50 Hz |
| Lens (Focal Length) | 16 mm | 27 mm |
| Aperture | F1.3 | F1.1 |
| Field of View | 16.3° × 12.3° (H × V) | 16.3° × 12.3° (H × V) |
| Magnification | 1× | 1× |
| Detection Range (Human Target) | 730 m | 1200 m |
| Exit Pupil Diameter | 12 mm | 12 mm |
| Exit Pupil Distance | 20 mm | 20 mm |
| Diopter Adjustment Range | -5 to +5 dpt | -5 to +5 dpt |
| Digital Zoom | 1×, 2×, 4× | 1×, 2×, 4×, 8× |
| Monitor | 1024×768 OLED | 1024×768 OLED |
| Palettes | WhiteHot, BlackHot, OrangeHot, Rainbow | WhiteHot, BlackHot, OrangeHot, Rainbow |
| Application Scenarios | Default, Outdoor, Arctic, or Rainforest | Default, Outdoor, Arctic, or Rainforest |
| FFC (Flat Field Correction) | Auto (1 to 10 min. interval) or Manual | Auto (1 to 10 min. interval) or Manual |
| Digital Compass | Yes | Yes |
| Digital Inclinometer | Yes (Pitch angle and Roll angle) | Yes (Pitch angle and Roll angle) |
| PIP | Yes | Yes |
| Crosshair | Display On/Off; Position adjustment; Selection of White, Black, or Green color | Display On/Off; Position adjustment; Selection of White, Black, or Green color |
| Analog Video Output | PAL video output via USB port | PAL video output via USB port |
| Battery Type | One CR123A(3V) or RCR123(3.7V) or 18650(4.2V) | One CR123A(3V) or RCR123(3.7V) or 18650(4.2V) |
| Battery Operating Time (20°C) | CR123A – up to 2 hours RCR123 – up to 3h 18650 – up to 5h | CR123A – up to 2 hours RCR123 – up to 3h 18650 – up to 5h |
| USB Type-C Interface | Power input / USB-RS232 / PAL video output | Power input / USB-RS232 / PAL video output |
| External Power | 5 VDC/2 A, 1.5 W | 5 VDC/2 A, 1.5 W |
| Working Temperature | -10°C to 60°C (-4°F to 122°F) | -20°C to 50°C (-4°F to 122°F) |
| Protection Level | IP67 | IP67 |
| Dimension | 140 × 70 × 50 mm (5.5 × 2.4 × 2.0 in) | 140 × 70 × 50 mm (5.5 × 2.4 × 2.0 in) |
| Weight | 200 g (7.0 oz) | 220 g (7.8 oz) |
- All data subject to change without notice.
AGM Global Vision, LLC
MAIN OFFICE
173 West Main Street
PO Box 962
Springerville, AZ 85938 USA
Tel. +1.928.333.4300
[email protected]
www.agmglobalvision.com
EUROPEAN OFFICE
#6 Andrey Lyapchev Blvd
Sofia, P.C. 1756
Bulgaria
Tel. +35.988.412.5573
[email protected]
www.agmglobalvision.eu
AGMglobalvision.com
References
AGM Global Vision: Night Vision and Thermal Imaging Equipment for Law Enforcement, Hunting, Outdoor and Military Gear
AGM Global Vision: Night Vision and Thermal Imaging Equipment for Law Enforcement, Hunting, Outdoor and Military Gear
Customer Support - AGM Global Vision
AGM Globalvision: Night Vision and Thermal Imaging Equipment for Law Enforcement, Hunting, Outdoor and Military Gear
HOME




















