LANDI 59867.01 72575 Table Lamp LED

Mounting instructions

Safety directions
Please read this information carefully before installing or using this product. Please keep this user manual for further reference.
- The manufacturer does not accept any responsibility for injuries or damage resulting from improper use of the light.
- The light has a protection rating of “IP20” and is solely intended for indoor use in private households.
- Maintenance of the lights is limited to the surfaces. When doing this, no moisture must come into contact with any areas of the terminal connections or mains voltage control parts.

- Do not use any solvents, petrol or the like to clean the product. Use only a dry, lint-free cloth for cleaning.
- To completely disconnect the product from the power supply, the plug-in power adaptor must be removed from the mains socket.
- Always unplug the power supply unit from the mains socket before mounting, disassembling, cleaning, or when not using the product for a period of time
- Make sure that no cables get damaged during the installation work.
- Do not use the supply cord as a carrying handle. Do not bend the supply line and do not place it over sharp edges.
- Place the lamp on horizontal surfaces only.
- The product conforms to protection class II and therefore must not be connected to protective grounding. The lamp may only be used with the enclosed plug-in power supply unit.

- Never open any of the electrical equipment or insert any objects into it. Such tampering may result in danger to life from electric shock.
- The light source of this lamp is not replaceable. When the light source reaches the end of its operational life, the entire lamp must be replaced.
- LED colour deviations when using different charges may occur. The light colour and luminous intensity of the LEDs may also change depending on their service life.
- Never look directly into the light source (lamp, LED, etc.).
- Do not cover the lamp or the plug-in power adaptor unit with objects. Excessive heat generation may cause fire.
- This luminaire is not suitable for dimmers and electronic switches.
- The lamp may only be dimmed and switched in the corresponding designated areas on the product.
- The symbol of the crossed-out garbage can on the product or the packaging means that the product must not be disposed with ordinary household waste. At the end of its useful life, the product must be returned to a point of acceptance for the recycling of electric and electronic device. Please ask your local municipality for the point of acceptance.

Assembly
Carefully remove all parts of the product from the packaging. Remove all protective material.
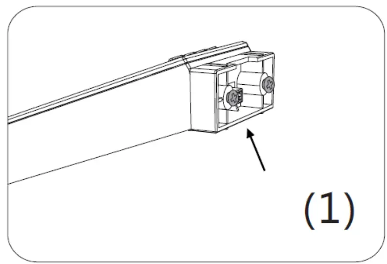
- Remove the two screws from the bottom of the light, see fig. (1).

2. Place the lamp on the base as shown in fig. (2).
3. Screw the lamp base tightly with the two screws from below, see fig. (3).
Make sure that it is correctly seated.
4. Position the lamp near a power outlet and on a horizontal surface.
5. Connect the plug-in power supply unit to the base of the light.
6. Plug the power supply unit into a properly installed socket.
Your light is now ready for operation.
Note: The lamp head position cannot be change
Operation and functions
Press the ON/OFF button to switch the light on or off.
The following settings can be made with the function keys:
HIGH = stepless dimming (increase brightness)
LOW = stepless dimming (decrease brightness)
CCT = adjust color temperature in 3 steps
Note: The light is equipped with a memory function. When switched on, the last selected setting is activated.
The following settings can be made with the control buttons directly below the display:
button M = switch between display for time and alarm clock
button S = confirm settings
button
= set the next higher value / switch between 12h and 24 h display
button
= set the next lower value / switch between °C and °F display
Set time / date
Press the M button until the symbol
appears in the LC display.
Press the S button. The hour display and the symbol
flash.
Press the buttons
and
to make the settings for the hour display and press the S button again. The minute display and the symbol flash.
Now make the further settings for Minute / Year / Month / Day using the
and
buttons and confirm each setting by pressing the S button.
Note: the symbol stops flashing when the settings are completed.
Press the button M until the symbol
appears in the LC display.
Note: The display in the LC display alternates between time
und alarm
. If the alarm is selected, but no settings are made, the LC display
will switch back to time display after approx. 60 seconds.
Press the button S. The hour display and the symbol
flash.
Use the
and
buttons to set the hour and press the button S again. The minute display and the symbol
flash.
Use the
and
buttons to set the minutes and press the button S again. The snooze duration indicator and the symbol
flash.
Use the
and
buttons to set the snooze time between 1 to 60 minutes and press the button S again. The number of the alarm tone flashes at the bottom of the LC displays.
Use the keys
and
to select one of the 8 available alarm tones.
Note: When the settings for the alarm tone have been completed, the symbol lights
up constantly in the LC display.
Activate / deactivate alarm / snooze function
Press the button M until the symbol
appears in the LC display.
Press the button
. The symbols
and
are shown in the LC display. The previously set alarm is now activated.
Now press the button
or
. The symbols
,
and
are now shown in the LC display. The previously set snooze function is now activated.
Note: To deactivate the alarm and the snooze function, press the
or
button. The previously displayed symbols
,
and
disappear from the LC display.
Note: The wake-up alarm lasts for approx. 1 minute.
Switch off alarm / snooze function
Alarm without snooze function:
If the snooze function is not activated, press one of the 4 function keys to turn off the alarm.
IMPORTANT: The alarm is still activated for the following day.
Alarm with snooze function:
If the snooze function is activated, the alarm will start again (max. three times) after the set snooze function has elapsed.
Press the button M until the symbol
appears in the LC display.
Now press the button
or
until the symbols
and
disappear to switch off the alarm with snooze function.
IMPORTANT: The alarm is now also deactivated for the following day.
Switch between 12h and 24h display
Press the button M until the symbol
appears in the LC display.
Press the button
. The hour display in the LC display switches between the 12h and 24h display formats.
Note: In the 12h display format, „PM“ appears before the time to indicate afternoon hours
Temperature display setting
Press the button M until the symbol
appears it the LC display.
Press the button
. The temperature display in the LC display switches between °C (Celsius) and °F (Fahrenheit).
Technical data
Product number: 59867.01 / 72575
Operating voltage (power supply): 100-240V~, 50/60 Hz
Operating voltage (lamp): 230-240V~, 50 Hz
Protection class (power supply): II
Protection class (lamp): II
Light source: LED 4.2W, non-replaceable
Protection rating: IP20























