Magnetic Field Tester MS-410
Item No. 2181382
Instruction Manual
Intended Use
The magnetic field tester is intended for detecting constant and alternating magnetic fields. The Tester is ideal for testing the functioning of inductors carrying currents, such as relays, magnetic valves, etc. The tester works with any contacts and, therefore, it is normally not necessary to open the casing. When a magnetic field is detected, the test tip starts to flash. A permanent test magnet, to test the functioning, is included in the delivery.
Additionally, the tester has an integrated LED lamp.
The magnetic field tester is powered by two micro-batteries. Do not use any other power source.
It is intended for indoor use only. Do not use it outdoors. Contact with moisture, e.g. in bathrooms, must be avoided under all circumstances.
For safety and approval purposes, you must not rebuild and/or modify this product. If you use the product for purposes other than those described above, the product may be damaged. In addition, improper use can result in short circuits, fires, electric shocks or other hazards. Read the instructions carefully and store them in a safe place. Make this product available to third parties only together with its operating instructions.
This product complies with the statutory national and European requirements. All company names and product names are trademarks of their respective owners. All rights reserved.
Delivery Content
- Magnetic field tester
- Operating instructions
Up-to-date Operating Instructions
Download the latest operating instructions at www.conrad.com/downloads or scan the QR code shown. Follow the instructions on the website.
http://www.conrad.com/downloads
Explanation of Symbols
The symbol with the lightning in the triangle is used if there is a risk to your health, e.g. due to an electric shock.
The symbol with the exclamation mark in the triangle is used to indicate important information in these operating instructions. Always read this information carefully.
→ The arrow symbol indicates special information and advice on operation.
Safety Instructions
![]()
Read the operating instructions carefully and especially observe the safety information. If you do not follow the safety instructions and information on proper handling in this manual, we assume no liability for any resulting personal injury or damage to property. Such cases will invalidate the warranty/ guarantee.
a) General Information
- The device is not a toy. Keep it out of the reach of children and pets.
- Do not leave packaging material lying around carelessly. This may become dangerous playing material for children.
- Protect the appliance from extreme temperatures, direct sunlight, strong jolts, high humidity, moisture, flammable gases, steam and solvents.
- Do not place the product under any mechanical stress.
- If it is no longer possible to operate the product safely, take it out of operation and protect it from any accidental use. Safe operation can no longer be guaranteed if the product:
– is visibly damaged,
– is no longer working properly,
– has been stored for extended periods in poor ambient conditions or
– has been subjected to any serious transport-related stresses. - Please handle the product carefully. Jolts, impacts or a fall even from a low height can damage the product.
- Extra care should be taken when using the device for the first time. Therefore, please follow the operating instructions carefully.
- Only hold the magnetic field tester by its handles. Never take hold of the device beyond the raised markings on the handles.
- The device contains magnetic components. Keep these parts away from people with sensitive implants (e.g. cardiac pacemakers, etc.).
- Apart from opening the battery compartment lid, the the magnetic field tester’s casing must not be taken apart.
- Keep the magnetic field tester clean and store it in suitable place.
- Consult an expert when in doubt about the operation, safety or connection of the appliance.
- Maintenance, modifications and repairs must only be completed by a technician or an authorised repair centre.
- If you have questions which remain unanswered by these operating instructions, contact our technical support service or other technical personnel.
b) Connected Devices
- Also observe the safety and operating instructions of any other devices which are connected to the product.
c) (Rechargeable) Batteries
- Correct polarity must be observed while inserting the (rechargeable) battery.
- The (rechargeable) batteries should be removed from the device if it is not used for a long period of time to avoid damage through leaking. Leaking or damaged (rechargeable) batteries might cause acid burns when in contact with skin, therefore use suitable protective gloves to handle corrupted (rechargeable) batteries.
- (Rechargeable) batteries must be kept out of reach of children. Do not leave (rechargeable) batteries lying around, as there is risk, that children or pets swallow them.
- All (rechargeable) batteries should be replaced at the same time. Mixing old and new (rechargeable) batteries in the device can lead to (rechargeable) battery leakage and device damage.
- Rechargeable batteries must not be dismantled, short-circuited or thrown into fire. Never recharge nonrechargeable batteries. There is a risk of explosion!
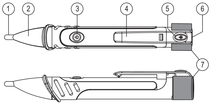
Operating Elements

| 1 Testing tip 2 Check indicator 3 Measuring button 4 Attachment clip | 5 Switch for LED lamp 6 LED lamp and integrated battery compartment 7 Permanent test magnet for function test |
Inserting/Replacing the Batteries
For the initial commissioning, and when the tester or the LED lamp do not work any longer, the batteries must be replaced. 2 batteries are enclosed with the tester.
Proceed as follows, to insert or replace the batteries:
- Carefully press down the bar, between the attachment clip (4) and the switch for the LED lamp (5), and pull the battery compartment (6) backwards from the tester.

- Insert two micro-batteries (AAA) into the battery compartment. Pay attention to the polarity indication in the battery compartment. Use alkaline batteries, as they guarantee a longer running time.
- Close the battery compartment again, carefully.
Operation
Before each measurement, check the magnetic field tester is functioning by using the enclosed test magnet.
a) Function Test
Check the correct functioning of the magnetic field tester prior to each test. For this, a permanent magnet is provided for testing.
- Slide the magnet (7) from the back of the device.
- Press the test key (3) and hold it during the test period.
- Move the magnet to the front of the test tip.
- The check indicator (2) must flash. If this is not the case, check the batteries and, if necessary, replace them.
- When the test key is released, the tester is turned off. Attach the magnet to the tester again.
b) Test Mode
- Press the test key (3) and hold it down during the test period.
- Place the test tip by the object that you wish to test.
- The test tip (2) lights up when a magnetic field has been detected. If the display lightens up briefly, this might be caused by adjoining components.
- When the test key is released, the tester is turned off.
c) LED Torch
- Press the switch (5) until it clicks into place. The LED lamp (6) on the back of the tester lights.
- To turn off, press the switch again. The lamp is turned off.
- Always switch off the LED lamp after use, otherwise the batteries are discharged too soon.
Care and Cleaning
- The tester is maintenance-free, apart from the need to replace the batteries and occasional cleaning.
- Do not use any aggressive cleaning agents, rubbing alcohol or other chemical solutions as they can cause damage to the housing and malfunctioning.
- Clean the product with a dry, fibre-free cloth.
- Periodically, check the technical safety of the tester.
- Do not try to open the casing, apart from the battery compartment.
Disposal
a) Product
This symbol must appear on any electrical and electronic equipment placed on the EU market. This symbol indicates that this device should not be disposed of as unsorted municipal waste at the end of its service life.
Owners of WEEE (Waste from Electrical and Electronic Equipment) shall dispose of it separately from unsorted municipal waste. Spent batteries and accumulators, which are not enclosed by the WEEE, as well as lamps that can be removed from the WEEE in a non-destructive manner, must be removed by end users from the WEEE in a non-destructive manner before it is handed over to a collection point.
Distributors of electrical and electronic equipment are legally obliged to provide free take-back of waste. Conrad provides the following return options free of charge (more details on our website):
- in our Conrad offices
- at the Conrad collection points
- at the collection points of public waste management authorities or the collection points set up by manufacturers or distributors within the meaning of the ElektroG
End users are responsible for deleting personal data from the WEEE to be disposed of.
It should be noted that different obligations about the return or recycling of WEEE may apply in countries outside of Germany.
b) (Rechargeable) batteries
Remove batteries/rechargeable batteries, if any, and dispose of them separately from the product. According to the Battery Directive, end users are legally obliged to return all spent batteries/rechargeable batteries; they must not be disposed of in the normal household waste.
Batteries/rechargeable batteries containing hazardous substances are labelled with this symbol to indicate that disposal in household waste is forbidden. The abbreviations for heavy metals in batteries are: Cd = Cadmium, Hg = Mercury, Pb = Lead (name on (rechargeable) batteries, e.g. below the trash icon on the left).
Used (rechargeable) batteries can be returned to collection points in your municipality, our stores or wherever (rechargeable) batteries are sold. You thus fulfil your statutory obligations and contribute to environmental protection.
Batteries/rechargeable batteries that are disposed of should be protected against short circuit and their exposed terminals should be covered completely with insulating tape before disposal.
Even empty batteries/rechargeable batteries can contain residual energy that may cause them to swell, burst, catch fire or explode in the event of a short circuit.
Technical Data
Input voltage / current ……………….. 2 x alkaline micro batteries (AAA)
Power consumption ………………… approx. 32 mA
Protection class …………………….. 2 (double or reinforced insulation)
Magnetic fields …………………………… AC, DC (also permanent magnets)
Detectable inductance (H = Henry) …….. 63 H, 98 H, 401 H, 810 H
Operating conditions ………………….. -10 to +50 °C, <95% RH (non-condensing)
Storage conditions ……………………. -10 to +50 °C
Operating altitude ……………………… max. 3000 m
Weight ……………………………… 48 g
This is a publication by Conrad Electronic SE, Klaus-Conrad-Str. 1, D-92240 Hirschau (www.conrad.com). All rights including translation reserved.
Reproduction by any method, e.g. photocopy, microfilming, or the capture in electronic data processing systems require the prior written approval by the editor.
Reprinting, also in part, is prohibited. This publication represent the technical status at the time of printing. Copyright 2022 by Conrad Electronic SE.
*2181382_v2_1222_02_dh_m_en




















