![]()
Blomberg BOTR30102SS Over The Range Microwave Oven
MOUNTING SPACE
Please read all instructions thoroughly before installing the Over Range Microwave Oven. Two people are recommended to install this product. If a new electrical outlet is required this must be completed by a qualified electrician before the Over-the-range microwave oven is installed. See ELECTRICAL GROUNDING INSTRUCTIONS. This oven requires mounting space on a wall as shown in Figure 1. For proper installation and servicing, a 2 in/ 51 mm space is necessary between the top of the range backsplash and the bottom of the oven.
WALL CONSTRUCTION
This Over-the-range microwave oven should be mounted against and supported by a flat vertical wall. The wall must be flat for proper installation. If the wall is not flat, use spacers to fill in the gaps.
Wall construction should be a minimum of 2 in x 4 in (51 mm x 102 mm) wood studding and 3⁄8 in (10 mm) or more thick drywall or plaster/lath. The mounting surfaces must be capable of supporting weight of 110 lb (50 kg)—the oven and contents and the weight of all items which would normally be stored in the top cabinet above the unit. The unit should be attached to a minimum of one 2 in x 4 in (51 mm x 102 mm) wall stud. To find the location of the study, one of the following methods may be used:
- Use a stud finder, a magnetic device that locates the nails in the stud.
- Use a hammer to tap lightly across the mounting surface to find a solid sound. This will indicate stud location.
The center of the stud can be located by probing the wall with a small nail to find the edges of the stud and then placing a mark halfway between the edges. The center of any adjacent studs will normally be 16 in (406.4 mm) or 24 in (610 mm) to either side of this mark. If the unit is unable to be supported by a stud, toggle bolts and top cabinet screws will need to be placed, see details in the WALL TEMPLATE. The top cabinet should be tested to ensure it is securely attached to the wall. Place extra weight up to 110 lb (50 kg) inside the top cabinet to test the support.
ELECTRICAL GROUNDING INSTRUCTIONS
This appliance must be grounded. This oven is equipped with a cord having a grounding wire with a grounding plug. It must be plugged into a wall receptacle that is properly installed and grounded in accordance with the National Electrical Code and local codes and ordinances. In the event of an electrical short circuit, grounding reduces risk of electric shock by providing an escape wire for the electric current.
WARNING – Improper use of the grounding plug can result in a risk of electric shock. The oven is equipped with a 3-prong grounding plug. DO NOT UNDER ANY CIRCUMSTANCES CUT OR REMOVE THE GROUNDING PIN FROM THE PLUG. The Power Supply Cord and plug must be connected to a dedicated 120 Volt AC, 60 Hz, 15 Amp, or branch circuit, single grounded receptacle. The receptacle should be located inside the cabinet directly above the Over the range microwave oven mounting location.
NOTE:
- If you have any questions about the grounding or electrical instructions, consult a qualified electrician or serviceperson.
- No liability can be accepted for damage to the oven or personal injury resulting from failure to observe the correct electrical connection procedures.
HOOD EXHAUST DUCT
When the hood is vented to the outside, a hood exhaust duct is required. All ductwork must be metal; do not use plastic ducts. Check that all connections are secure. Please read the following carefully:
Exhaust connection
The hood exhaust has been designed to connect to a standard 3 1⁄4 in x 10 in (82.5 mm x 254 mm) rectangular duct. If a round duct is required, a rectangular-to-round adapter must be used.
Rear exhaust
If a rear or horizontal exhaust is to be used, care should be taken to align the exhaust with the space between the studs, or the wall should be prepared at the time it is constructed by leaving enough space between wall studs to accommodate the exhaust.
Maximum duct length
For satisfactory air movement, the total duct length of 3 1⁄4 in x 10 in (82.5 mm x 254 mm) rectangular or 6 in (152 mm) diameter round duct should not exceed 140 feet (42.67 meters).
Elbows, adapters, wall, and roof caps. present additional resistance to airflow and are equivalent to a section of the straight duct which is longer than their actual physical size. When calculating the total length, add the equivalent lengths of all transitions and adapters plus the length of all straight duct sections. Figure 4 shows the approximate feet of equivalent length of some typical ductwork parts.
Use the values in parentheses for calculating airflow resistance equivalent, which should total less than 140 feet (42.67 meters).
TOOLS RECOMMENDED FOR INSTALLATION
- Phillips screwdriver
- Electric drill
- 1 1 ⁄2 in (38 mm) wood bit or metal hole cutter (if metal cabinet is used)
- 1⁄2 in (12.7 mm), 5⁄8 in (15.8 mm) and 3⁄32 in (2.3 mm) drill bits
- Scissors
- Pencil
- Tape
- Measure tape
- Saw to cut exhaust opening (if needed)
- Protective drop cloth for product and range—you may also use carton for protection
INSTALLATION HARDWARE
The following is a list of parts you may need for installing your Over-the-range microwave oven. You will find the installation hardware contained in a packet with the unit. Check to make sure you have all these parts.
VENTILATION SYSTEM
This Over-the-range microwave oven is designed for adaptation to three types of hood ventilation systems. Select the type required for your installation.
Recirculating: Non-vented ductless operation
The unit is shipped assembled for recirculating.
NOTE:
- The exhaust damper assembly is not required for recirculating operation.
- The charcoal filter should be replaced every 6 months, depending on use.
- The charcoal filter is also sold as an accessory. See User Manual for ordering information.
Horizontal ventilation system









- Remove the screws (1) and (2) for opening the blower motor cover and save screws. Remove cover. See Figure 6.
- Remove the screws (3) for blower attachment and save screws. See Figure 7.
- Lift blower unit out of mounting location. See Figure 8.
CAUTION: Do not pull or stretch blower wiring.
- Turn the blower unit so that the fan blade openings are facing back (rear of unit). See Figure 9.
CAUTION: Wires to the blower unit must be routed properly to avoid pinching wires before reinstallation of the cover plate.
- Use side cutters or tin snips to cut and remove parts B from the backplate. Be careful not to distort the plate. See Figure 10.
- Place the blower unit into the opening and secure it to the oven with the screws (3) from step 2. See Figure 11.
- Carefully match the exhaust opening location of the microwave and attach the damper to the rear plate by sliding it into the guides at the rear plate. See Figures 12, 13.
- Ensure that the damper hinge is on the top and the damper swings freely into the wall outlet.
Vertical ventilation system
A-1 Ventilation motor. See Section B, steps 1 and 2 for access to the blower motor. Also see Figure 8.
- Turn the blower unit so that the fan blade openings are facing upward. See Figure 14.
- Place the blower unit into the opening. Secure the case blow fan top, the blower motor, and cover to the microwave oven with the screw (1, 2 and 3) from steps 1 and 2. See Figure 15.
- Carefully match the exhaust opening location of the microwave and attach the damper to the blower motor cover by sliding it into the guides at the blower motor cover. See Figures 16, 17.
- Ensure that the damper hinge is on the front and the damper swings free into the wall outlet.
OVEN INSTALLATION
Mounting plate
This oven cannot be properly installed without referring to the mounting instructions found on both templates. Read and follow mounting information on both the top cabinet template and wall template.
Setup position
- Draw a line down the middle of the studs. See the Wall Construction, page 4.
- Draw a vertical line on the wall at the center of the 30 in wide space. See Figure 18.
NOTE: use the wall template for the rear wall. Reference wall template prior to proceeding. Installation of this product requires 2 people.
Drilling
- Reference the wall template.
Tightening the screws
To attach the mounting plate to the wall using the toggle bolt assemblies and/or lag screws:
- Insert toggle bolts through the mounting plate at required locations and add the spring-loaded toggles. See Figure 19. Ensure you leave space at least the thickness of the wall between the mounting plate and the end of the toggle nut, (in closed position). If you do not leave this space, the toggle nut will not open on the other side of the wall.
- Position mounting plate on the wall and insert toggle bolt assemblies through the drywall holes or start the lag-screw(s) through the wall stud(s). See Figure 20.
- Secure the mounting plate to the wall by tightening the toggle bolt assemblies or lag screw(s). See Figure 21.
- Drill 3⁄16 in (4.7 mm) diameter lag screw hole(s), into one or more wall studs. You must have at least one lag screw into a wall stud. For stud, location refer to Wall Construction.
- Tighten the lag screw(s) into wall stud(s).
MOUNTING OVEN TO THE WALL


IMPORTANT: Do not grip or use the handle during installation.
Preparation of top cabinet
You need to drill holes for the top support screws and a hole large enough for the power cord to fit through.
- Read the instructions on the top cabinet template
- Tape it underneath the top cabinet
- Drill the holes, following the instructions on the template.
NOTE: the top cabinet template must be taped to the underside of the top cabinet before proceeding with the installation.
- Protect the top of your range by placing a portion of the carton or some other heavy material over the cooking surface before mounting your oven.
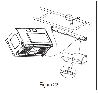
- Lift the microwave oven and tilt it forward. Hang the unit on two tabs at the bottom of the mounting plate. See Figure 22.
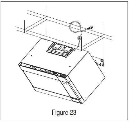
- Thread power cord through the hole at the bottom of the top cabinet. Swing the unit upward to meet the top of the mounting plate and hold it securely. See Figure 23.
- Then insert a bolt down through each hole in the upper cabinet bottom. Tighten the bolts until the gap between the upper cabinet and the microwave oven is closed. See Figure 24.
CONNECTING DUCTWORK
- Extend the house duct down to connect to the exhaust adapter. Seal exhaust duct joints using duct tape. See Figure 25.
- Install the grease filters. Refer to the User Manual for installation steps.
- Plugin the power cord.
CHECKLIST FOR OPERATION
- Make sure the unit has been installed according to all of the installation instructions, the top cabinet template, and the wall template.
- Remove all packing material from the oven.
- Plugin the power cord.
- Read the User Manual.
- Keep this Installation Manual for the local electrical inspector’s use.










































