LORD F4 Drawer Freezer with Volume 87 Litre User Manual
Safety information
In the interest of your safety and to ensure the correct use, before installing and first using the appliance, read this user manual carefully, including its hints and warnings.
To avoid unnecessary mistakes and accidents, it is important to ensure that all people using the appliance are thoroughly familiar with its operation and safety features. Save these instructions and make sure that they remain with the appliance if it is moved or sold, so that everyone using it through its life will be properly informed on appliance use and safety.
For the safety of life and property keep the precautions of these user’s instructions as the manufacturer is not responsible for damages caused by omission.
Children and vulnerable people safety
- This appliance can be used by children aged from 8 years and above and persons with reduced physical, sensory or mental capabilities or lack of experience and knowledge if they have been given super vision or instruction concerning use of the appliance in a safe way and understand the hazards involved.
- Children aged from 3 to 8 years are allowed to load and unload this appliance.
- Children should be supervised to ensure that they do not play with the appliance.
- Cleaning and user maintenance shall not be made by children unless they are aged from 8 years and above and supervised.
- Keep all packaging well away from children. There is risk of suffocation.
- If you are discarding the appliance pull the plug out of the socket, cut the connection cable (as close to the appliance as you can) and remove the door to prevent playing children to suffer electric shock or to close themselves into it.
- If this appliance featuring magnetic door seals is to replace an older appliance having a spring lock (latch) on the door or lid, be sure to make that spring lack unusable before you discard the old appliance. This will prevent it from becoming a death trap for a child.
General safety
WARNING! Keep ventilation openings, in the appliance enclosure or in the built‑in structure, clear of obstruction.
WARNING! Do not use mechanical devices or other means to accelerate the defrosting process, other than those recommended by the manufacturer.
WARNING! Do not damage the refrigerant circuit.
WARNING! Do not use other electrical appliances (such as ice cream makers) inside of refrigerating appliances, unless they are approved for this purpose by the manufacture.
WARNING! Do not touch the light bulb if it has been on for a long period of time because it could be very hot. 1)
WARNING! When positioning the appliance, ensure the supply cord is not trapped or damaged.
WARNING! Do not locate multiple portable socket‑outlets or portable power suppliers at the rear of the appliance.
- Do not store explosive substances such as aerosol cans with a flammable propellant in this appliance.
- The refrigerant isobutane (R-600a) is contained within the refrigerant circuit of the appliance, a natural gas with a high level of environmental compatibility, which is nevertheless flammable.
- During transportation and installation of the appliance, be certain that none of the components of the refrigerant circuit become damaged.
- avoid open flames and sources of ignition
- thoroughly ventilate the room in which the appliance is situated
- It is dangerous to alter the specifications or modify this product in any way. Any damage to the cord may cause a short circuit, fire and/or electric shock.
- This appliance is intended to be used in household and similar applications such as
- staff kitchen areas in shops, offices and other working environments;
- farm houses and by clients in hotels, motels and other residential type environments;
- bed and breakfast type environments;
- catering and similar non‑retail applications.
WARNING! Any electrical components (plug, power cord, compressor and etc.) must be replaced by a certified service agent or qualified service personnel.
WARNING! The light bulb supplied with this appliance is a „special use lamp bulb“ usable only with the appliance supplied. This „special use lamp“ is not usable for domestic lighting. 1)
- Power cord must not be lengthened.
- Make sure that the power plug is not squashed or damaged by the back of the appliance. A squashed or damaged power plug may overheat and cause a fire.
- Make sure that you can come to the mains plug of the appliance.
- Do not pull the mains cable.
- If the power plug socket is loose, do not insert the power plug. There is a risk of electric shock or fire.
- You must not operate the appliance without the lamp.
- This appliance is heavy. Care should be taken when moving it.
- Do not remove nor touch items from the freezer compartment if you hands are damp/wet, as this could cause skin abrasions or frost/freezer burns.
- Avoid prolonged exposure of the appliance to direct sunlight.
Daily use
- Do not put hot on the plastic parts in the appliance.
- Do not place food products directly against the rear wall.
- Frozen food must not be re‑frozen once it has been thawed out. 1)
- Store pre‑packed frozen food in accordance with the frozen food manufacture·s instructions. 1)
- Appliance’s manufactures storage recommendations should be strictly adhered to. Refer to relevant instructions.
- Do not place carbonated of fizzy drinks in the freezer compartment as it creates pressure on the container, which may cause it to explode, resulting in damage to the appliance. 1)
- Ice lollies can cause frost burns if consumed straight from the appliance. 1)
- To avoid contamination of food, please respect the following instructions.
- Opening the door for long periods can cause a significant increase of the temperature in the compartments of the appliance.
- Clean regularly surfaces that can come in contact with food and accessible drainage systems.
- Clean water tanks if they have not been used for 48 h; flush the water system connected to a water supply if water has not been drawn for 5 days.
- Store raw meat and fish in suitable containers in the refrigerator, so that it is not in contact with or drip onto other food.
- Two‑star frozen‑food compartments (if they are presented in the appliance) are suitable for storing pre‑frozen food, storing or making ice‑cream and making ice cubes.
- One-, two- and three -star compartments (if they are presented in the appliance) are not suitable for the freezing of fresh food.
- If the appliance is left empty for long periods, switch off, defrost, clean, dry and leave the door open to prevent mount developing within the appliance.
Care and cleaning
- Before maintenance, switch off the appliance and disconnect the mains plug from the mains socket.
- Do not clean the appliance with metal objects.
- Do not use sharp objects to remove frost from the appliance. Use a plastic scraper. 1)
- Regularly examine the drain in the refrigerator for defrosted water. If necessary, clean the drain. If the drain is blocked, water will collect in te bottom of the appliance. 2)
Installation
IMPORTANT! For electrical connection carefully follow the instructions given in specific paragraphs.
- Unpack the appliance and check if there are damages on it. Do not connect the appliance if it is damaged. Report possible damages immediately to the place you bought it. In that case retain packing.
- It is advisable to wait at least four hours before connecting the appliance to allow
the oil to flow back in the compressor. - Adequate air circulation should be around the appliance, lacking this leads to overheating. To achieve sufficient ventilation follow the instructions relevant to installation.
- Wherever possible the spacers of the product should be against a wall to avoid
touching or catching warm parts (compressor, con‑denser) to prevent possible burn. - The appliance must not be located close to radiators or cookers.
- Make sure that the mains plug is accessible after the installation of the appliance
Service
- Any electrical work required to do the servicing of the appliance should be carried out by a qualified electrician or competent person.
- This product must be serviced by an authorized Service Center, and only genuine spare parts must be used.
Energy saving
- Don’t put hot food in the appliance;
- Don’t pack food close together as this prevents air circulating;
- Make sure food don’t touch the back of the compartment(s);
- If electricity goes off, don’t open the door(s);
- Don’t open the door(s) frequently;
- Don’t keep the door(s) open for too long time;
- Don’t set the thermostat on exceeding cold temperatures;
- All accessories, such as drawers, shelves balconies, should be kept there for lower energy consumption.
Environment Protection
This appliance does not contain gasses which could damage the ozone layer, in either its refrigerant circuit or insulation materials. The appliance shall not be discarded together with the urban refuse and rubbish. The insulation foam contains flammable gases: the appliance shall be disposed according to the appliance regulations to obtain from your local authorities. Avoid damaging the cooling unit, especially the heat exchanger. The materials used on this appliance marked by the
symbol are recyclable.
The symbol on the product or on its packaging, U indicates that this product may not be treated as household waste. Instead it should be taken to the appropriate collection point for the recycling of electrical and electronic equipment. By ensuring this product is disposed of correctly, you will help prevent potential negative consequences for the environment and human health, which could otherwise be caused by inappropriate waste handling of this product. For more detailed information about recycling of this product, please contact your local council, your household waste disposal service or the shop where you purchased the product.
Packaging materials
The materials with the symbol are recyclable.
Dispose the packaging in a suitable collection containers to recycle it.
Disposal of the appliance
- Disconnect the mains plug from the mains socket.
- Cut off the mains cable and discard it.)
WARNING! During using, service and disposal the appliance, please pay attention to symbol similar as left side, which is located on rear of appliance (rear panel or compressor) and with yellow or orange color.
It’s risk of fire warning symbol. There are flammable materials in refrigerant pipes and compressor.
Please be far away fire source during using, service and disposal.
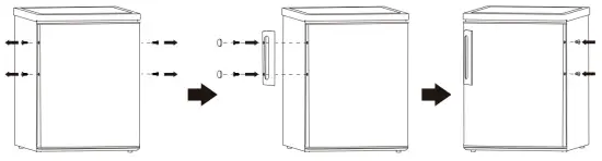
Reverse Door

Overview
Tool required: Philips screwdriver, Flat bladed screwdriver, Hexagonal spanner.
- Ensure the unit is unplugged and empty.
- To take the door off, it is necessary to tilt the unit backwards. You should rest the unit on something solid so that it will not slip during the door reversing process.
- All parts removed must be saved to do the reinstallation of the door.
- Do not lay the unit flat as this may damage the coolant system.
- It’s better that 2 people handle the unit during assembly
- Remove two screws at rear side of top cover.

- Remove top cover and thermostat knob, then place it aside.

- Unscrew top hinge and then remove door and place it on a soft pad to avoid scratch.

- Unscrew bottom hinge. Then remove the adjustable feet from both side.

- Unscrew and remove the bottom hinge pin, turn the bracket over and replace it.

- Refit the bracket fitting the bottom hinge pin. Replace both adjustable feet.

- Detach the Fridge and the Freezer door gaskets and then attach them after rotating.

- Place the door back on. Ensure the door is aligned horizontally and vertically, so that the seals are closed on all sides before finally tightening the top hinge.

- Put the top cover and fix it with 2 screws on the back.

Installation
Install door handle
Depends on models and its equipment
Space Requirement
- Keep enough space of door open.
- It is advisable to keep at least 50 mm gap at two sides.
A 550 B 580 C 850 D min= 0 E min=50 F G 1100 H 1130 
Leveling the unit
To do this adjust the two levelling feet of the unit.
If the unit is not level, the doors and magnetic seal alignments not be covered properly.

Daily Use
Positioning
Install this appliance at a location where the ambient temperature corresponds to the climate class indicated on the rating plate of the appliance:
For refrigerating appliances with climate class:
- extended temperate: this refrigerating appliance is intended to be used at ambient temperatures ranging from 10 °C to 32 °C (SN);
- temperate: this refrigerating appliance is intended to be used at ambient temperatures ranging from 16 °C to 32 °C (N);
- subtropical: this refrigerating appliance is intended to be used at ambient temperatures ranging from 16 °C to 38 °C (ST);
- tropical: this refrigerating appliance is intended to be used at ambient temperatures ranging from 16 °C to 43 °C (T).
Location
The appliance should be installed well away from sources of heat such as radiators, boilers, direct sunlight etc. Ensure that air can circulate freely around the back of the cabinet. To ensure best performance, if the appliance is positioned below an overhanging wall unit, the minimum distance between the top of the cabinet and the wall unit must be at least 50 mm. Ideally, however, tha appliance should not ba positioned below overhanging wall units. Accurate laveling is ensured by one or mora adjustable feet at tha base of the cabinet.
WARNING! It must ba possible to disconnect the appliance from the mains power supply; the plug must therefore be easily accessible after Installation.
This refrigerating appliance is not intended to be used as a built‑in appliance.
Electrical connection
Before plugging in, ensure that the voltage and frequency shown on the rating plate correspond to your domestic power supply. The appliance must be earthed. The power supply cable plug is provided with a contact for this purpose. If the domestic power supply socket is not earthed, connect the appliance to a separate earth in compliance with current regulations, consulting a qualified electrician.
The manufacturer declines all responsibility if the above safety precautions are not observed.
This appliance complies with the E. E. C. Directives.
First use
Cleaning the interior
Before using the appliance for the first time, wash the interior and all internal accessories with lukewarm water and some neutral soap so as to remove the typical smell of a brand new product, then dry thoroughly.
IMPORTANT! Do not use detergents or abrasive powders, as these will damage the finish.
Temperature Setting
- Plug on your appliance. The internal temperature is controlled by a thermostat. There are 3 settings MIN, NORMAL and MAX. MIN is warmest setting and MAX is coldest setting.
- The appliance may not operate altha correct temperature if it is in a particularly hot or if you open the door often.

Daily use
Position different food in different compartments according to be below table.
| Refrigerator compartments | Type of food |
| Freezer drawer(s)/shelf |
|
Freezing fresh food
- The freezer compartment is suitable for freezing fresh food and storing frozen and deep‑frozen food for a long time.
- Place the fresh food to be frozen in the bottom compartment.
- The maximum amount of food that can be frozen in 24 hours is specified on the rating plate.
- The freezing process lasts 24 hours: during this period do not add other food to be frozen.
Thawing
Deep‑frozen or frozen food, prior to be used, can be thawed in the fridge compartment or at room temperature, depending on the time available for this operation.
Small pieces may avian be cooked still frozen, directly from the freezer. In this casa, cooking will take longer.
Ice‑cube
This appliance may be equipped with one or more trays for the production of ice‑cubes.
Helpful hints and tips
Hints for freezing
To help you make the most of the freezing process, here are some important hints:
- the maximum quantity of food which can be frozen in 24 hrs. is shown on the rating plate;
- the freezing process takes 24 hours. No further food to be frozen should be added during this period;
- only freeze top quality, fresh and thoroughly cleaned, foodstuffs;
- prepare food in small portions to enable it to be rapidly and completely frozen and to make it possible subsequently to thaw only the quantity required;
- wrap up the food in aluminum foil or polythene and make sure that the packages are airtight;
- do not allow fresh, unfrozen food to touch food which is already frozen, thus avoiding a rise in temperature of the latter;
- lean foods store better and longer than fatty ones; salt reduces the storage life of food;
- water ices, if consumed immediately after removal from the freezer compartment, can possibly cause the skin to be freeze burnt;
- it is advisable to show the freezing in date on each individual pack to enable you removal from the freezer compartment, can possibly cause the skin to be freeze burnt;
- it is advisable to show the freezing in date on each individual pack to enable you to keep tab of the storage time.
Storing frozen food
When first starting‑up or after a period out of use efore putting the product in the compartment let the appliance run at least 2 hours on the higher settings.
IMPORTANT! In the event of accidental defrosting, for example the power has been off for longer than the value shown in the technical characteristics chart under “rising time”, the defrosted food must be consumed quickly or cooked immediately and then re‑frozen (after cooked).
Temperature setting recommendation
| Temperature Setting Recommendation | ||
| Environment Temperature | Freezer compartment | Fridge compartment |
Summer | ![]() | / |
Normal | ![]() | / |
Winter | ![]() | / |
Information above give users recommendation of temperature setting.
Impact of Food Storage
- Under Recommended setting, the best storage time of freezer is no more than 1 month.
- The best storage time may reduce under other settings
Hints for storage of frozen food
To obtain the best performance from this appliance, you should:
- make sure that the commercially frozen foodstuffs were adequately stored by the retailer;
- be sure that frozen foodstuffs are transferred from the food store to the freezer in the shortest possible time;
- not open the door frequently or leave it open longer than absolutely necessary.
- Once defrosted, food deteriorates rapidly and cannot be refrozen.
- Do not exceed the storage period indicated by the food manufacture.
Cleaning
For hygienic reasons the appliance interior, including interior accessories, should be cleaned regularly.
CAUTION! The appliance may not be connected to the mains during cleaning. Danger of electrical shock! Before cleaning switch the appliance off and remove the plug from the mains, or switch off or turn out the circuit breaker or fuse. Never clean the appliance with a steam cleaner. Moisture could accumulate in electrical components, danger of electrical shock! Hot vapors can lead to the damage of plastic parts. The appliance must be dry before it is placed back into service.
IMPORTANT! Ethereal oils and organic solvents can attack plastic parts, e.g. lemon juice or the juice form orange peal, butyric acid, cleanser that contain acetic acid.
- Do not allow such substances to coma into contact the appliance parts.
- Do not use any abrasive cleaners
- Remove the food from the freezer. Store them in a cool place, wall covered.
- Switch the appliance off and remove the plug from the mains, or switch off or turn out the circuit breaker of fuse.
- Clean the appliance and the interior accessories with a cloth and lukewarm water.
After cleaning wipe with fresh water and rub dry. - Accumulation of dust at the condenser increases energy consumption. For this reason carefully clean the condenser at the back of the appliance once a year with a soft brush or a vacuum cleaner. 1)
- After everything is dry place appliance back into service.
Defrosting of the freezer
The freezer compartment, however, will become progressively covered with frost.
This should be removed. Never use sharp metal tools to scrape off frost from the evaporator as you could damage it. However, when the ice becomes very thick on the inner linear, complete defrosting should be carried out as fellows:
- pull out the plug from the socket;
- remove all stored food, wrap it in several layers of newspaper and put it in a cool place;
- keep the door open, and placing a basin underneath of the appliance to collect the defrost water;
- when defrosting is completed, dry the interior thoroughly
- replace the plug in the power socket to run the appliance again.
Troubleshooting
CAUTION! Before troubleshooting, disconnect the power supply. Only a qualified electrician of m competent person must do the troubleshooting that is not in this manual.
IMPORTANT! There are some sounds during normal use (compressor, refrigerant circulation).
| Problem | Possible cause | Solution |
| Appliance does not work | Mains plug is not plugged in oris loose. | Insert mains plug. |
| Fuse has blown or is defective | Check fuse, replace If necessary. | |
| Socket is defective. | Mains malfunctions are to be corrected by an electrician. | |
| Appliance freezes too much | Temperature is set too cold or the appliance runs at MAX setting. | Turn the temperature regulators a warmer setting temporarily. |
| The food is not frozen enough. | Temperature is not properly adjusted. | Please look in the initial Temperature Setting section. |
| Door was open for an extended period. | Open the door only as long as necessary. | |
| A large quantity of warm food was placed in the appliance with in the last 24 hours. | Turn the temperature regulation to a colder setting temporarily. | |
| The appliance is near a heat source. | Please look in the installation location section. | |
| Heavy build‑up of frost on the door seal. | Door seal is not air‑tight. | Carefully warm the leaking sections of the door seal with a hair dryer (on a cool setting). At the same time shape the warmed door seal by hand such that it sits correctly. |
| Unusual noises | Appliance is not laval. | Re‑adjust the feet. |
| The appliance is touching the wall or other objects. | Move th a appliance slightly. | |
| A component, e.g. a pipa, on the rear of the appliance is touching another part of the appliance or the wall. | If necessary, carefully bend the component out of the way. |
If the fault reappears, contact an authorized service center.
Contact the authorized service can be found at www.lord.eu.
Spare parts can also be ordered from the authorized service center.
You will receive spare parts in accordance with the relevant eco-design regulation from an authorized service center for a period of min. 7 or 10 years (depending on the type of spare part) since the last piece of the appliance model was placed on the market in the European Economic Area.
Before contacting an authorized service center, please have the model identification mark and serial number ready.
You will find the model identification number and product serial number on the rating plate located on the outside back of the appliance.
To quickly find the data of your appliance, we recommend that you note the data on the rating plate in this manual before placing the appliance on the site.
Product information sheet
| Supplier’s name or trade mark: LORD | |||||
| Supplier’s address: LORD Hausgeräte GmbH, Greschbachstraße 17, 76229 Karlsruhe, Deutschland | |||||
| Model identifier: F4 | |||||
| Type of refrigerating appliance: upright freezer | |||||
| Low‑noise appliance: | No | Design type: | freestanding | ||
| Wine storage appliance: | No | Other refrigerating appliance: | Yes | ||
| General product parameters: | |||||
| Parameter | Value | Parameter | Value | ||
| Overall dimensions (millimetre) | Height | 850 | Total volume (dm3 or l) | 87 | |
| Width | 550 | ||||
| Depth | 580 | ||||
| EEI (%) | 64 | Energy efficiency class | C | ||
| Airborne acoustical noise emissions (dB(A) re 1 pW) | 40 | Airborne acoustical noise emission class | C | ||
| Annual energy consumption (kWh/a) | 105,04 | Climate class: | N/ST/T | ||
| Minimum ambient temperature (°C), for which the refrigerating appliance is suitable | 16 | Maximum ambient temperature (°C), for which the refrigerating appliance is suitable | 43 | ||
| Winter setting | No | ||||
| Compartment Parameters: | |||||
|
Compartment type | Compartment Volume (dm3 or l) | Recommended temperature setting for optimised food storage (°C). | Freezing capacity (kg/24 h) | Defrosting type (auto‑ ‑defrost = A, manual defrost = M) | |
| Pantry | No | ‑ | ‑ | ‑ | ‑ |
| Wine storage | No | ‑ | ‑ | ‑ | ‑ |
| Cellar | No | ‑ | ‑ | ‑ | ‑ |
| Fresh food | No | ‑ | ‑ | ‑ | ‑ |
| Chill | No | ‑ | ‑ | ‑ | ‑ |
| 0‑star or ice‑ ‑making | No | ‑ | ‑ | ‑ | ‑ |
| 1‑star | No | ‑ | ‑ | ‑ | ‑ |
| 2‑star | No | ‑ | ‑ | ‑ | ‑ |
| 3‑star | No | ‑ | ‑ | ‑ | ‑ |
| 4‑star | Yes | 87,0 | ‑18 | 4,4 | M |
| 2‑star section | No | ‑ | ‑ | ‑ | ‑ |
| Variable temperature compartment | compartment types | ‑ | ‑ | ‑ | ‑ |
| For 4‑star compartments | |||||
| Fast freeze facility | No |
| Light source parameters: | |
| Type of light source | This evaluation is only considered on refrigeration function of the product, for the light source, which shall comply with its own eco‑design and energy label regulation. |
| Energy efficiency class | |
| Minimum duration of the guarantee offered by the manufacturer: | |
| Additional information: | |
| Weblink to the manufacturer’s website, where the information in point 4(a) Annex of Commission Regulation (EU) 2019/2019 is found: www.lord.eu | |
Information on the model in the product database defined in Regulation (EU) 2019/2016 can be found via the following link: https://eprel.ec.europa.eu/qr/337340
LORD Hausgeräte GmbH
Greschbachstraße 17
76229 Karlsruhe
Deutschland
[email protected]
www.lord.eu
































