
4 in 1 Headphone Stand
Wireless Charger
User Guide

Features of Product:
- Four In ono (4-in-1) Functions:
• Wireless charger for phone: 5W/7.5W/10W/15W Max.
• Wireless charger for Match: 2W Max.
• Wireless charger for earphone: 3W Max.
• Stand for headphone. - Compact Design: 4-in-1, compact, and space-saving
- Suitable for indoor Use: Home,hotel,office,restaurant,bar,etc.
Specifications:
| Model | B-15A |
| Input Voltage/Current | DC 9V/2A,12-2A |
| WIrelassOutout for Phone | 5W-7.5W-10W-15W Max. |
| Wireless Output for Earphone | 3W Max. |
| Wireless Output for! Watch | 2W Max. |
| Type-C Output | 5V11 A Max. |
| Material | I ABS+PC Fireproof Material |
| USB Cable | 120cm Type-C to USB-A |
| Product Size | L260*W140*H252mm |
| Net Weight | 400g |
| Color | Black /White. |
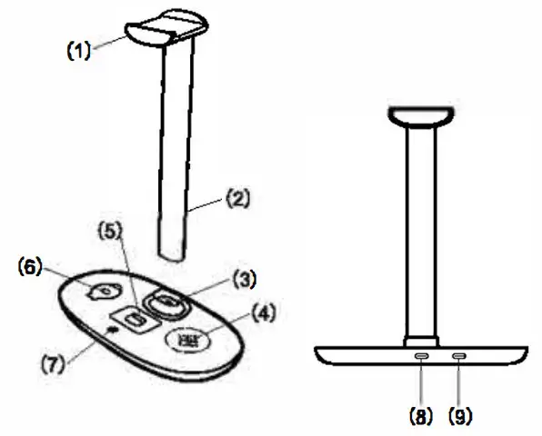
Product Diagram:

- Headphone/Airpods Max Stand/Holder
- Detachable Headphone Stand Pole
- Headphone Stand Mounting base
- Wireless Charger for Phone
- Wireless Charger for Earphone
- Wireless Charger for iWatch
- Power Indicator
- Type-C Input (QC3.D or PD Quick Charge input)
- Type-C Output (for headphones)
How to Use:
- Install the headphone stand on the mounting base(3).
- Connect the charger (8) to PD/QC quick charger by USB cable. Attention: The input must be QC 3.0/PD Quick Charger
- The indicator light is always on after power on.
- Charge your phone on position (4).
• Compatible with qi wireless charge enable phones such as iPhones, Andriod Phones. - Charge your earphone on position (5).
- Charge your Match on the foldable watch charger (6)
- Hang your headphone on the stand (1) or charge your headphone by connecting the output of (9)
Safety Tips:
Please adhere to these basic precautions while using this product, as follows;
- Read all the instructions before use,
- This product can be normally used between the temperatures of 32°F (0°C) to 95°F(35°C).
- Do not expose the device to fire or excessive temperature. Exposure to fire or excessive temperatures may cause an explosion.
- Do not expose the de to moisture.
- Keep away from water or another liquid ds which may lead to short circuits while using the product.
- Close supervision is necessary when the product is used near children.
- Do not use this wireless charger if damaged or modified.
- Do not disassemble the device incorrect reassembly may result In a risk of fire or Injury.
- Ensure that qualified service professionals use only Identical replacement parts to ensure product safety.
- Accessories placed on the back of your smartphone can Impede the effectiveness of the wireless charger, and lead to overheating. Please remove accessories from the phone before attempting wireless charging.
- Remove your phone /watch /earphone when It is fully charged. Please unplug the power adapter when your devices are fully charged
FCC information
This device complies with Part 15 of the FCC rules. Operation is subject to the following two conditions: 1) this device may not cause harmful interference, and 2) this device must accept any interference received, including interference that may cause undesired operation. Note: This equipment has been tested and found to comply with the limits for a Class B digital device, pursuant to part 15 of the FCC Rules. These limits are designed to provide reasonable protection against harmful interference in a residential installation. This equipment generates uses and can radiate radio frequency energy and, if not installed and used in accordance with the instructions, may cause harmful interference to radio communications. However, there is no guarantee that interference will not occur in a particular installation. if this equipment does cause harmful interference to radio or television reception, which can be determined by turning the equipment off and on, the user is encouraged to try to correct the interference by one or more of the following measures:
- Reorient or relocate the receiving antenna
- Increase the separation between the equipment and receiver.
- Connect the equipment into an outlet on a circuit different from that to which the receiver is connected.
- Consult the dealer or an experienced radio/TV technician for help. Changes or modifications not expressly approved by the party responsible for compliance could void the user’s authority to operate the equipment.
Radiation Exposure Statement
This device complies with FCC RF radiation exposure limits set forth for an uncontrolled environment. This transmitter must not be co-located or operating in conjunction with any other antenna or transmitter. During the operation of the device, a distance of 15 cm surrounding the device and 20 cm above the top surface of the device must be respected.![]()



















