RM5864HD
5-inch Smart Wi-Fi 1080p
Pan and Tilt Monitor

Go to www.vtechphones.com
to register your product for enhanced
warranty support and latest VTech product news.
Installation guide
Congratulations
on purchasing your new VTech product. Before using this HD video monitor, please read Important safety instructions. For support, shopping, and everything new at VTech, visit our website atwww.vtechphones.com. In Canada, visit www.vtechcanada.com.
What does HD Video Monitor do?
VTech 5-inch Smart Wi-Fi 1080p Pan and Tilt Monitor allows you to stay close to your baby when you are on the move or away.
This monitor is Wi-Fi enabled, which uses your home wireless network to stream live video and audio through the HD camera unit and 5-inch color screen parent unit. It allows you to maintain a constant connection to your baby.
You can also monitor from your smartphone and mobile tablet. VTech 5-inch Smart Wi-Fi 1080p Pan and Tilt Monitor uses MyVTech Baby 1080p app to let you instantly see and hear what’s happening with your baby from anywhere in the world. The app can be downloaded from the App Store or the Google Play TM Store, directly from your smartphone or mobile tablet.
What’s in the box
Your HD video monitor package contains the following items. Save your sales receipt and original packaging in the event warranty service is necessary.

Requirements
For mobile access:
| For mobile access: | |
| Network | Wi-Fi |
| Wi-Fi router | 2.4GHz 802.11 b/g/n |
| Internet connection | 1.5 Mbps @ 720p or 2.5 Mbps @1080p upload bandwidth per camera |
| MyVTech Baby 1080p mobile app | Connect up to 10 camera units |
Overview
Camera unit overview

- Light sensor
- Camera lens
- Microphone
- Infrared LEDs
• Allow you to see clearly in dark surroundings. - LED indicator
• Red is steady on when the camera unit is connecting to the parent unit directly in local mode.
• Green is steady on when the camera unit and parent unit are connecting to your home Wi-Fi network via the Wi-Fi router.
• Flashes red slowly during video streaming in local mode.
• Flashes green slowly during video streaming via home Wi-Fi network.

- ON
• Power on/off switch. - Speaker
- Power jack
- Temperature sensor
- Slots for wall mounting
• Wall mount bracket is included in your package. - PAIR
• Reset the camera unit to factory default.
1. Press and hold the PAIR key until you hear a beep sound.
2. Release the PAIR key, and then press the PAIR key again five times until you hear another beep sound.
3. The camera unit will sound another beep when the reset completes. Then, the camera unit will reboot.
Parent unit overview

- LINK LED light
• On when the parent unit is linked to the camera unit.
• Flashes when the link to the camera unit is lost.
LED light
• On when the parent unit is connected to AC power, or the battery is charging.
• Off when the parent unit is disconnected from AC power, or when the parent unit is connected to AC power and the battery is fully charged.
• Flashes when the parent unit battery is low and needs charging.- 3- level sound indicator light
• Green on when a low sound level is detected by the camera unit.
• Green and amber on when the moderate sound level is detected by the camera unit.
• Green, amber, and red on when a high sound level is detected by the camera unit. - TALK
• Press and hold to talk to the camera unit.
• While in a submenu, press to exit. 
• Press to zoom in/out.
- Arrow keys

• Press to navigate leftward, upward, rightward, or downward, within the main menu and submenus.
• While viewing the image from the camera unit, press to pan the camera unit leftward, upward, rightward, or downward.
• While viewing a zoomed image, press to move the zoomed image leftward, upward, rightward or downward. - MENU/SELECT
• Press to enter the main menu.
• While in a menu, press to choose aitem, or save a setting. - – VOL/ VOL +
• Increase or decrease parent unit’s volume. - Microphone
- Speaker
- POWER key
• Press to turn on/off the parent unit - Power jack
- RESET
• Force reboot the parent unit. - Antenna
- Stand
How the system works
Local mode
The Parent unit and the camera unit of your video monitor connected to each other in Local mode by default, which allows you to stream live video right out of the box. Local mode connection lets you stream live video from the parent unit only.
![]()
• You may experience reduced signal strength if your parent unit and camera unit are far apart, or there are obstructing factors, such as internal walls, between them. Move the parent unit closer to the camera unit to improve the signal strength. You can also set up Remote mode to connect via your home Wi-Fi network to improve the connection between your parent unit and camera unit.
Remote mode
You can continue using your video monitor with a Local mode connection, or you can set up your monitor in Remote mode connection. Remote mode uses your home Wi-Fi network to connect your video monitor. It supports streaming live video through parent units and smartphone app. We recommend that you set up your monitor in Remote mode to enjoy streaming live video via your parent unit with a better connection.
If you want to stream live video remotely with your mobile device, download and install the MyVTech Baby 1080p mobile app. With the mobile app, your Wi-Fi router (not included) provides Internet connectivity to your HD video monitor system. It serves as a communicating channel between your camera unit and mobile device, allowing you to monitor and/or control your camera unit wherever you are. For detail, see Mobile access section in the quick start guide.

NOTE
• Your parent unit detects the connection signal strength. If you have connected your video monitor with your home Wi-Fi network, your parent unit automatically switches to local or remote mode – the one that has stronger signal strength.
Protect your privacy and online security
VTech cares about your privacy and peace of mind. That’s why we’ve put together a list of industry-recommended best practices to help keep your wireless connection private and your devices protected when online. We recommend you carefully review and consider complying with the following tips.
Ensure your wireless connection is secure.
- Before installing a device, ensure your router’s wireless signal is encrypted by selecting the “WPA2-PSK with AES” setting in your router’s wireless security menu.
Change default settings. - Change your wireless router’s default wireless network name (SSID) to something unique.
- Change default passwords to unique, strong passwords. A strong password:
– Is at least 10 characters long.
– Is complex.
– Does not contain dictionary words or personal information.
– Contains a mix of uppercase letters, lowercase letters, special characters and numbers.
Keep your devices up to date. - Download security patches from manufacturers as soon as they become available. This will ensure you always have the latest security updates.
- If the feature is available, enable automatic updates for future releases.
Disable Universal Plug and Play (UPnP) on your router. - UPnP enabled on a router can limit the effectiveness of your firewall by allowing other network devices to open inbound ports without any intervention or approval from you. A virus or other malware program could use this function to compromise security for the entire network.
For more information on wireless connections and protecting your data, please review the following resources from industry experts:
1. Federal Communications Commission: Wireless Connections and Bluetooth Security Tips www.fcc.gov/consumers/guides/how-protect-yourself-online.
2. U.S. Department of Homeland Security: Before You Connect a New Computer to the Internet – www.us-cert.gov/ncas/tips/ST15-003.
3. Federal Trade Commission: Using IP Cameras Safely – https://www.consumer.ftc.gov/articles/0382-using-ip-cameras-safely.
4. Wi-Fi Alliance: Discover Wi-Fi Security – http://www.wi-fi.org/discover-wi-fi/security.
Connect, charge, and power on the baby monitor
Connect the baby monitor
NOTE
- The rechargeable battery in the parent unit is built-in.
- Use only the power adapters supplied with this product.
- Make sure the parent unit and the camera unit are not connected to the switch-controlled electric outlets.
- Connect the power adapters in a vertical or floor mount position only. The adapters’ prongs are not designed to hold the weight of the parent unit and the camera unit, so do not connect them to any ceiling, under-the-table, or cabinet outlets. Otherwise, the adapters may not properly connect to the outlets.
- Make sure the parent unit, the camera unit, and the power adapter cords are out of reach of children.
- To maintain compliance with the FCC’s RF exposure guidelines, place the camera unit at least 20cm from nearby persons.
Charge the parent unit battery
The parent unit runs on a rechargeable battery or AC power. To continuously monitor your baby, keep the parent unit connected to AC power. With the battery alone, the parent unit can cordlessly run for a short time only.

Connect, charge, and power on the baby monitor (Cont’d)
Raise the parent unit antenna for better reception
Charge the battery before use
NOTE
• The parent unit is fully charged after 8 hours of continuous charging.
• The standby time varies depending on your actual use.
After the parent unit is fully charged, press POWER until the welcoming screen appears.
The battery icon indicates the battery status (see the following table).
| Battery indicators | Battery status | Action |
| The screen The | The battery has very little charge and may be used for only a short time. | Charge without interruption (about 30 minutes). |
| The battery icon becomes solid | The battery is fully charged. | To keep the battery charged, connect it to AC power when not in use. |
set up the HD video monitor for mobile access (optional)
After you have connected the parent unit and the camera unit, you can stream live video in a local mode right away. You can also set up a connection between your HD video monitor system and your home Wi-Fi network for a better connection between the parent unit and the camera unit. You can also download and install the MyVTech Baby 1080p mobile app to stream video remotely. For detail, refer to the quick start guide included in your package.
HD video monitor setup for mobile access:
• Set up a Wi-Fi connection
• Pair camera to mobile device
https://vttqr.tv/?q=1VP18
https://vttqr.tv/?q=1VP19
To install MyVTech Baby 1080p mobile app: Browse the App Store or the Google Play store , and search for the mobile app with the keyword “myvtech baby 1080p“. OR
Scan the QR code to get the app.
Test the location for the camera unit
If you plan to install your camera unit in a designated location and use your home Wi-Fi network to connect your video monitor, you need to test which of your selected monitoring areas within the house have good Wi-Fi signal strength. After you have powered on your parent unit, you can use your parent unit’s Wi-Fi signal strength indicator to assist in checking. Once you have identified a suitable location, you can install your camera unit. Adjust the distance between your camera unit and the Wi-Fi router if needed.
![]()
Depending on surroundings and obstructing factors, such as the effect distance and internal walls have on signal strength, you may experience reduced Wi-Fi signal. To improve the Wi-Fi signal strength, adjust the distance or direction of your parent unit. Check with your parent unit again.
Test the sound level and position the HD video monitor
NOTE
• This HD video monitor is intended as an aid. It is not a substitute for proper adult supervision, and should not be used as such.
Testing the sound level of the HD video monitor
CAUTION
• For hearing protection, make sure the parent unit is more than 10 feet
(3 meters) away from the camera unit. If you hear any high-pitched noise from the parent unit, move the parent unit further until the noise stops. You can also press – VOL on the parent unit to lower or mute the noise.
![]()
• Increase the parent unit speaker volume if you cannot hear the sounds transmitted from the camera unit.
Positioning the HD video monitor

CAUTION
• Keep the camera unit out of the reach of your baby. Never place or mount the camera unit inside the baby’s crib or playpen.
1. Place the camera unit more than 3 feet (1 meter) away from your baby.
2. Adjust the angle of the camera to aim at your baby. Refer to the online help topics on how to use the Pan/tilt and Zoom functions of the camera.
3. To avoid causing high-pitched screeching noise from your HD video monitor:
• Make sure your camera unit and parent unit are more than 10 feet (3 meters) apart;
OR
• Turn down the volume of your parent unit.

Mount the camera unit (optional)
NOTE
• Check for reception strength and camera angle before drilling the holes.
• The types of screws and anchors you need depend on the composition of the wall. You may need to purchase the screws and anchors separately to mount your camera units.
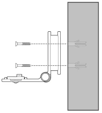
1. Place the wall mount bracket on a wall and then use a pencil to mark two holes in parallel. Remove the wall mount bracket and drill two holes in the wall (7/32 inch drill bit).
2. If you drill the holes into a stud, go to step 3.
•If you drill the holes into an object other than a stud, insert the wall anchors into the holes. Tap gently on the ends with a hammer until the wall anchors are flush with the wall.
3. Align the wall mount bracket and screws with the holes in the wall as shown. Tighten the screw in the middle hole first, so that the wall mount bracket position is fixed. You can tighten the other screw in the top hole.
Or,
3. Insert the screws into the holes and tighten the screws until only 1/4 inch of the screws are exposed.
4. Place the camera unit on the wall mount bracket, and then slide it forward until it locks into place. Connect the power adapter to the camera unit and a power supply not controlled by a wall switch.
Or,
4. Place the camera unit on the wall mount bracket, and then slide it forward until it locks into place. Align the holes on the wall mount bracket with the screws on the wall, and slide the wall mount bracket down until it locks into place.
5. You can maximize your camera unit’s viewing angles by tilting the wall mount bracket.
Hold the camera unit, and then rotate the knob in an anticlockwise direction. This will loosen the joint of the wall mount bracket.
Tilt your camera unit up or down to adjust to your preferred angle. Then, rotate the knob in a clockwise direction to tighten the joint and secure the angle.
General product care
To keep this product working well and looking good, follow these guidelines:
- Avoid putting it near heating appliances and devices that generate electrical noise (for example, motors or fluorescent lamps).
- DO NOT expose it to direct sunlight or moisture.
- Avoid dropping the product or treating it roughly.
- Clean with a soft cloth.
- DO NOT immerse the parent unit and the camera unit in water and do not clean them under the tap.
- DO NOT use cleaning spray or liquid cleaners.
- Make sure the parent unit and the camera unit are dry before you connect them to the mains again.
Storage
When you are not going to use the HD video monitor for some time, store the parent unit, the camera unit, and the adapters in a cool and dry place.
Frequently asked questions
Below are the questions most frequently asked about the HD video monitor. If you cannot find the answer to your question in the below table, visit our website at www.vtechphones.com, or call 1-844-848-8324 (1-844-84-VTECH) for customer service. In Canada, go to www.vtechcanada.com or call 1-888-211-2005.
| Can I turn off the parent unit screen but keep hearing sound from the camera unit? | The parent unit’s LCD display will dim automatically after being inactive for some time. Press MENU/SELECT will turn the LCD display back on. |
| Why does the camera unit not respond normally? | Try the following (in the order listed) for a common cure: 1. Disconnect the power to the camera unit. 2. Wait a few minutes before connecting power back to the camera unit. 3. Reboot the parent unit. |
| Why is my screen in black and white? | The camera unit has a light sensor that measures the ambient light. When the ambient light is dim, such as during nighttime or in a dark room, the camera activates its infrared LEDs, and displays the camera view in black and white. |
| Why does my camera show offline? Why is the connection lost every now and then? | The camera unit may lose the Internet connection. Check your network and the router setting. Other electronic products may cause interference with your camera. Try installing your camera as far away from these electronic devices as possible. |
| Why don’t I hear a sound/Why can’t I hear my baby cry? | The parent unit speaker volume may be too low. Press VOL + to increase the volume. You may have set a low sound sensitivity level. Set the sound sensitivity to a higher level. For details, go to www.vtechphones.com for online help topics. |
Limited warranty
What does this limited warranty cover?
The manufacturer of this VTech Product warrants to the holder of a valid proof of purchase (“Consumer” or “you”) that the Product and all accessories provided in the sales package (“Product”) are free from defects in material and workmanship, pursuant to the following terms and conditions, when installed and used normally and in accordance with the Product operating instructions. This limited warranty extends only to the Consumer for Products purchased and used in the United States of America and Canada.
What will VTech do if the Product is not free from defects in materials and workmanship during the limited warranty period (“Materially Defective Product”)?
During the limited warranty period, VTech’s authorized service representative will repair or replace at VTech’s option, without charge, a Materially Defective Product. If we repair the Product, we may use new or refurbished replacement parts. If we choose to replace the Product, we may replace it with a new or refurbished Product of the same or similar design. We will retain defective parts, modules, or equipment. Repair or replacement of the Product, at VTech’s option, is your exclusive remedy. VTech will return the repaired or replacement Products to you in working condition. You should expect the repair or replacement to take approximately 30 days.
How long is the limited warranty period?
The limited warranty period for the Product extends for ONE (1) YEAR from the date of purchase. If VTech repairs or replaces a Materially Defective Product under the terms of this limited warranty, this limited warranty also applies to the repaired or replacement Product for a period of either (a) 90 days from the date the repaired or replacement Product is shipped to you or (b) the time remaining on the original one-year warranty; whichever is longer.
What is not covered by this limited warranty?
This limited warranty does not cover:
1. Product that has been subjected to misuse, accident, shipping or other physical damage, improper installation, abnormal operation or handling, neglect, inundation, fire, water or another liquid intrusion; or
2. Product that has been damaged due to repair, alteration, or modification by anyone other than an authorized service representative of VTech; or
3. Product to the extent that the problem experienced is caused by signal conditions, network reliability, or cable or antenna systems; or
4. Product to the extent that the problem is caused by use with non-VTech accessories; or
5. Product whose warranty/quality stickers, product serial number plates, or electronic serial numbers have been removed, altered, or rendered illegible; or
6. Product purchased, used, serviced, or shipped for repair from outside the United States of America or Canada, or used for commercial or institutional purposes (including but not limited to Products used for rental purposes); or
7. Product returned without valid proof of purchase (see item 2 on the following part); or
8. Charges for installation or set up, adjustment of customer controls, and installation or repair of systems outside the unit.
How do you get warranty service?
To obtain warranty service in the USA, please visit our website at www.vtechphones.com or call 1-844-848-8324 (1-844-84-VTECH). In Canada, go to www.vtechcanada.com or call 1-888-211-2005.NOTE: Before calling for service, please review the user’s manual – a check of the Product’s controls and features may save you a service call. Except as provided by applicable law, you assume the risk of loss or damage during transit and transportation and are responsible for delivery or handling charges incurred in the transport of the Product(s) to the service location. VTech will return repaired or replaced Products under this limited warranty. Transportation, delivery or handling charges are prepaid. VTech assumes no risk for damage or loss of the Product in transit. If the Product failure is not covered by this limited warranty, or proof of purchase does not meet the terms of this limited warranty, VTech will notify you and will request that you authorize the cost of repair prior to any further repair activity. You must pay for the cost of repair and return shipping costs for the repair of Products that are not covered by this limited warranty.
What must you return with the Product to get warranty service?
1. Return the entire original package and contents including the Product to the VTech service location along with a description of the malfunction or difficulty; and
2. Include a “valid proof of purchase” (sales receipt) identifying the Product purchased (Product model) and the date of purchase or receipt; and
3. Provide your name, complete and correct mailing address, and telephone number.
Other limitations
This warranty is the complete and exclusive agreement between you and VTech. It supersedes all other written or oral communications related to this Product. VTech provides no other warranties for this Product. The warranty exclusively describes all of VTech’s responsibilities regarding the Product. There are no other express warranties. No one is authorized to make modifications to this limited warranty and you should not rely on any such modification. State/Provincial Law Rights: This warranty gives you specific legal rights, and you may also have other rights, which vary from state to state or province to province. Limitations: Implied warranties, including those of fitness for a particular purpose and merchantability (an unwritten warranty that the Product is fit for ordinary use), are limited to one year from the date of purchase. Some states/provinces do not allow limitations on how long an implied warranty lasts, so the above limitation may not apply to you. In no event shall VTech be liable for any indirect, special, incidental, consequential, or similar damages (including, but not limited to lost profits or revenue, inability to use the Product or other associated equipment, the cost of substitute equipment, and claims by third parties) resulting from the use of this product. Some states/provinces do not allow the exclusion or limitation of incidental or consequential damages, so the above limitation or exclusion may not apply to you.
Please retain your original sales receipt as proof of purchase.
Technical specifications
Frequency – Camera unit: 2412 – 2462 MHz
Channels – 11
LCD – 5’’ Color LCD (IPS 1280×720 pixels)
Nominal effective range – Maximum power allowed by FCC and IC. Actual operating range may vary according to environmental conditions at the time of use.
Power requirement – 1. Parent unit power adapter: Output: 5V DC 1000mA
2. Parent unit: 3.7V Lithium-ion battery
Camera unit power adapter:
Output: 5V DC 1000mA
Google Play and the Google Play logo are trademarks of Google LLC. App Store is a trademark of Apple Inc., registered in the U.S. and other countries.
Specifications are subject to change without notice.
© 2020 VTech Communications, Inc.
All rights reserved. 01/20. RM5864HD_IG_V1
Document order number: 91-011968-010-100
References
Wireless Connections and Bluetooth Security Tips | Federal Communications Commission
Before You Connect a New Computer to the Internet | CISA
VTech Canada Official Site | Best Home Office & Business Phones
VTech Cordless Phones Official Site | Best Home Office & Business Phones
Security | Wi-Fi Alliance
How To Secure Your Home Security Cameras | Consumer Advice
What’s in the box




Frequently asked questions




![Vtech 5-inch Smart Wi-fi 1080p Pan And Tilt Monitor [rm5764hd, Rm5764-2hd] User Manual Vtech 5-inch Smart Wi-fi 1080p Pan And Tilt Monitor [rm5764hd, Rm5764-2hd] User Manual](https://static-data1.manualsee.com/1/img/449/18532/2020/12/Google-play-store-download.png)
![Vtech 5-inch Smart Wi-fi 1080p Pan And Tilt Monitor User Manual [rm5764hd, Rm5764-2hd] Vtech 5-inch Smart Wi-fi 1080p Pan And Tilt Monitor User Manual [rm5764hd, Rm5764-2hd]](https://static-data1.manualsee.com/1/img/219/58911/2021/02/VTech-5-inch-Smart-Wi-Fi-1080p-Pan-and-Tilt-Monitor-User-Manual-RM5764HD-RM5764-2HD.jpg)












