Quick start guide
(Canada version)
RM5764HD
RM5764-2HD
5-inch Smart Wi-Fi 1080p
Pan and Tilt Monitor
Go to www.vtechcanada.com
for the latest VTech product news.
For more support information
Congratulations
on purchasing your new VTech product. Before using this HD video monitor, please read Important safety instructions.
For support, shopping, and everything new at VTech, visit our website at www.vtechcanada.com.
What does HD Video Monitor do?
VTech 5-inch Smart Wi-Fi 1080p Pan and Tilt Monitor allows you to stay close to your baby when you are on the move or away.
This monitor is Wi-Fi enabled, which uses your home wireless network to stream live video and audio through the HD baby unit and 5-inch color screen parent unit. It allows you to maintain a constant connection to your baby.
You can also monitor from your smartphone and mobile tablet.
VTech 5-inch Smart Wi-Fi 1080p Pan and Tilt Monitor uses the MyVTech Baby 1080p app to let you instantly see and hear what’s happening with your baby from anywhere in the world.
The app can be downloaded from the App Store or the Google Play™ Store, directly from your smartphone or mobile tablet.
What’s in the box
Your HD video monitor package contains the following items. Save your sales receipt and original packaging in the event warranty service is necessary.
For mobile access:
MyVTech Baby 1080p mobile app
Requirements
| Network | Wi-Fi |
| Wi-Fi router | 2.4GHz 802.11 b/g/n |
| Internet connection | 1.5 Mbps @ 720p or 2.5 Mbps @1080p upload bandwidth per baby unit |
Overview
Baby unit overview
![]() | ![]() |
| 1 Light sensor 2 Camera lens 3 Microphone 4 Infrared LEDs • Allow you to see clearly in dark surroundings. 5 LED indicator • Orange is steady when the baby unit is connecting to the parent unit directly in local mode. • Green is steady when the baby unit and parent unit are connecting to your home Wi-Fi network via the Wi-Fi router. • Flashes orange slowly during video streaming in local mode. • Flashes green slowly during video streaming via home Wi-Fi network. | 6 ON • Power on/off switch. 7 Speaker 8 Power jack 9 Temperature sensor 10 Slots for wall mounting • Wall mount bracket is included in your package. 11 PAIR • Reset the baby unit to factory default. 1. Press and hold the PAIR key until you hear a beep sound. 2. Release the PAIR key, and then press the PAIR key again five times until you hear another beep sound. 3. The baby unit will sound another beep when the reset completes. Then, the baby unit will reboot. |
Parent unit overview
LINK LED light
• On when the parent unit is linked to the baby unit.
• Flashes when the link to the baby unit is lost.
LED light
• On when the parent unit is connected to AC power, and the battery is charging.
• Off when the parent unit is disconnected from AC power, or when the parent unit is connected to AC power and the battery is fully charged.
• Flashes when the parent unit battery is low and needs charging.- 3- level sound indicator light
• Green on when a low sound level is detected by the baby unit.
• Green and amber on when moderate sound level is detected by the baby unit.
• Green, amber, and red on when high sound level is detected by the baby unit. - TALK /

• Press and hold to talk to the baby unit.
• While in a submenu, press to exit. 
• Press to zoom in/out.- Arrow keys

• Press to navigate leftward, upward, rightward or downward, within the main menu and submenus.
• While viewing the image from the baby unit, press to pan the baby unit leftward, upward, rightward or downward.
• While viewing a zoomed image, press to move the zoomed image leftward, upward, rightward or downward. - MENU/SELECT
• Press to enter the main menu.
• While in a menu, press to choose an item, or save a setting. - – VOL/ VOL +
• Increase or decrease parent unit’s volume. - Microphone
- Speaker
- POWER / LCD ON/OFF
- Power jack
- RESET
• Force reboot the parent unit. - Antenna
- Stand
How the system works
Direct mode
The parent unit and the baby unit of your video monitor are connected to each other in Direct mode by default, which allows you to stream live video right out of the box. Direct mode connection lets you stream live video from the parent unit only.

Tip
- You may experience reduced signal strength if your parent unit and baby unit are far apart, or there are obstructing factors, such as internal walls, between them. Move the parent unit closer to the baby unit to improve the signal strength. You can also set up Router mode to connect via your home Wi-Fi network to improve the connection between your parent unit and baby unit.
Router mode

You can continue using your video monitor with Direct mode connection, or you can set up your monitor in Router mode connection.
Router mode uses your home Wi-Fi network to connect your video monitor. It supports streaming live video through parent units and smartphone app.
We recommend that you set up your monitor in Router mode to enjoy streaming live video via your parent unit with a better connection.
If you want to stream live video remotely with your mobile device, download and install the MyVTech Baby 1080p mobile app. With the mobile app, your Wi-Fi router (not included) provides Internet connectivity to your HD video monitor system. It serves as a communicating channel between your baby unit and mobile device, allowing you to monitor and/or control your baby unit wherever you are. For detail, see the Download app for mobile access section in this quick start guide.
Notes
- Your parent unit detects the connection signal strength. If you have connected your video monitor with your home Wi-Fi network, your parent unit automatically switches to direct or router mode – the one that has stronger signal strength.
- When both the parent unit and app are viewing the camera simultaneously, the video quality will be optimized to deliver the best possible viewing result.
Protect your privacy and online security
VTech cares about your privacy and peace of mind. That’s why we’ve put together a list of industry-recommended best practices to help keep your wireless connection private and your devices protected when online. We recommend you carefully review and consider complying with the following tips.
Ensure your wireless connection is secure.
- Before installing a device, ensure your router’s wireless signal is encrypted by selecting the “WPA2-PSK with AES” setting in your router’s wireless security menu.
Change default settings. - Change your wireless router’s default wireless network name (SSID) to something unique.
- Change default passwords to unique, strong passwords. A strong password:
– Is at least 10 characters long.
– Is complex.
– Does not contain dictionary words or personal information.
– Contains a mix of uppercase letters, lowercase letters, special characters and numbers.
Keep your devices up to date.
- Download security patches from manufacturers as soon as they become available. This will ensure you always have the latest security updates.
- If the feature is available, enable automatic updates for future releases.
Disable Universal Plug and Play (UPnP) on your router.
- UPnP enabled on a router can limit the effectiveness of your firewall by allowing other network devices to open inbound ports without any intervention or approval from you. A virus or other malware program could use this function to compromise security for the entire network.
For more information on wireless connections and protecting your data, please review the following resources from industry experts:
- Federal Communications Commission: Wireless Connections and Bluetooth Security Tips – www.fcc.gov/consumers/guides/how-protect-yourself-online.
- U.S. Department of Homeland Security: Before You Connect a New Computer to the Internet – www.us-cert.gov/ncas/tips/ST15-003.
- Federal Trade Commission: Using IP Cameras Safely – https://www.consumer.ftc.gov/articles/0382-using-ip-cameras-safely.
- Wi-Fi Alliance: Discover Wi-Fi Security – http://www.wi-fi.org/discover-wi-fi/security.
Connect, charge, and power on the baby monitor
Notes
Connect the baby monitor
- The rechargeable battery in the parent unit is built-in.
- Use only the power adapters supplied with this product.
- Make sure the parent unit and the baby unit are not connected to the switch-controlled electric outlets.
- Connect the power adapters in a vertical or floor mount position only. The adapters’ prongs are not designed to hold the weight of the parent unit and the baby unit, so do not connect them to any ceiling, under-the-table, or cabinet outlets. Otherwise, the adapters may not properly connect to the outlets.
- Make sure the parent unit, the baby unit, and the power adapter cords are out of reach of children.

Slide the switch to ON to power on your baby unit.
Notes
- When powering up, the baby unit’s status LED turns on.
It will turn off after a while and keep off. - The status LED is set to off by default. If you want to keep the LED on, press MENU, then go to
> Status LED and turn it on.
NOTE:
The camera lens and surface may get warm during normal operation.

Charge the parent unit battery before use
The parent unit runs on a rechargeable battery or AC power. To continuously monitor your baby, keep the parent unit connected to AC power. With the battery alone, the parent unit can cordlessly run for a short time only.
Notes
- Before using the baby monitor for the first time, charge the parent unit battery for 12 hours. When the parent unit battery is fully charged, the battery icon becomes solid
- The standby time varies depending on your actual use
.
After the parent unit is fully charged, press POWER until the welcoming screen appears.
The battery icon indicates the battery status (see the following table).
| Battery indicators | Battery status | Action |
| The screen displays | The battery has very little charge and may be used for only a short time. | Charge without interruption (about 30 minutes). |
| The battery icon becomes solid . | The battery is fully charged. | To keep the battery charged, connect it to AC power when not in use. |
Raise the parent unit antenna for better reception
Parent unit icons
| Main Menu | Options |
Monitoring mode (* For RM5764-2HD only)![]() | • View baby unit 1 or 2 in Single mode. • View both baby units in Patrol mode. • View both baby units on the Split screen. |
Melodies and soothing sounds![]() | • Select play all melodies or play one of the five melodies and four soothing sounds. • You can also set the timer to stop playing after 15, 30 or 60 minutes, or playing non-stop. |
| Alerts – sound, motion, and temperature | • Select the sound and motion sensitivity level. • Turn on/off sound and motion detection alerts. • Select maximum and minimum temperature for alert range. • Turn on/off temperature alert. • Turn on/off Auto Wake Up function. |
| Parent unit settings | • Adjust parent unit screen brightness. • Turn on/off dim mode. |
Baby unit settings![]() | • Turn on/off Night Vision. • Turn on/off baby unit’s status LED. • Adjust baby unit’s speaker volume. • Update baby unit’s security key. |
General settings![]() | • Connect to home Wi-Fi network. • Turn on/off Parent unit Wi-Fi Connection. • Connect mobile phone. • Turn on/off Low Battery Tone. • Turn on/off No Link Alert. |
Status icons
| Direct mode | |
| Parent unit, baby unit 1, and baby unit 2 (*For RM5764-2HD only) are connected to each other directly. | |
| Router mode | |
| Parent unit, baby unit 1, and baby unit 2 (*For RM5764-2HD only) are connected to the home Wi-Fi network. | |
| Baby units 1 and 2 are being viewed in Patrol mode (*For RM5764-2HD only). | |
| Baby units 1 and 2 are being viewed in Split mode (*For RM5764-2HD only). | |
| Night vision is turned on. | |
| Motion alert is turned on. | |
| The sound detection alert is turned on. | |
| Melodies and soothing sounds are turned on. | |
| Parent unit speaker is muted. | |
| Temperature alert is turned on. |
Basic operation
After powering up your video monitor, the parent unit streams live video in direct mode.
We recommend you follow the instructions on the screen to set up a home Wi-Fi network with your monitor for functionality enhancements and mobile access. See Auto software and firmware update and Download app for mobile access in this quick start guide.
Use the menu
Press MENU on the parent unit to enter the main menu, choose a menu item or save a setting. You can use the parent unit menu for advanced settings or operations, such as to play or stop lullaby or adjust the motion and sound detection settings.

While in the menu:
- Press
to scroll among the menu options. - Press SELECT to select an item.
- Press TALK to return to the live video.
- Press
to go to the Help & info page.
Adjust speaker volume
Press -VOL / VOL+ to adjust your parent unit speaker volume. It determines the volume of sound transmitted from your baby unit.

Zoom
Press to
zoom in or out.
Talk to your baby via the baby unit
- Press and hold the TALK key.
- When the
icon displays on-screen, speak to your parent unit. Your voice is transmitted to the baby unit. - When finish talking, release the TALK key and hear your baby again.

Turn on/off baby unit’s status LED
You may set the status LED indicator of your baby unit on or off. Go to
> Status LED.
Turn on/off the parent unit screen
You can turn on or off the parent unit screen without powering off the parent unit. You can still hear sounds from the baby unit.
- Press POWER on the parent unit to turn off the screen.
- Press any keys on the parent unit to turn on the screen again.

Tip
You can reset the parent unit by pressing the RESET key at the back of the unit.
Use a pin and insert it into the hole on the back of the parent unit, and then press the button inside.
Test the sound level and position the HD video monitor
Notes
- This HD video monitor is intended as an aid. It is not a substitute for proper adult supervision, and should not be used as such.
Testing the sound level of the HD video monitor
CAUTION
- For hearing protection, make sure the parent unit is more than 3 meters away from the baby unit. If you hear any high-pitched noise from the parent unit, move the parent unit further until the noise stops. You can also press – VOL on the parent unit to lower or mute the noise.

Tip
• Increase the parent unit speaker volume if you cannot hear the sounds transmitted from the baby unit.
Positioning the HD video monitor
CAUTION
- Keep the baby unit out of the reach of your baby. Never place or mount the baby unit inside the baby’s crib or playpen.
1. Place the baby unit more than 1 meter away from your baby.
2. Adjust the angle of the baby unit to aim at your baby.
3. To avoid causing high-pitched screeching noise from your HD video monitor:
• Make sure your baby unit and parent unit are more than 3 meters apart; OR
• Turn down the volume of your parent unit.
Auto software and firmware update
To ensure that your HD video monitor is always at its best performance, the parent unit will prompt a message and ask you to update its software and the baby unit’s firmware when there are new versions available.
- Follow the instructions on the parent unit screen to update your HD video monitor.
If you skip the updates, the parent unit and the baby unit will be updated automatically when the parent unit is powered off, and then powered on again.
Connect your HD video monitor with your home Wi-Fi network
- You must connect your video monitor to your secured home Wi-Fi network in order to receive the latest software and firmware updates. To set it up, go to
> Configure Wi-Fi.
Download app for mobile access
You can download the free MyVTech Baby 1080p mobile app and install it to a mobile device, then use your mobile device and the mobile app to monitor your areas remotely.
- Press MENU when the parent unit is idle.
- Go to
> Connect Mobile Phone. - Scan the QR code in the parent unit to download the app into your mobile device.
- Follow the instructions in the mobile app to set up and pair your baby unit to the mobile app.
Alternatively, you can download the mobile app from the App Store or Google Play store.
Install MyVTech Baby 1080p mobile app
- Browse the App Store
or the Google Play store
. - Search for the mobile app with the keyword “my tech baby 1080p“.
- Download and install the MyVTech Baby 1080p mobile app to your mobile device.
Scan the QR codes on the right to get the app.
![]() | |
| https://vttqr.tv/?q=1VP19 | https://vttqr.tv/?q=1VP18 |
NOTE
- Make sure your mobile device meets the minimum requirement for the mobile app.
Minimum requirement
The mobile app is compatible with:
- Android™ 5.0 or later; and
- iOS 8.0 or later.
After installing the mobile app, follow the instructions in the mobile app and parent unit to set up and pair your baby unit.
In your mobile device:
- Tap
to run the mobile app in your mobile device, and then create a camera account. - We recommend that you use common webmail services, such as Google Gmail for the registration of your camera account. Check your email (and Spam folder), and activate your new camera account via the email link, then sign in to your account.
- Follow the instructions in the mobile app to pair the camera. Tap + in the mobile app to get started.
TEST THE LOCATION FOR THE BABY UNIT
If you plan to install your baby unit in a designated location and use your home Wi-Fi network to connect your video monitor, you need to test which of your selected monitoring areas within the house have good Wi-Fi signal strength. After you have powered on your parent unit, you can use your parent unit’s Wi-Fi signal strength indicator to assist in checking. Once you have identified a suitable location, you can install your baby unit. Adjust the distance between your baby unit and the Wi-Fi router if needed.

Tip
- Depending on surroundings and obstructing factors, such as the effect distance and internal walls have on signal strength, you may experience reduced Wi-Fi signal. To improve the Wi-Fi signal strength, adjust the distance or direction of your parent unit. Check with your parent unit again.
Need help?
Driven by system updates, the software, online help topics, and online FAQs will be updated periodically.
For operations and guides to help you using your HD video monitor, and for latest information and supports, go and check the online help topics and online FAQs.
Use your smartphone or mobile device to access our online help.
- Go to https://phones.vtechcanada.com/manuals; OR Scan the QR code on the right. Launch the camera app or QR code scanner app on your smartphone or tablet. Hold the device’s camera up to the QR code and frame it. Tap the notification to trigger the redirection of the online help.
– If the QR code is not clearly displayed, adjust your camera’s focus by moving your device closer or further away until it is clear. - Search for the model – RM5764HD or RM5764-2HD.
You can also call our Customer Support at 1-888-211-2005 for help.
Mount the baby unit (optional)
NOTES
- Check for reception strength and baby unit angle before drilling the holes.
- The types of screws and anchors you need depend on the composition of the wall. You may need to purchase the screws and anchors separately to mount your baby units.
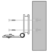
- Place the wall mount bracket on a wall and then use a pencil to mark two holes in parallel. Remove the wall mount bracket and drill two holes in the wall (7/32 inch drill bit).

- If you drill the holes into a stud, go to step 3.
• If you drill the holes into an object other than a stud, insert the wall anchors into the holes. Tap gently on the ends with a hammer until the wall anchors are flush with the wall.
- Align the wall mount bracket and screws with the holes in the wall as shown. Tighten the screw in the middle hole first, so that the wall mount bracket position is fixed. You can tighten the other screw in the top hole.
3. Insert the screws into the holes and tighten the screws until only 1/4 inch of the screws are exposed.
- Place the baby unit on the wall mount bracket, and then slide it forward until it locks into place. Connect the power adapter to the baby unit and a power supply not controlled by a wall switch.
4. Place the baby unit on the wall mount bracket, and then slide it forward until it locks into place. Align the holes on the wall mount bracket with the screws on the wall, and slide the wall mount bracket down until it locks into place.
- You can maximize your baby unit’s viewing angles by tilting the wall mount bracket.
Hold the baby unit, and then rotate the knob in an anticlockwise direction. This will loosen the joint of the wall mount bracket.
Tilt your baby unit up or down to adjust to your preferred angle. Then, rotate the knob in a clockwise direction to tighten the joint and secure the angle.
General product care
To keep this product working well and looking good, follow these guidelines:
- Avoid putting it near heating appliances and devices that generate electrical noise (for example, motors or fluorescent lamps).
- DO NOT expose it to direct sunlight or moisture.
- Avoid dropping the product or treating it roughly.
- Clean with a soft cloth.
- DO NOT immerse the parent unit and the baby unit in water and do not clean them under the tap.
- DO NOT use cleaning spray or liquid cleaners.
- Make sure the parent unit and the baby unit are dry before you connect them to the mains again.
Storage
When you are not going to use the HD video monitor for some time, store the parent unit, the baby unit and the adapters in a cool and dry place.
Frequently asked questions
Below are the questions most frequently asked about the HD video monitor.
| Can I turn off the parent unit screen but keep hearing sounds from the baby unit? | The parent unit’s LCD display will dim automatically after being inactive for some time. Press MENU/SELECT will turn the LCD display back on. |
| Why does the baby unit not respond normally? | Try the following (in the order listed) for a common cure: 1. Disconnect the power to the baby unit. 2. Wait a few minutes before connecting power back to the baby unit. 3. Reboot the parent unit. |
| Why is my screen in black and white? | The baby unit has a light sensor that measures the ambient light. When the ambient light is dim, such as during nighttime or in a dark room, the baby unit activates its infrared LEDs and displays the camera view in black and white. |
| Why does my baby unit show offline? Why is the connection lost every now and then? | The baby unit may lose the Internet connection. Check your network and the router setting. |
| Other electronic products may cause interference with your baby unit. Try installing your baby unit as far away from these electronic devices as possible | |
| Why don’t I hear a sound/Why can’t I hear my baby cry? | The parent unit speaker volume may be too low. Press VOL + to increase the volume. |
| You may have set a low sound sensitivity level. Set the sound sensitivity to a higher level. For details, go to www.vtechcanada.com for online help topics. |
Limited warranty
What does this limited warranty cover?
The manufacturer of this VTech Product warrants to the holder of a valid proof of purchase (“Consumer” or “you”) that the Product and all accessories provided in the sales package (“Product”) are free from defects in material and workmanship, pursuant to the following terms and conditions, when installed and used normally and in accordance with the Product operating instructions. This limited warranty extends only to the Consumer for Products purchased and used in the United States of America and Canada.
What will VTech do if the Product is not free from defects in materials and workmanship during the limited warranty period (“Materially Defective Product”)?
During the limited warranty period, VTech’s authorized service representative will repair or replace at VTech’s option, without charge, a Materially Defective Product. If we repair the Product, we may use new or refurbished replacement parts. If we choose to replace the Product, we may replace it with a new or refurbished Product of the same or similar design. We will retain defective parts, modules, or equipment. Repair or replacement of the Product, at VTech’s option, is your exclusive remedy. VTech will return the repaired or replacement Products to you in working condition. You should expect the repair or replacement to take approximately 30 days.
How long is the limited warranty period?
The limited warranty period for the Product extends for ONE (1) YEAR from the date of purchase. If VTech repairs or replaces a Materially Defective Product under the terms of this limited warranty, this limited warranty also applies to the repaired or replacement Product for a period of either (a) 90 days from the date the repaired or replacement Product is shipped to you or (b) the time remaining on the original one-year warranty; whichever is longer.
What is not covered by this limited warranty?
This limited warranty does not cover:
- The product that has been subjected to misuse, accident, shipping or other physical damage, improper installation, abnormal operation or handling, neglect, inundation, fire, water or another liquid intrusion; or
- The product that has been damaged due to repair, alteration, or modification by anyone other than an authorized service representative of VTech; or
- Product to the extent that the problem experienced is caused by signal conditions, network reliability, or cable or antenna systems; or
- Product to the extent that the problem is caused by use with non-VTech accessories; or
- Product whose warranty/quality stickers, product serial number plates, or electronic serial numbers have been removed, altered or rendered illegible; or
- Product purchased, used, serviced, or shipped for repair from outside the United States of America or Canada, or used for commercial or institutional purposes (including but not limited to Products used for rental purposes); or
- Product returned without valid proof of purchase (see item 2 on the following part); or
- Charges for installation or set up, adjustment of customer controls, and installation or repair of systems outside the unit.
How do you get warranty service?
To obtain warranty service in Canada, please visit our website at www.vtechcanada.com or call 1-888-211-2005.
NOTE: Before calling for service, please review the user’s manual – a check of the Product’s controls and features may save you a service call.
Except as provided by applicable law, you assume the risk of loss or damage during transit and transportation and are responsible for delivery or handling charges incurred in the transport of the Product(s) to the service location. VTech will return repaired or replaced Products under this limited warranty. Transportation, delivery or handling charges are prepaid. VTech assumes no risk for damage or loss of the Product in transit. If the Product failure is not covered by this limited warranty, or proof of purchase does not meet the terms of this limited warranty, VTech will notify you and will request that you authorize the cost of repair prior to any further repair activity. You must pay for the cost of repair and return shipping costs for the repair of Products that are not covered by this limited warranty.
What must you return with the Product to get warranty service?
- Return the entire original package and contents including the Product to the VTech service location along with a description of the malfunction or difficulty; and
- Include a “valid proof of purchase” (sales receipt) identifying the Product purchased (Product model) and the date of purchase or receipt; and
- Provide your name, complete and correct mailing address, and telephone number.
Other limitations
This warranty is the complete and exclusive agreement between you and VTech. It supersedes all other written or oral communications related to this Product. VTech provides no other warranties for this Product. The warranty exclusively describes all of VTech’s responsibilities regarding the Product. There are no other express warranties. No one is authorized to make modifications to this limited warranty and you should not rely on any such modification. State/Provincial Law Rights: This warranty gives you specific legal rights, and you may also have other rights, which vary from state to state or province to province.
Limitations: Implied warranties, including those of fitness for a particular purpose and merchantability (an unwritten warranty that the Product is fit for ordinary use), are limited to one year from the date of purchase. Some states/provinces do not allow limitations on how long an implied warranty lasts, so the above limitation may not apply to you. In no event shall VTech be liable for any indirect, special, incidental, consequential, or similar damages (including, but not limited to lost profits or revenue, inability to use the Product or other associated equipment, the cost of substitute equipment, and claims by third parties) resulting from the use of this product. Some states/provinces do not allow the exclusion or limitation of incidental or consequential damages, so the above limitation or exclusion may not apply to you.
Please retain your original sales receipt as proof of purchase.
TECHNICAL SPECIFICATION
| Frequency | Baby unit: 2412 – 2462 MHz |
| Channels | 11 |
| LCD | S” Color LCD (IPS 1280×720 pixels) |
| Nominal effective range | Maximum power allowed by FCC and IC. The actual operating range may vary according to environmental conditions at the time of use. |
| Power requirement | Parent unit/Baby unit power adapters: VTech, VTOSEUS05100 Rated output: SV DC, 1000mA. Parent unit battery: BP1763 (3.7V 2100mAh Lithium-ion battery) ZhongShan Tianmao battery Co. Ltd. |
CONFORMS TO
UL STD.
62368-1
CERTIFIED TO
CSA STD.
C22.2 NO.62368-1
Android are trademarks of Google Inc.
App Store is a trademark of Apple Inc., registered in the U.S. and other countries.
IOS is a trademark or registered trademark of Cisco in the U.S. and other countries and is used under license.
and Google Play
![]()
Specifications are subject to change without notice.
© 2020 VTech Technologies Canada Ltd. All rights reserved.
08/20. RM5764-XHD_CA_QSG_V3.
References
Wireless Connections and Bluetooth Security Tips | Federal Communications Commission
Before You Connect a New Computer to the Internet | CISA
VTech Canada Official Site | Best Home Office & Business Phones
VTech Cordless Phones Official Site | Best Home Office & Business Phones
Security | Wi-Fi Alliance
VTech Cordless Phones Official Site | Best Home Office & Business Phones
VTech Cordless Phones Official Site | Best Home Office & Business Phones
VTech Cordless Phones Official Site | Best Home Office & Business Phones
How To Secure Your Home Security Cameras | Consumer Advice



LINK LED light
Parent unit icons



2. Adjust the angle of the baby unit to aim at your baby.
3. To avoid causing high-pitched screeching noise from your HD video monitor:




3. Insert the screws into the holes and tighten the screws until only 1/4 inch of the screws are exposed.
4. Place the baby unit on the wall mount bracket, and then slide it forward until it locks into place. Align the holes on the wall mount bracket with the screws on the wall, and slide the wall mount bracket down until it locks into place.







![Vtech 5-inch Smart Wi-fi 1080p Pan And Tilt Monitor User Manual [rm5764hd, Rm5764-2hd] Vtech 5-inch Smart Wi-fi 1080p Pan And Tilt Monitor User Manual [rm5764hd, Rm5764-2hd]](https://static-data1.manualsee.com/1/img/219/58911/2021/02/VTech-5-inch-Smart-Wi-Fi-1080p-Pan-and-Tilt-Monitor-User-Manual-RM5764HD-RM5764-2HD.jpg)



![Vtech 5-inch Smart Wi-fi 1080p Pan And Tilt Monitor [rm5764hd, Rm5764-2hd] User Manual Vtech 5-inch Smart Wi-fi 1080p Pan And Tilt Monitor [rm5764hd, Rm5764-2hd] User Manual](https://static-data1.manualsee.com/1/img/449/18532/2020/12/Google-play-store-download.png)





![Vtech 7-inch Smart Wi-fi 1080p Pan And Tilt Monitor [rm7764hd, Rm7764-2hd] User Manual Vtech 7-inch Smart Wi-fi 1080p Pan And Tilt Monitor [rm7764hd, Rm7764-2hd] User Manual](https://static-data1.manualsee.com/1/img/325/59817/2021/02/VTech-7-inch-Smart-Wi-Fi-1080p-Pan-and-Tilt-Monitor-RM7764HD-RM7764-2HD-User-Manual.jpg)


