Ubique Group Mid Back Swivel Ergonomic Task Office Chair Instruction Manual
ASSEMBLY INSTRUCTIONS
Before You Begin:
Please identify all component parts and hardware pieces required before you begin. Carefully remove all of the components from the packaging and set aside for assembly. Assemble on a soft surface to prevent scratching during assembly.
Caution:
Tighten all components securely before use. Failure to do so may result in personal injury.
DO NOT use any sharp objects to open plastic wrapped components as damage to product or componenets may result.
Warning:
CHOKING HAZARD – Small Parts. Adult Assembly Required.
Injury may result from tipping furniture. You must install the Tipping Restraint Hardware with the unit to prevent the unit from tipping and causing any accidental injury, instability, death or damage. The tipping restraint is intended only as a safety measure, it is not a substitute for proper adult supervision.
This tipping restraint is not an earthquake restraint. If you wish to add the extra security of earthquake restraints, they must be purchased and installed separately.
Serious or fatal crushing injuries can occur from furniture tipping over. To prevent furniture from tipping over it must be permanently fixed to the wall. Fixing devices for the wall are not included since different wall materials require different types of fixing devices. Use fixing devices suitable for the walls in your home. Failure to detach this restraint before moving furniture may resuilt in injury or damage.
DO NOT ALLOW CHILDREN TO CLIMB ON FURNITURE![]()
Congratulations!
You just purchased a piece of happiness. At Ubique Group, we believe you can transform your spaces into the most inspired places with furnishings that are the perfect combination of form, function and style. As original innovators of online furniture retail, we offer the best selection of popular, contemporary styles at cool, comfortable prices. And, with decades of proven shipping and packaging expertise, our Extended Quality Checklist ensures a rewarding, hassle-free experience time and time again. It’s just what you need to bring your vision to life.
Thank you & Enjoy!!
youey fuiendly af Uhique Gy

LIKE IT!
Share it on social & Tell a friend! #Spaces2Plac
LIKE IT!
Write an online product review where purchased![]()
NOT SURE?
Let us help! Contact our customer support.
Have a question, concern or simply need a hand? Your satisfaction is our top priority. Contact : us at 866-552-2810 or [email protected]. We’re here to help!
Browse Our Branded Collections
There’s something for everyone inside our family of brands.
Visit www.theubiquegroup.com/brands or scan this code.
We pride ourselves on providing an excellent customer experience starting right here with your package and instructions. Everything you need should be right where you need it, so you can get to enjoying your new item ASAP. But despite our best efforts, sometimes “slips happen.” If you need any support, from replacement parts to recommendations, please reach out to our wonderful customer support team at 866-552- 2810 or [email protected]. We’re here to help!
EVERY UBIQUE GROUP PRODUCT

Quality & Durability Tested
Packaged with Care
Shipped from our U.S. Facility
Designed for Easy Assembly
Ethically Sourced
Please visit https://www.theubiquegroup.com/warranty for complete warranty information.
Read this manual before using this product. Failure to follow the instructions and safety precautions in this manual can result in serious injury or death. Keep this manual in a safe location for future reference.
Hardware:
| Part A | ![]() | Bolt M6x25mm | QTY: 4 | ||||
| Part B | Bolt M6x20mm | QTY: 4 | PartE | ![]() | Allen Wrench ~ | QTY: 1 | |
| Part C | Bolt M6x40m | QTY: 4 | PartF | Cap Cover | Qry: 2 | ||
| Part D | Flat Washer M6~ | QTY: 4 | PartG | Cap Cover | Qry: 2 | ||
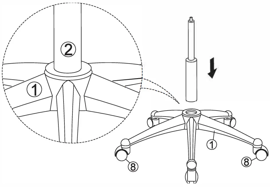
- Part 1: Base x1

- Part 2: Cylinder Column

- Part 3: Control Mechanism x

- Part 4: Seat x1

- Part 5: Backrest x1

- Part 6: Left Arm x1

- Part 7: Right Arm x1

- Part 8: Caster x5

- STEP 1:

- STEP 2:

- STEP 3: NOTE: DO NOT COMPLETELY TIGHTEN SCREWS

- STEP 4: NOTE: DO NOT COMPLETELY TIGHTEN SCREWS

- STEP 5:

- STEP 6:

- STEP 7: TIGHTEN ALL BOLTS

Quality and Safety Guidelines
- Please follow the static and dynamic weight capacity limits provided on this item. If you are unsure of the
weight capacities for this product, email us at [email protected] or call 866-552-2810. - Please use this item on a stable, level surface only. All casters should contact the flooring surface when in use. Do not use this item if any instability is detected.
- For replacement parts, please email us at [email protected] or call 866-552-2810.
- This item is intended for sitting only, do not climb or stand on this item.
- This item is intended for indoor use only.
- Store indoors away from moisture. For additional storage instructions, please email us at [email protected] or call 866-552-2810.
- Please visit www.theubiquegroup.com for our product warranty details or email us at [email protected] or call 866-552-2810.
- Please follow the static and dynamic weight capacity limits provided on this item. If you are unsure of the






























