Enlighten
HD Amplified Antenna
User Manual

YOU MUST PERFORM A CHANNEL SCAN AFTER INSTALLATION.
PLEASE REFER TO YOUR TV MANUAL FOR SCAN INSTRUCTIONS OR CALL TV MANUFACTURER.
Please call before CALL returning to store
Questions? Contact our U.S.-based Consumer Care at 1-800-654-8483 between 7AM-8PM, M-F, Central Time.
See reverse for easy-to-follow instructions and exclusive deals.
Connect
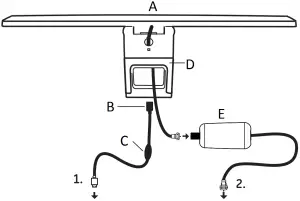
- Connect Micro USB cable to antenna bracket and insert the USB-A connector into the TV’s USB-A port or a USB-A power adapter (not included).
- Connect antenna to the amplifier and then the amplifier to TV’s coax cable jack.


A Antenna
B Micro USB
C Bias lighting ON/OFF switch
D 6500K bias lighting feature
E Amplifier
1. USB
2. Coax
Connect power supply to amplifier and the power supply into wall outlet.

Use provided hook-and-loop tape to place ON/OFF switch in desired location.

Place
Place antenna on top of TV.

![]()
Best TV placement for enhanced viewing with PureBias™ lighting

Tilt and full-motion TV mounts

Lighting feature does not work with fixed- or flush-mounted TVs
PureBias™ Lighting Operation
To operate the bias lighting feature, simply press the ON/OFF switch located on the antenna’s USB cord.

At 6500K, the light produced by this antenna is scientifically proven to reduce eye strain and enhance picture quality by reflecting light off the wall behind your TV, providing an attractive soft white glow.
Perform TV channel scan.

- Open the TV’s setup or settings menu.
- Select scan, autotune, channel search or channel scan.
- Wait for the TV to complete the channel scan.
Tip 1: Consult the TV manual or contact the TV’s manufacturer for detailed instructions.
Tip 2: Rescan for channels anytime you move the antenna.
Helpful Antenna Tips
Maximize the number of channels by running a TV channel scan after installation and anytime you relocate your TV. Refer to your TV’s instruction manual, if necessary.
Position the antenna on top of the TV for best performance.
Visit www.antennaweb.org or www.dtv.gov to determine the available television stations and broadcast tower locations in your area.
QUESTIONS? ISSUES?
CALL OUR U.S.-BASED EXPERTS AT
1-800-654-8483
46003 V1 06/20
MADE IN CHINA
GE is a trademark of General Electric Company andis under license by Jasco Products Company LLC, 10 E. Memorial Rd., Oklahoma City, OK 73114.
This Jasco product comes with a limited-lifetime warranty.
Visit www.byjasco.com for warranty details.
Questions? Contact our U.S.-based Consumer Care at 1-800-654-8483 between 7AM-8PM, M-F, Central Time.
Thank you for your purchase!
Instructions made easy
Read instructions or watch easy-to-follow video. Scan code or visit byjasco.com/46003i
Exclusive deals
For deals, to register your purchase and to tell us how we’re doing, simply scan the code or visit byjasco.com/deals



Enhance your home
entertainment experience at byjasco.com/ce
Like our product?
Leave a review on your favorite retailer website or amazon.com
Having problems?
Let us know how we can help.
Call 1-800-654-8483 between 7AM-8PM, M-F, Central Time.




















