EMERGE 58224 Vortex Bonded Leather Gaming Chair

GET READY FOR PEAK PERFORMANCE
Your Emerge™ chair is almost ready for action. Simply assemble following the directions on Page 4 and you’ll be ready in no time.
Got questions? We’ve got you.
Call our product support experts 8.00am–8.00pm EST (Monday-Friday) 1-800-270-9570
Call our in-home assembly experts (additional fees apply)
9.00am — 7.00pm EST (Monday-Friday)
9.00am — 5.00pm EST (Saturday)
1-866-826-6622
PRODUCTS THAT EMPOWER
With rigorous performance testing and next-level features that can be customized to complement your personal playing style, Emerge helps you up your game. Made to last and impress, each chair is designed and vetted to meet our highest standards — and yours.
Ready. Set. Game on.
Elevate Your Game.
High performance players need gear that helps them transcend to the next level. Emerge is specially designed with your unique gaming needs in mind. With advanced features that can easily be fine-tuned to your preferences, you’ll soon be ready to take on your next challenge. Get ready to be in a league of your own.
PRODUCT FEATURES
Seat Height Adjustment
Seat height adjusts to assure correct posture and relieves stress on back, thighs and legs.
Upright Tilt Lock
Simple locking mechanism fixed seat in upright position to assure healthy posture.
Tilt Tension
Easy adjustment of chair flexibility avoids heavy pushing and relaxes muscles.
Pivoting Arms
Arms adjust up and down to ease pressure on neck and support shoulders.
FEATURES INSTRUCTIONS
Seat Height Adjustment
- Pull up on the lever located on the right side of the seat.
- Lower or raise the seat to your desired height, then release the lever to lock the seat height into position.

Tilt Tension
- Grasp the knob under the front center of the seat.
- For firmer/stiffer — twist counter clockwise.
- For softer/looser — twist clockwise.

Upright Tilt Lock
- Locate the handle underneath the right side of the seat.
- Pulling the handle all the way out allows the chair to tilt.
- Pushing the handle in when the chair is in the fully upright position locks the chair in place.

Pivoting Arms
- Arms can be pivoted out of the way so that the chair can be pushed under a desk.
- Pull arms down for use.

INCLUDED PARTS
|
|
|
|
|
|
| |
|
|
|
|
Tools Provided
|
Chair bolts, screws and knobs may loosen during use. Please tighten your chair’s hardware each month.
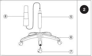
ASSEMBLY INSTRUCTIONS
Each piece of hardware needed for each step is located in the corresponding segment in your Easy Parts Pack.








Behold, the finished product.

WARRANTY
Emerge™ warrants to the original purchaser of this Emerge™ Brand Chair against defects in design, assembly, material, or workmanship for 7 years from the original date of purchase. In the event of a defect in the design, assembly, materials or workmanship of this product within 7 years from the original date of purchase, Emerge will replace any such defective part. Parts included under this warranty are nonmoving metal components, chair frame, pneumatic cylinder, upholstery and all other parts. To claim your replacement parts, contact product support at 1-800-270-9570. Original receipt or proof of purchase is required to obtain replacement parts. This warranty is based on up to 10 hours of continual use within a 24-hour period for users weighing up to 275 lb. (124 kgs).
Claims under this limited warranty or any implied warranty shall be limited to replacement of 100% of the chair or refund of purchase price at Emerges’ sole option.
This warranty does not apply to normal wear or damage from misuse, abuse, improper storage or handling, installation, accident, repair or alteration or other circumstances not directly attributable to manufacturing or material defects.
THIS WARRANTY IS EXCLUSIVE AND IN LIEU OF ALL OTHERS, WHETHER ORAL OR WRITTEN, EXPRESS OR IMPLIED. EMERGE SPECIFICALLY DISCLAIMS ANY AND ALL IMPLIED WARRANTIES, INCLUDING WITHOUT LIMITATION, WARRANTIES OF MERCHANTABILITY AND FITNESS FOR A PARTICULAR PURPOSE. IN NO EVENT WILL EMERGE BE LIABLE FOR ANY INCIDENTAL, DIRECT, INDIRECT, SPECIAL, PUNITIVE, OR CONSEQUENTIAL DAMAGES (SUCH AS BUT NOT LIMITED TO, DAMAGES FOR LOSS OF PROFITS, BUSINESS, SAVINGS, DATA OR RECORDS) RELATED TO THIS PRODUCT.
This warranty gives you specific legal rights, and you may also have other rights that vary depending upon the state, province, territory or country. Some states, provinces and territories do not allow the exclusion or limitation of incidental or consequential damages or limitation on how long an implied warranty lasts.
Except as stated herein, no other warranties shall apply
Patents/Brevets/Patentes
EU/UE 000656616-0001
Canada/Canada/Canadá
CA-118893
IN-HOME ASSEMBLY SERVICES 1-866-826-6622
PRODUCT SUPPORT 1-800-270-9570




① Back (x 1)
Ⓐ Screw (x4)
Ⓑ Screw (x8)
Ⓒ Cap (x8)
② Seat (x 1)
③ Arm Rest (x 2)
⑧ Telescopic Cover (x 1)
④ Seat Plate (x 1)
⑥ Base (x 1)
⑦ Caster (x 5)
Ⓓ Allen Wrench (x1)
















